从艾灸液到润寿堂艾眼液,起底济南如意堂旗下系列产品的宣传之路

首页 > 社会关注
编辑:广东反传销救助中心 日期:2021-05-11T16:39:16 人气:18

近年来,随着生活水平的提高,电子产品得到了广泛使用,在给生活带来便利的同时,一些过度用眼、不卫生的用眼习惯,使得各类眼科疾病发病率不断呈上升趋势。有报告指出,我国90%的人经常性患有眼疲劳,50%以上的人视力不良,到2020年,我国近视人数将达到7亿,失明人数将超过2000万,其中,白内障、青光眼和黄斑变性被世界卫生组织认定为三大致盲性疾病。

在这样的大环境下,护眼行业成为了一块香饽饽,许多公司开始纷纷涉足这个领域,由此衍生了一系列针对眼疾的品牌,济南如意堂旗下的润寿堂就是其一。号称“一分钟涂抹,两分钟见效”的润寿堂艾眼液是否可信?公司的行政处罚是怎么回事?系列产品查无备案又是真是假?

公司资质,诸多风险

据了解,润寿堂艾眼液是济南如意堂医药科技有限公司(以下简称“济南如意堂”)旗下的产品,该公司于2011年9月28日成立,注册基本200万元,实缴50万元,是一家以膏药、理疗贴为主的医药科技类公司,法定代表人刘新华,监事汪云峰。

值得一提的是,这家济南如意堂医药科技有限公司在2019年5月,因未按照备案的产品技术要求组织生产的违法行为,受到当地市场监督管理局作出的没收相关产品(冷敷滚珠器)并罚款两万元的行政处罚。

另外,我们发现在刘新华和汪云峰名下有着多家关联公司,而这些公司都存在一定的问题。

由刘新华担任法人的黄石如意堂药业有限公司曾因商业贿赂不正当竞争纠纷案由被起诉,由他担任监事的四川国色药业有限公司在双随机抽查中发现风险信号:未按规定公示应当公示的信息。

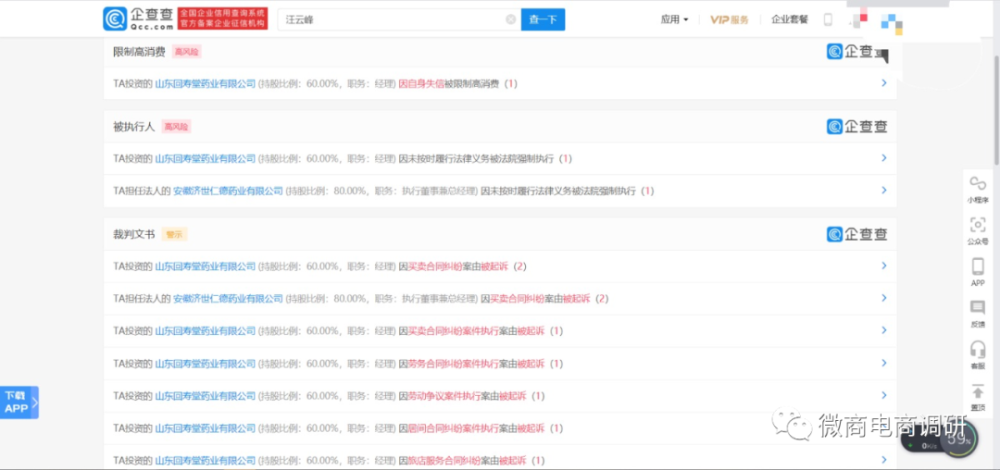
由汪云峰担任法人的安徽济世仁德药业有限公司曾因买卖合同纠纷被起诉,同时该公司因未按时履行法律义务被法院强制执行,后又因生产说明书、标签不符合《医疗器械监督管理条例》规定的医疗器械,受到了行政处罚。

由汪云峰投资的山东回寿堂药业有限公司曾多次因买卖合同纠纷、劳务合同纠纷、居间合同纠纷、旅店服务合同纠纷等被起诉,该公司同样因未按时履行法律义务被法院强制执行,而汪云峰本人也因关联企业失信被限制高消费。

除此之外我们发现,山东回寿堂药业有限公司还有产品召回信息:召回该公司2020年4月18日生产的20200409批次KN95防护口罩,涉及数量1550只,据悉,这次召回是因为生产过程中的原料熔喷布不达标,可能会影响防护效果,影响使用者的人身安全。

系列产品,宣传功效

了解完公司的相关信息,接下来我们将目光重新放在济南如意堂旗下的系列产品身上,据了解,公司目前的产品主要有艾灸液、润寿堂艾眼液以及新品艾衣保。

其一,艾灸液

据悉,艾灸液原来叫做如意堂艾灸液,后来升级叫做昱医堂艾灸液,产品宣扬包含艾草、红花、透骨草、九里香等数十种中草植物提取液,能够自行发热,快速打开毛细血孔,使液体快速渗透皮下组织,一分钟涂抹,两到三分钟渗透直达病灶,效果立竿见影。

在产品的宣传资料上,还明确显示了昱医堂艾灸液的适用范围:针对颈部的颈椎病、颈椎增生、颈椎间盘突出;针对肩部的肩周炎、肩关节炎、肩肌劳损;针对手臂的腱鞘炎、网球肘;针对腰部的腰间盘突出、腰部风湿;针对膝盖的滑膜炎、老寒腿、风湿关节炎,甚至对乳腺结节、乳腺增生、宫寒等其他疾病也有奇效,可以说是包治百病。

与此同时,还有诸多经销商发出来的患者使用分享,无一不是在佐证这款“灵丹妙药”的神奇功效:原来严重的半月板损伤加骨刺调理,在家疼的下床走路都费劲,用了昱医堂艾灸液,已经消肿了,疼痛也缓解了。

用昱医堂艾灸液调理风寒感冒,将产品涂抹整个前胸后背,不吃药不打针就好了。

还有患者腰椎管狭窄压迫右腿,疼的不能上楼,使用五瓶艾灸液就不疼了。

其二,润寿堂艾眼液

至于润寿堂艾眼液,顾名思义,主要用于眼部,该产品宣称能够调节眼内血液循环,排出眼内垃圾毒素,净化眼球,30秒解决眼干、涩、酸、痒、痛等,效果持久,可以有效缓解因电子设备等外界问题带来的视力疲劳、视力下降、黑眼圈等多种问题,同时对假性近视、迎风流泪、老花眼、青光眼、飞蚊症等眼部疾病也有效果。

同样的,针对这款艾眼液也有许多案例:青光眼患者涂抹艾眼液四瓶后,眼睛越来越好了,三百度的眼镜能摘了,字也能看清了。

其三,艾衣保

艾衣保与前面两款产品不同,主要用于日常洗衣,又叫做懒人洗衣颗粒,使用时最好用30度的温水,将艾衣保倒进水里化开,然后把衣物放进去浸泡40分钟左右,随后捞起来即可,无需手洗,简单方便。

同时据宣传资料显示,这款产品无荧光剂、无磷无碱、不伤衣服不伤手,在清洁衣物的同时还能够消毒抑菌,除螨率高达99.99%,让贴身衣物更健康,是每个家庭的必备品。

以上就是济南如意堂旗下的三款产品,其中最热门也备受外界争议的便是艾灸液和润寿堂艾眼液,那么这两款产品在前文中所宣扬的系列功效靠谱吗?产品的真实资质又是怎样的?

在下篇文章中,我们将一一解答这些问题,并对公司推出的多级代理制度进行解读,请继续关注微商电商调研。

从艾灸液到润寿堂艾眼液,起底济南如意堂旗下系列产品的宣传之路:http://www.fcxcn.cn/shehuiguanzhu/2465.html
反传销:www.fcxcn.cn 反传销柔儿团队主要负责寻人,上门反洗脑,现场解救劝说。团队长期在北海现场解救1040阳光工程,资本运作传销受害者,以及全国各地协助家属寻找北派传销的孩子(因传销而常年未回家者,被控制人身自由的人群),反传区域涉及:广西,广东,深圳,福建,江西,湖南,香港,浙江.附近有需要求助可与我们联系,孙老师13712257511
0