“调查”云范商城号称有国企背书?法院:中国蓝田与农业部脱钩属于既成事实

首页 > 社会关注
编辑:广东反传销救助中心 日期:2021-05-16T9:16:4 人气:59

在上篇报道中,我们了解到了云范商城的模式该如何解读,参与者能从中赚到哪些奖励,在本篇报道中,我们将重点关注的是云范商城号称隶属农业部的说法是否真实可信?

央企背书?层层关系

云范商城号称其隶属农业部,那么事实果真如此吗?

经查,云范电子商务(黑龙江)有限公司的法人股东是云巢国际供应链(黑龙江)有限公司(2021年3月9月,该公司才正式投资云范公司),投资云巢国际公司的则有两位股东,其一是黑龙江国舟进出口贸易有限公司。继续深究,黑龙江国舟公司的独资股东是黑龙江国梵进出口贸易有限公司,而青诚(辽宁)实业有限公司又是黑龙江国梵公司的股东。青诚(辽宁)实业有限公司的独资股东是裕东青诚(云南)实业有限公司,后者的企业法人是蓝田新能源有限公司,该公司的企业法人是中国蓝田总公司,该公司的法定代表人名叫瞿兆玉,据多家企业查询平台显示,农业部为中国蓝田总公司的股东。

(图片来源:推广人员提供)

现如今,与中国蓝田总公司或多或少有点关系的企业一口气恐怕是数不过来的。据统计,从2018年下半年开始,陆续有数百家民企直接或间接挂靠在中国蓝田名下。半年之后,在层层穿透之下,中国蓝田持股比例超过5%及以上的企业,一共有744家(截止2019年2月)。到了2021年5月,据企查查显示,此时,中国蓝田总公司所控制的企业多达1566家,间接持股企业也有1000家之多。

可见,对于中国蓝田来说,云范商城只不过是大海里的一朵浪花,而如果每一家像云范商城这样的小微企业都要自称其有农业部为其背书,那么后果就是在日后和蓝田集团有所牵扯的企业将越来越多。曾有知情人士在“网易号外”的报道中指出,多家民企直接或间接地挂靠在中国蓝田名下,就是为了将自己包装成有“农业部背景”的公司,而后者“就是为了收取挂靠的费用”。在他看来,民企挂靠国企,是因为国企的公信力要比私企好很多,“也是为了在外面融资,或者比如发基金,国企也比民企好发的多”。另有市场人士透露,一般挂靠央企,根据挂靠级别的不同(子公司、孙公司等),收费也不等,一级至三级的挂靠费通常会在百万元以上。

关于云范商城和中国蓝田的关系讲到这里才算告一段落,接下来要深究的就是中国蓝田总公司和农业部有着怎样的牵连了。

是否脱钩,法院看法

据蓝田官网显示,中国蓝田总公司成立于1989年3月6日,是一家以服务三农、资产经营管理、农业科技综合开发的国有经营试点单位,是中国农业农村领域大型全民所有制综合性企业集团公司。

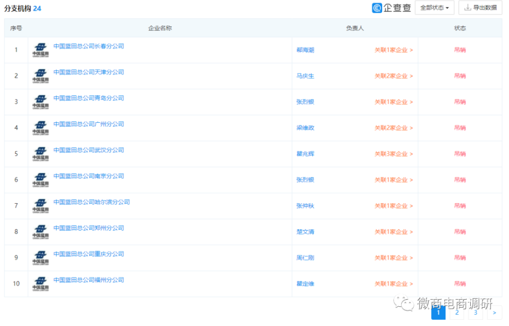
据企查查显示,中国蓝田目前共有24家分支机构,其中23家都已处于吊销或注销的经营状态。

农业部和中国蓝田的故事要从中国蓝田的前身——中农物资公司时期开始说起,1997年11月20日,农业部指出,“经部研究决定,将物资公司(即中农物资公司)的全部资产、人员等划转蓝田股份公司,法定出资人变更为蓝田股份公司,划转后物资公司为蓝田股份公司的全资子公司。次年,物资公司改名为中国蓝田。

1999年3月,根据国务院脱钩办规定,中国蓝田、蓝田股份与农业部脱钩。

(图片来源网络)

2000年12月18日,农业部办公厅在发给国家工商总局的《关于中国农业物资总公司与我部脱钩情况的函》指出,“我部原直属企业中国农业物资供销总公司于1997年11月作为全资子公司划归沈阳蓝田股份有限公司,已完成与我部的脱钩工作。”原中央党政机关非金融类企业脱钩工作小组出具的《关于农业部所持股权处理意见的批复》中记载:“同意农业部所持沈阳蓝田股份有限公司的18.86%的股权,作为国家股无偿划转给湖北洪福水产股份有限公司。”

不过直到二十多年过去后的2021年5月,关于中国蓝田的工商注册信息依然显示其是由农业部控股的,这是怎么回事?中国蓝田不是和农业部脱钩了吗?

对于未能脱钩的原因,中国蓝田方面在2008年表示称:农业部将所持蓝田股份公司18.86%的国家股无偿划转给湖北洪福水产股份有限公司,也就是转给了湖北省国资委……几年前就向湖北国资委提出改制申请,但由于近几年湖北洪福水产股份有限公司经营不善、连年亏损,也在进行重组和改制;加之2002年蓝田股份因涉嫌虚假财务报告受到有关部门调查(已结案),中国蓝田受到牵连,致使该项工作迟迟没能顺利开展。目前我公司正抓紧清产核资,待洪福水产重组改制完成后,开始中国蓝田总公司的改制工作,力争一年内完成。

到了2014年,关于未能完成脱钩的原因,中国蓝田又有了新的说法:中国蓝田公司包括下属分公司仍有100多名在职员工和离退休老同志亟待安置和解决,公司债权债务需要解决,部分过往资产需要清理处置,公司的生产经营活动正在逐步恢复。中国蓝田表示,一直在与农业部就蓝田公司改制过程中的诸多问题进行交涉,但因情况复杂,时间跨度长,人员变动大,始终没有达成共识,仍在寻找解决办法。

那么,只要中国蓝田一直不去办理工商信息变更,就可以永远不和农业部脱钩了吗?答案当然是否定的。

据《中国蓝田总公司与中国证券监督管理委员会等二审行政判决书》显示,根据资料,可以认定物资公司先由原农业部划转至蓝田股份,后更名为中国蓝田总公司,再由原农业部将所持股份划转给湖北洪福水产股份有限公司,从而与农业农村部彻底脱钩的过程。北京市第二中级人民法院认为,中国蓝田总公司未主动、及时的办理工商注册信息变更登记,并不能否认其与农业农村部脱钩的事实。

综上所述,中国蓝田总公司与农业部脱钩属于既成事实,现如今,和中国蓝田经过层层穿透还相隔“十万八千里”的云范商城居然还自称隶属农业部,实在是太过滑稽。至于公众号“云范商城”所说的“咱们云范是农业部控股”的说法,更是大有偷天换日的意味。

蓝田公司,问题重重

说到中国蓝田,自然不得不提到该公司的法定代表人瞿兆玉。

而说到瞿兆玉,令其因财务造假而入狱两年的“蓝田事件”也无法避而不谈。1996年6月18日,农业部将3000万股上市额度给了蓝田,蓝田在上交所挂牌交易。蓝田股份上市以后,总资产规模从上市前的2.66亿元一度发展到2000年末的28.38亿元,增长了10倍。“蓝田神话”的称号由此而来,其股也被称作是“中国农业第一股”。

但好景不长,2001年12月,学者刘姝威在题为《应立即停止对蓝田股份发放贷款》的文章中对蓝田的财务报告进行了分析,其得出的结论是:蓝田在一年内难以偿还流动债务,有1.27亿元的短期债务无法偿还。于是在2002年1月,因涉嫌提供虚假财务信息,瞿兆玉的继任者、蓝田董事长保田等10名公司管理人员被拘传,而此前改任中国蓝田总公司总裁的瞿兆玉也最终入狱服刑。

2008年,瞿兆玉又因单位行贿罪被判3年有期徒刑缓刑4年,将近10年后,2017年的他又因“涉黑”遭公安机关拘留,并被检察机关以寻衅滋事罪提起公诉,不过,这些事件都未能动摇瞿兆玉至今仍在中国蓝田担任法定代表人。

2017年8月,人民检察院案件信息公开网显示:洪湖市人民检察院依法对犯罪嫌疑人瞿兆玉、邓金波、陆小健等人以寻衅滋事罪向洪湖市人民法院提起公诉。2017年12月,洪湖市人民政府在其发布的洪湖市公安局2017年工作总结中表示,先后破获“3.10”瞿兆玉涉黑涉恶案等案件15起。

那么在2017年3月10日究竟发生了什么,据《湖北洪湖生态农业股份有限公司关于公司权益长期受到黑恶势力侵害情况的公告》显示,2017年3月10日晚11时许,公司所属文泉府岛捕捞队及保安人员共计17人在入睡情况下,突遭10余名手持镰刀、钢管、铁棍等凶器的歹徒破门而入,歹徒持凶器对公司驻守人员四肢、腰背及生殖器官等要害部位进行殴打,抢走职工手机18台,价值约合人民币6万元,并恐吓公司驻守人员不许再到此地来。整个过程组织有序,手法凶狠,持续约20分钟,导致公司驻守人员均受重伤。行凶完成后,歹徒跳上两艘非法快艇逃窜。案发后,公司立即向当地警方报案,目前案件正在调查中,伤者已送往医院进行救治。“3.10打砸抢”事件性质之恶劣程度前所未有,不仅严重侵害了公司的合法权益,并且对公司员工的基本人身安全造成重大伤害,同时还波及公司管理团队及全体员工,导致人心浮动,捕捞工作完全停止,正常的生产经营工作也陷入全面停滞。

现如今,不光是瞿兆玉本人已遭到了限制高消费,连中国蓝田总公司也已沦为失信被执行人。据企查查显示,该公司的自身风险信息多达304条,关联风险信息则累计到了785条。

后 记

关于云范商城的推广人员们所极力推崇的“拼团模式”,事实上,在该商城横空出世之前,就已有不少主打拼团概念的平台抛头露面,比如“太极古芳”,微商电商调研此前就曾在《社交电商炒得火热,太极商圈与万一乐购缘何成为不少人眼中的“香饽饽”?》中有所提及,至于同样以拼团为模式卖点的友盟云商、自称省国资委旗下的茶交所、唐古拉优选拼团、幸运拼Lucky拼团等等项目或平台,都已遭到不少反传自媒体的曝光,显然,在现阶段,拼团模式要想得到长期、稳定的发展,还有很长一段路要走。

至于打着“购物有云范,买啥都有范”旗号的云范商城在今后会如何发展?对此,微商电商调研将继续保持关注。

“调查”云范商城号称有国企背书?法院:中国蓝田与农业部脱钩属于既成事实:http://www.fcxcn.cn/shehuiguanzhu/2484.html
反传销:www.fcxcn.cn 反传销柔儿团队主要负责寻人,上门反洗脑,现场解救劝说。团队长期在北海现场解救1040阳光工程,资本运作传销受害者,以及全国各地协助家属寻找北派传销的孩子(因传销而常年未回家者,被控制人身自由的人群),反传区域涉及:广西,广东,深圳,福建,江西,湖南,香港,浙江.附近有需要求助可与我们联系,孙老师13712257511
0