这个是我们亲手调理的肝癌晚期的一个病例:喝了长生露4-5天说话就不喘粗气了,也能吃下东西了,喝了8天忍不住去医院检查,结果惊讶到所有医生,肿瘤居然少了一公分。
这是前不久一位求助者发来其母亲痴迷长生露经常讲到的案列。
然而,长生露的“功效”不止于此。
宫颈癌、糖尿病、心绞痛、脑梗瘫痪等等,只有想不到没有“长生露”做不到的。
因“包治百病”多次上电视台
近日,佛山电视台《小强热线》报道,长生露销售称该产品植物人喝了都能醒。
事情是这样的,最近佛山禅城的李先生发现,患有“肺气肿”、“高血压”等疾病的外婆都不回家吃饭了。原来,老人近几个月痴迷一款名叫长生露的“保健品”,甚至连以往服的药都断了,身体状态也每况愈下。据销售该产品的养生店店员称,有植物人服用这款“药”后都能苏醒。但执法人员发现,该产品明细上清楚写着“风味饮料”,店员也无法提供进货单据。目前,该养生馆被勒令接受调查。
而这也不是长生露第一次“上电视台”了。
今年2月份,湖南芒果都市频道也做过一期报道,家住湘潭的郭先生发觉,家中身患肠癌的老父亲参加一场健康讲座后,拒绝了医院的治疗,转而沉迷于一款名为“长生露”的口服液。在“长生露”的宣传视频里,这款产品被包装成了“包治百病”的神药。
网友评论
“人老了,就想身体健康,活的时间长点,孩子又不陪伴,所以这样简单的骗局特别容易上当,一定要严厉打击。”
“这种骗局20多年了,为什么还不对商业欺诈立法入刑?经济发展不能以牺牲人文法治为代价。”
也有网友质疑:“如果喝保健药就能让植物人醒来,那还要医生做什么?
“这么牛的产品,咋不去申请诺比尔医学奖呢?”
△上述视频截图
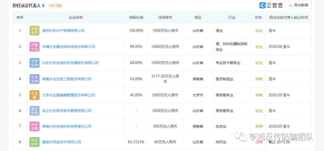
长生露董事长陈聚宝“劣迹斑斑”
上述视频中展示的包装盒上写到,长生露是由中健长生露生物科技股份有限公司生产,总经销商为北京长生露健康管理股份有限公司。据了解,长生露的生产企业不止一家,之前还有包装上显示为山东长彤生物科技发展股份有限公司。
企查查显示,这些公司法定代表人均为陈聚宝。陈聚宝有10家关联公司,担任法定代表人的就有八家。

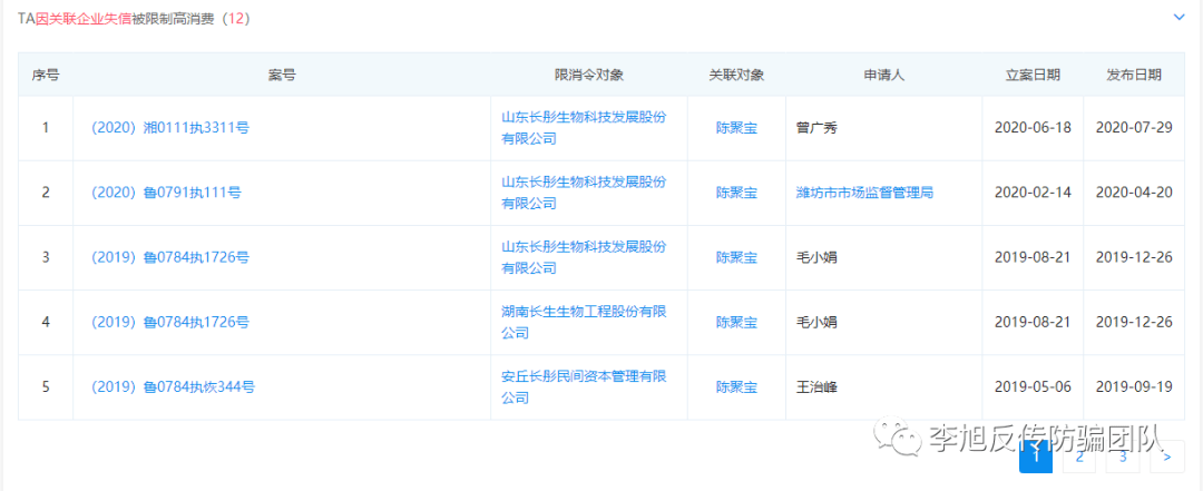
其中,山东长彤生物科技发展有限公司及湖南长生生物工程股份有限公司、安丘长彤民间资本管理有限公司,三家企业都因失信被限制高消费。



疯狂拉人,模式涉嫌传销
长生露之所以疯狂发展的原因,除了夸大和虚假宣传“包治百病”,还跟其模式有关。
有知情人士透露,他们目前的模式采用的是直销模式(长彤生物公司本身没有直销牌照),长生露产品每盒1000元,级别分为主管(2000元)、经理(10000元)、总监(300000元)。消费2000元拿2盒产品成为会员,分享一个会员,奖励200元,分享两个会员,也是奖励200元,分享三个会员,直接奖励2000元,相当于免费享受产品。
此外,还有拓客奖、销售比拼奖、销售津贴、培育津贴、重复消费奖励等多项奖金制度。
比如:
拓客:3人为一循环,直推第1单10%、直推第2单10%、第3单100%以此类推3单为一循环。(取小单值计算)
二、销售比拼:第一层10%,第二层起至无限层50%,每层按第一落单小单业绩计算。
三、销售津贴:主管11%,经理13%,总监15%(按小市场计)。封顶为投资的两倍。
四、培育津贴:主管:3代销售津贴10%。经理:3代销售津贴10%;4-6代销售津贴5%。总监:3代销售津贴10%;4-6代销售津贴5%;7-10代销售津贴2%。
还可成为服务中心和加盟店。

△求助者聊天记录
这些年,李旭反传销团队也劝说过不少痴迷“保健品”传销骗局的受害者,而且不乏一些退休人员,收入不低的老人,这些老人生活都非常简朴,能乘公交绝不打车,也很少买贵的东西,可为什么却肯在保健品上花钱呢?
归根到底,老人对于健康是非常看重的,骗子不是经常说,“你花的大价钱,买的不是药,不是保健品,是健康”。可小编想说,真正的健康不在乎吃多少保健品,而是健康饮食,适当的运动,保持轻松愉快的心情,有病就去医院。更不要想着“发挥余热”赚点钱,实在有精力带带小孩,家庭和睦更重要。