回顾养车侠前身“精益车服”的销售方案,广西菱业等公司已遭财产保全!

首页 > 社会关注
编辑:广东反传销救助中心 日期:2021-07-11T14:7:30 人气:8

有数据显示,2020年我国汽车保有量达到2.81亿辆,如果按照14亿人口计算,相当于每5个人中就有1人拥有汽车。与此同时,汽车保养市场也在不断发展壮大,俗话说“人需要水,车需要养”,对此,有业内人士指出,中国的汽车保有量不断攀升,存量市场巨大,但是服务质量偏低、信息不透明,汽车保养市场未来会成为一个涉及万亿资金的巨大蓝海市场。在这样的背景下,近来可谓是毁誉参半的“养车侠”出现了。

据悉,养车侠是从2019年8月18号全国启动的,2021年3月1号关爱之家养车侠品牌战略升级,至今已经累计达到300多万的会员数据和8000多家的合作门店,并且还在不断的高速增长当中。那么这个养车侠是一个怎样的项目?参与者能从中拿到怎样的收益?关于原始股的传闻是真是假?精益车服可以说是养车侠的前身吗?

精益车联,关爱之家

据百度百科显示,养车侠是精益车联(北京)数字科技有限公司旗下品牌,软件以全车件交易平台为核心,上游连接供应商,下游连接终端汽修厂,智能化、数字化、个性化改造汽修厂,为汽修厂提供管理软件、营销系统、财务系统,帮助线下门店实现数据集成化和规范化,上线时间在2021年1月22日。

经查,精益车联(北京)数字科技有限公司成立于2020年9月3日,法定代表人和独资股东都是邹国共,据2020年度报告显示,该公司的注册资本为1000万元,而股东的实缴出资额为0元,参保员工也为0人。

说到如今的养车侠,自然不得不提到关爱之家公司,据后者的官网显示,养车侠名列该公司合作伙伴名单之中。

关于两者之间的具体关系,也可以说是:养车侠是关爱之家公司“人、车、生活、科技”整体战略的重要组成部分。

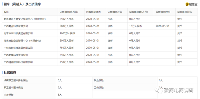
经查,关爱之家科技服务有限公司成立于2020年5月9日,法定代表人龙红成,股东有广西菱业科技有限公司、北京中龄科技集团有限公司、中科烯创科技发展有限公司、北京乾益企业管理中心(有限合伙)、北京星河互联文化发展中心(有限合伙)、广西菱耀科技有限公司、广西精益数字科技有限公司,注册资本5000万元,据2020年度报告显示,该公司股东的实缴出资额仅有10万元,参保员工为6人。

据资料显示,关爱之家结合线下经营者团队,以社群营销和社区实体B端为载体,不断深入社区,贴近社区消费粉丝。通过完整的产品线,持续互动的运营方式,打造经营者个人私域流量。运用数据智能和网络协同发展模式,参与社区经济,整合更为丰富的实体店面,提高数据变现的频次和效率,构建线上+线下、社区服务+社群营销的良性生态,探索社区“平台+管家”服务新模式,平台上线日期在2020年11月12日。

五菱汽车,与之相关?

说到关爱之家这个平台的背景,五菱汽车公司为其背书的消息早已传出。

调查发现,龙红成不但是关爱之家科技服务有限公司总经理,也是广西菱业科技有限公司(精益车服的经营主体,该公司为关爱之家的股东之一)总经理,此人曾以这样的身份出席了在2019年11月举行的五菱精益车服·聚小溪战略合作签约仪式。

有关报道称,广西菱业科技有限公司总经理龙红成与杭州聚小溪网络技术有限公司董事长王小龙签订战略合作协议。五菱精益车服与聚小溪强强联合在聚小溪平台打造“车省钱”版块(经查,杭州聚小溪网络技术有限公司早在2020年7月已因通过登记的住所或者经营场所无法联系而被杭州市余杭区市场监督管理局列入经营异常名录,至今未被移除)。值得注意的是,柳州五菱汽车科技有限公司总经理谢宝明也出席了本次活动,这样来看,关爱之家和五菱汽车公司之间的关系的确匪浅。

事实上也果真如此,据企查查显示,目前,围绕着广西菱业科技有限公司共有三则立案信息出现,据相关信息披露,原告一方是浠水县市场监督管理局,被告一方包括广西菱业科技有限公司,柳州五菱汽车科技有限公司,中国石油天然气股份有限公司广西柳州销售分公司在内。据《浠水县市场监督管理局与中国石油天然气股份有限公司广西柳州销售分公司,广西菱业科技有限公司,柳州五菱汽车科技有限公司财产保全的案件》显示,该案的案件类型为执行案件,案由为财产保全,最新审理程序为财产保全执行。

2021年1月,以“精益有梦扬帆起航”为主题的2020精益车服年度盛典在柳州举行,此次盛典由广西菱业科技有限公司主办,柳州五菱汽车科技有限公司、中国石油天然气股份有限公司广西柳州销售分公司、中国石油天然气股份有限公司广州润滑油销售分公司、司能石油化工有限公司协办。由此,足见在上述裁判文书中一同沦为被告的三家公司关联之密切。

但关于广西菱业公司和五菱汽车公司之间的关系,“运营商财经网”的说法或许也可以提供另一种层面上的参考:在今年春节期间,一位阿姨来到银行存款8000余元。大堂经理见其神色紧张,便询问其存款资金用途,一问才知是她在一个投资群的怂恿下,想去网上购买“广西五菱汽车”的原始股票。觉察到异常的大堂经理,马上通过企查查APP查询“广西菱业科技有限公司”信息,告知阿姨这只是一家个人独资企业,与五菱汽车并无直接联系,且涉及多起诉讼案件,最终成功劝服阿姨打消了汇款的念头。

上述报道指出广西菱业科技有限公司和原始股有关,当然也并非空穴来风。

精益车服,销售方案

接下来,我们就来了解一下精益车服这个项目。

据公众号“精益车服运营服务商”介绍:精益车服是柳州五菱汽车科技有限公司和广西菱业科技有限公司共同打造的汽车后市场服务品牌,柳州五菱汽车科技有限公司是广西汽车集团旗下的全资子公司,精益车服运用的是汽车后市场o2o营销加新零售的产品销售模式,具有五菱品牌机油、配件渠道的供应优势,以及全球采购供应链优势。精益车服要打造的是汽车后市场的“美团”,美团是对接饭店到线上、精益车服是对接门店、修理店到线上。

据相关资料显示,在精益车服平台,只要消费产品即可成为会员(会员分为普通会员和VIP会员),选购VIP注册礼包成为VIP会员后,就可以享有以下权益:爱车保养的4到7折;商城的活动优惠;以及精益车服产品的全国销售权。

在当时,精益车服有两项关键业务:加盟店运营和产品销售,主营业务为汽车保养套餐。精益车服制定产品销售政策如下:首先VIP会员想要销售产品,他就要从经销商那里取得产品,精益车服的产品不用自提或者囤货,用提货卡即可进行批发,也就是说VIP会员可以从经销商那里直接获得提货卡进行零售;VIP会员有两种零售方式,一种是直接零售,另一种是通过组建销售渠道的方式进行产品的零售,不管是哪种零售手段,零售者都可以获得零售奖励。当VIP会员通过直接零售或者组建销售渠道零售,产品销售业绩不低于两万,并且直接零售产品不低于五套的时候,他就可以申请进入经销商体系,获得经销商的待遇;VIP会员销售精益车服App商城的产品获得相应的零售奖励如下:

VIP会员申请成为产品销售经销商后,即可进行公司产品的批发业务,经销商销售精益车服不同的产品获得批发的利润也有所不同,具体批发利润如下:

举例说明,若经销商的产品认购承销小于200套,当经销商的产品销售业绩区间在2万到20万之间的时候,不需要任何的多渠道销售业绩评估就可以获得经销商其所销售产品的营业额的8%到16.3%的奖励比例;若经销商的产品认购承销大于等于200套,实际产品销售业绩区间在20万到150万之间的时候,会对此经销商多渠道销售业绩进行综合评估。并且此经销商的多渠道销售总业绩达到了8万,(也就是说,此经销商除了其最大的销售渠道业绩以外,剩下所有销售渠道的总业绩之和超过八万)这时候会给予此经销商其所销售产品的营业额的13.1%到25.1%之间的奖励……以此类推。

精益车服的产品经销商除了可以获得产品的批发利润和产品销售奖励以外,还可以获得经销商的多项权益,如复购、分红、孵化和工分。

第一,复购:是指按产品销售业绩区间不同,给予经销商不同的产品销售奖励,此奖励不包含VIP会员注册产品的销售;第二,分红:指的是把每日总营业额的4%用于经销商的分红奖励(按照经销商不同的产品销售业绩区间进行平均分配);第三,孵化:是指经销商在与其销售渠道经销商的产品销售业绩区间相同的时候,获得的产品销售补助;第四,工分:是按照经销商的所有产品销售收益+自消费指定产品价格的总和按照1:1的比例生成的,会直接体现在App页面上。

举例说明,首先当经销商的产品实际销售业绩区间在2万到20万之间的时候,不需要任何的多渠道销售业绩评估就可以获得其所销售产品的营业额(除VIP会员注册产品销售营业额以外)的2%作为复购奖励。当经销商的产品销售业绩区间在20万到150万之间的时候,并且该经销商多渠道销售总业绩大于8万,则可获得其所销售产品的营业额(除VIP会员注册产品销售营业额以外)的3.2%作为复购奖励,以及当日全国所有产品销售总营业额的2%平均分配给当日全国所有的销售业绩区间在20万到150万之间的经销商。若此经销商和其销售渠道经销商所在的销售业绩区间相同了,则由其渠道经销商享受此业绩区间的复购及销售奖励,此经销商可获得分红奖励以及其渠道经销商收益的10%作为孵化奖励……以此类推。

在公司完成“蓝海”战略六部曲的同时,经销商更是可以晋级成为精益车服的战略合作伙伴,战略合作伙伴可以进入公司合作销售体系;成立分公司、管理行政化规划区域、享受渠道便捷;可对接优质资源,进行项目孵化,享受项目发展优势;可参与享受公司集团发展红利。在这些红利中,自然也包括上市后的收益,公众号“商企金桥”也曾指出:“在精益车服计划发展1000万会员里面,就相当于精益车服的发起人(股东),我们也理当享受利益回报。”

而在当时,在由聚优传媒舆情监测中心与防传管家共同推出的《投诉举报统计》(统计来源于反传销网旗下各网络咨询平台及反传销网咨询部接到的关于对各类疑似资金盘,网络传销、非法直销、非法集资等情况登记)当中,“精益车服”这个关键词已然是榜上有名。

新旧交替,一脉相承?

或许是与2020年下半年发生的财产保全案件有关,也或许是因为其他什么原因,精益车服已渐渐消失在人们的视野之中(用户现在进入精益车服相关页面时会得到“维护中”的弹窗提示),取而代之的便是如今一脉相承下来的关爱之家养车侠。

要知道,在2021年之前,一些推广人员发布的宣传材料就已经开始将精益车服和关爱之家绑定在了一起。

后来才有的养车侠。

说到广西菱业公司和关爱之家的关系,可谓错综复杂,关爱之家以前是广西菱业的股东,后来退出,而广西菱业则一直是关爱之家的股东,换言之,以前是交叉持股关系,如今是广西菱业入股关爱之家的关系。

(图片来源:企查查)

认定养车侠是精益车服的继承人,当然并非主观臆断,至少连经销商也是这么看待的——甘肃省关爱之家科技服务有限公司西和分公司举行招商会时,邀请的目标客户之一就是“原精益车服的会员”。

在微博上,也有用户将“关爱之家养车侠的共享股东”的身份和“精益车服20万经销商(股东)”的身份联系在一起。

综上所述,在如今做养车侠项目的人群中,有不少都是原精益车服的会员。

在本篇报道中,我们了解到了养车侠项目的背景,以及精益车服是如何启动市场的,在下篇报道中,我们将着重关注的是关爱之家养车侠现行的模式该如何解读,请继续关注微商电商调研。

文章来源:微商电商调研。特此鸣谢!

回顾养车侠前身“精益车服”的销售方案,广西菱业等公司已遭财产保全!:http://www.fcxcn.cn/shehuiguanzhu/3166.html
反传销:www.fcxcn.cn 反传销柔儿团队主要负责寻人,上门反洗脑,现场解救劝说。团队长期在北海现场解救1040阳光工程,资本运作传销受害者,以及全国各地协助家属寻找北派传销的孩子(因传销而常年未回家者,被控制人身自由的人群),反传区域涉及:广西,广东,深圳,福建,江西,湖南,香港,浙江.附近有需要求助可与我们联系,孙老师13712257511
0