“调查”肆拾玖坊:产品生产方茅泉酒业曾是老赖,三级众筹暗藏何种玄机?

首页 > 社会关注
编辑:广东反传销救助中心 日期:2021-08-17T15:30:56 人气:27

四川盆地与云贵高原接壤处的赤水河段,被人们称为美酒河,中国乃至世界的酱酒核心产区茅台镇,就位居此处。

在绵延不绝的山脉脚下,赤水河岸尽是酒厂,除了大家熟知的贵州茅台酒厂之外,还有一家名叫肆拾玖坊的酒厂身处其中。

肆拾玖坊,是一家靠营销模式“出圈”的酱香酒企。据肆拾玖坊合伙人王先生介绍,肆拾玖坊采用的是股权众筹模式,其创始人张传宗深受武侠影响,将肆拾玖坊通过三级股权众筹而来的组织命名为总舵——分舵——堂口,堂口下面还经营社群

其中,肆拾玖坊总舵负责输出产品、品牌及售后等,分舵、堂口负责销售,享受股份分红。每一个地区新加盟的分公司自动成为分舵,发起人是分舵舵主,参股股东则为大侠。

另外,据肆拾玖坊官方宣传,肆拾玖坊目前拥有4000个新零售销售终端,其中包括百余家新零售众创平台,1500家新零售体验店、2500个新零售经销商,有30000人成为肆拾玖坊新零售合伙人。面对这么大的产品需求量,成立刚满6年的肆拾玖坊,其产能、产量,以及基酒存量也备受市场质疑。

根据肆拾玖坊公布的数据显示,2019财年,肆拾玖坊销售额突破10亿元,2020财年销售额达20亿元。“肆拾玖坊将在5年内完成上市,努力打造出一个年营业额百亿元、总市值达千亿元的上市公司。”张传宗在融资发布会上如是说。

今年4月21日,肆拾玖坊宣布获得过亿元的A轮融资,估值达50亿元,7月30日,又宣布完成6亿人民币B轮融资。加盟商们受此鼓舞,更加积极地发展团队,拉人买酒,成为肆拾玖坊会员。

然而表面光鲜亮丽的肆拾玖坊,背后的法律风险不可忽视。

跨界做酒,模式存疑

公开资料显示,2015年4月,前联想智能数码业务总经理张传宗将自己在联想时结交的各路好友拉到一个微信群发起众筹,来自传统IT、教育培训、家电等多个行业的49位合伙人响应,以5万、10万、20万不等的众筹金额,筹集到500多万初始资金,组建起了第一级众筹股东,3个月后,肆拾玖坊成立。

肆拾玖坊创始人、CEO张传宗

和传统酒企不同,肆拾玖坊定位是一家以酱酒为核心业务的产业互联网企业。要想加入肆拾玖坊,必须通过三宗师的培训,这三位分别是联想中国总裁刘军,现任肆拾玖坊董事长;联想集团原多区域、多事业部总经理张传宗,现任肆拾玖坊创始人、CEO;联想集团原最大分销公司总经理麻劲松,现任肆拾玖坊总裁。

联想中国总裁、肆拾玖坊董事长刘军

肆拾玖坊总裁麻劲松

肆拾玖坊属于跨界做酒,严格意义上他们并不是传统的酒商,而是一群懂资源整合的人来做白酒,做白酒的目的也并不是像传统白酒商那样去赚产品的钱,实际上是赚模式的钱,这一点,从其深耕社交电商,三级众筹的模式上就能看出。

从肆拾玖坊分舵股东发来的模式说明中可以看到,其中表明了“所有股东均有推广、销售、代言的责任”“对接分舵乃至全国人脉和平台”。肆拾玖坊采用的是“1万元押金、1万元买货,众筹给低价,三级众筹加价卖”的模式,这就意味着直接把货压给了众筹股东。

肆拾玖坊的营销模式具体是怎么做的呢?

首先是第一级众筹,成立总舵,即股权众筹。以肆拾玖坊创始人张传宗为发起人,集聚了49个联合创办人,每个人拿出10万元左右的资金,众筹到500万元,作为启动资金成立肆拾玖坊公司,这些人是原始股东,每个人享有原始股权。

第二级是连锁众筹,成立分舵,49个原始股东,这49个股东每人至少创办一个分舵,据肆拾玖坊2020年宣传,就已经有108个分舵,而且这108个分舵同样是采用众筹的方式,每个分舵发展200个人,比如每人投资2万元,这200个人就是该分舵(分公司)的股东。

第三级是分舵发展的堂口,堂口也就是是终端门店,终端门店的成立也采用众筹模式,一个终端门店发展30个人,每人至少投资1万元,每个人还要创建一个100人以上的社群,用来发展市场。

肆拾玖坊合伙人协议(部分)

成为肆拾玖坊的股东后,如何赚钱?分舵股东杨先生向微商电商调研介绍,第一是“拿货越多,分红比例越高”,这也意味着,最终的销售都压在了终端门店身上。第二,平台还根据拿货的多少设定分红比例,也就是说拿货越多分红比例越高,上级可以分下级的拿货提成。第三,股东拿货有内部价,销售到终端的差价全部归属股东。第四,股东年终奖励,总舵拿出一部分股权奖励分舵,分舵也拿出一部分股权奖励堂口。比如销售500瓶以上奖励1000元,销售1000瓶以上2000元等等。

随后,微商电商调研向杨先生咨询,现在能否直接加盟分舵,杨先生表示,“如果做得好,可以成立自己的分舵”。那非49个原始股东成立的分舵怎么赚钱呢?“只要达成某个业绩指标,总部通过增发股份的形式,让他们占有总部的股份。”杨先生这样说到。

如此来看,目前肆拾玖坊的分舵已经不止108个,以每个分舵发展200个众筹股东来计算,肆拾玖坊的股东人数已经远超过20000人。

肆拾玖坊六周年颁奖现场(部分)

7月30日,在肆拾玖坊6周年庆典上,肆拾玖坊对成绩突出的代理商进行颁奖奖励,从开拓进取奖,到中流砥柱奖、纵横四海奖、雄霸天下奖、坛王奖、情怀天下奖、杰出贡献奖、谁与争锋奖、武林至尊奖、绝代双骄奖,奖项级别逐级增高,奖励也越来越大。

成立六年,身世成迷

近年来,酱香酒大热,然而产能问题长期困扰着包括贵州茅台、郎酒股份以及国台酒业等众多酱酒头部企业,也正是因为产能的稀缺,“成就”了终端市场的稀缺性。

对于肆拾玖坊而言,在市场“风光无限”的背后,同样也隐藏着酱酒企业产能受限的隐忧。

肆拾玖坊产品(部分)

张传宗曾公开对外表示,过去6年时间,肆拾玖坊将所有的利润,和可以调动的资金全部投向茅台镇,先后收购鹏程、茅泉、郦城、国联四家酒厂,布局了万吨的产能,构建了五万吨的储酒基地,和一个三万坛以上的千斤坛基地,但是微商电商调研通过梳理肆拾玖坊相关的工商信息,却发现多处于宣传不相符的地方。

通过天眼查查询得知,张传宗共担任9家企业的法定代表人,其中肆拾玖坊的主体公司为肆拾玖坊实业有限公司,成立于2016年2月25日,注册资本1亿元,实缴资本500万元,其前身为肆拾玖坊(北京)电子商务有限公司,成立于2015年6月18日,目前显示已注销。我们注意到,无论是运营,还是融资,均是以肆拾玖坊(天津)电子商务有限公司为主题开展的,工商信息显示,该公司成立于2017年4月14日,法定代表人张传宗,注册资本1658万元,实缴资本405.12万元,目前已获得A轮、B轮超过6亿元的融资。

作为一家销售茅台镇酱香酒的企业,肆拾玖坊表示有自己的酒厂,通过股权分析我们发现,张传宗担任法定代表人的一家位于茅台镇的酒厂名叫贵州茅泉酒业(集团)有限公司,这家公司成立于2005年,注册资本4.738亿元,实缴资本4.738亿元。从肆拾玖坊官方宣传来看,这家酒厂就是其主要生产方。

但是我们通过研究贵州茅泉酒业的过往,发现了一些鲜为人知的故事。贵州茅泉酒业公司最早是由茅台镇人陈光发成立,因其与贵州茅台酒处于同一产地,其产品主要为“茅泉老酱”和“金质赖茅”,虽然都是酱香酒,但是茅泉与茅台的发展情况却是天差地别。

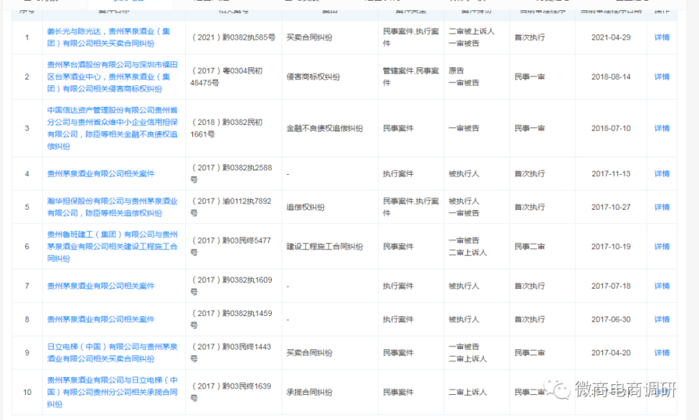
茅泉酒业公司的相关法律诉讼(部分)

2016年到2017年,茅泉酒业公司五度被贵州省仁怀市人民法院列为失信被执行人。2017年4月,茅泉酒业因拒不支付给日立电梯(中国)有限公司的53700元电梯安装尾款而被诉至法院,同月又因拖欠瀚华担保股份有限公司4103085.75元被法院列为执行人。2017年7月,茅泉酒业因拖欠鲁班建工有限公司工程款844963元拒不付款而被诉至法院。2018年3月,茅泉酒业因拖欠中国信达资产管理股份有限公司贵州省分公司683.41万元贷款而被诉至法院。

另外,2017年10月,茅泉酒业被贵州茅台酒股份有限公司上诉至深圳市福田区人民法院,称其侵害商标权及不正当竞争。茅台集团诉称,茅泉酒业明知茅台集团公司是“赖茅”商标的权利人,也明知原告产品的装潢、标签特征,但是仍然大量生产、全国销售涉案产品“赖茅18”、“赖茅15”、“茅泉国酱”、“赖茅1935”白酒,在产品包装上使用上述商标,其突出使用“贵州茅台镇”文字,构成商标性质的使用,不属于合理使用地名,对驰名商标“贵州茅台”没有进行避让、避嫌,侵犯了贵州茅台的专用权,且已构成不正当竞争。深圳市福田区人民法院判定茅泉酒业有限公司立即停止生产、销售侵犯贵州茅台集团商标专用权的涉案商品,且赔偿贵州茅台酒股份有限公司经济损失及为制止侵权的合理开支人民币50万元。

茅泉酒业的法定代表人变更

从股权变更的信息上看,2019年2月26日,茅泉酒业公司的法定代表人由陈光发变更为梁朝阳,相关出资人及股份也一同变更。从梁朝阳工商信息上看,与肆拾玖坊高管存在合作伙伴关系,由此可以分析,肆拾玖坊正是此时开始收购了茅泉酒业公司。

目前,中国酱酒进入了高速增长以及快速扩容的时间节点,如果通过收购小酒厂进而提升产能的话,风险较大。这主要是因为小酒厂并没有太大的经济实力以及品质保证。因此,如果以收购中小型酒企进行产能扩容,未来对于肆拾玖坊的发展将面临更大风险。

业内人士表示,如果凭借收购酒厂就能提升产能以及储酒量,那么郎酒、国台酒业甚至贵州茅台都不用再担心产能问题了。事实上,关于收购酒企以提升产能虽看似通过资本就能解决,但实际上仍要考量收购企业基酒的质量、年份以及储酒年份。“毕竟,以酱酒12987的工艺来说,即便是刚刚酿出的酒,也需要进一步储存才能够上市。而这其中的时间成本,也是需要考量进去的。”

对于肆拾玖坊成品酒的产能问题,张传宗曾直言“我这是借鸡生蛋,不求所有,但求所用。”

不仅仅产能存疑,在打造千亿市值层面,肆拾玖坊同样有炒作之嫌。以目前白酒市场来看,达到千亿市值的企业有贵州茅台、五粮液、泸州老窖、洋河股份、山西汾酒以及古井贡酒。以这些企业的业绩以及股价来看,肆拾玖坊若想达到千亿市值似乎不仅仅是5年的距离。

对此,业内人士指出,酱酒带动了一批酱酒企业的发展。作为其中的代表,肆拾玖坊在新零售层面对行业有着推动作用。但在目前市场表现以及资本层面来看,酱酒热主要是由茅台热所带来的,因此酱酒热的根本仍在于消费市场以及资本市场对于茅台的追捧,因此投资者以及消费者仍然要保持冷静的态度对待酱酒热以及酱酒企业丛生等方面问题。

“调查”肆拾玖坊:产品生产方茅泉酒业曾是老赖,三级众筹暗藏何种玄机?:http://www.fcxcn.cn/shehuiguanzhu/3545.html
反传销:www.fcxcn.cn 反传销柔儿团队主要负责寻人,上门反洗脑,现场解救劝说。团队长期在北海现场解救1040阳光工程,资本运作传销受害者,以及全国各地协助家属寻找北派传销的孩子(因传销而常年未回家者,被控制人身自由的人群),反传区域涉及:广西,广东,深圳,福建,江西,湖南,香港,浙江.附近有需要求助可与我们联系,孙老师13712257511
0