近年来,各种各样的拼团项目此起彼伏,层出不穷,往往是一个拼团项目刚刚崩盘,下一个拼团项目就处在了内招期。近期,就有一个名为“见康乘拼团”的项目开始在不少人的朋友圈中呼风唤雨。
那么,这个见康乘究竟会给参与者带来怎样的收益?该项目和“我有戏”、“云小智”有何关联?注册资本高达996000万欧元,就可以理解为是公司实力吗?国投集团在《谅解备忘录》中提到了登云小智公司的名字了吗?“让我们的每一位客户都能有品质的活到120岁”的广告语是否太过夸张?“投资2700元一个月纯利润1800元”的说法从何而来?行业专家为何会认为“见康乘又是一个把拼团做成拉人头多层次团队计酬模式的项目”?推广过该项目的公众号和一些短视频平台上的个人账号为何会遭到屏蔽和封号的处理?

公司实力,不容多说?
据官方介绍,“见康乘”APP以线上依托线下,线下助力线上的联动营销,凭借新零售+互联网+大健康的全新模式,通过互联网实现社群营销、多元化发展、一站式健康,打造最具潜力的大健康产业集群,助力全民健康,构建最具创新化的健康产业平台。
经查,见康乘的经营主体为浙江登云小智科技发展有限公司,该公司成立于2019年11月7日,法定代表人成立,为浙江登云商贸有限公司的全资子公司,注册资本1000万元,据2020年度报告显示,该公司股东的实缴出资额为0元。

目前,浙江登云小智科技发展有限公司江苏分公司已在2021年7月7日因未依照《企业信息公示暂行条例》第八条规定的期限公示年度报告,而被常州市金坛区市场监督管理局列入企业经营异常名录,且至今未被移除。

无独有偶,处于经营异常名录当中的还有成立名下的台州晨米企业管理合伙企业(有限合伙)。

再说回登云小智公司的母公司浙江登云商贸有限公司,该公司成立于2014年9月25日,原名仙居县春弟贸易有限公司、浙江润路飞贸易有限公司,法定代表人孙平,股东有孙平和刘刚,注册资本2000万元。值得注意的是,在2021年7月12日之前,成立还是该公司的法定代表人、股东和联络员。
不过在推广人员口中,这些公司的名气都远远不及注册资本高达996000万欧元的浙江登云大健康产业有限公司,这家公司也在成立名下,近760亿元的注册资金也成为了见康乘的推广人员们敢于慷慨陈词的底气。

据资料显示,目前的登云大健康董事长为孙翊恺,据某团队长介绍,此人也为见康乘这个项目站过台。据悉,该公司由张建(大股东)、孙晶、珠海万星图企业管理合伙企业(有限合伙)、中航信托股份有限公司、陈怡、何健文等企业或个人投资。

不过值得注意的是,据该公司公示的2020年度报告显示,该公司股东的实缴出资额都是0元,所谓的“实力不容多说”,恐怕仍有质疑空间。
按道理说,认缴资金虚高要承担的法律风险更大,有业内人士指出:认缴不等于不缴,只是说创业初期可以暂时缓缴,认缴制没有改变股东以其认缴的出资额承担责任的相关规定。例如,公司如果在企业经营过程中,如因企业经营不善,而需申请破产清算。如果公司清算后,公司还存在100万的债务无法偿还,此时公司如果注册资金只有50万,那么股东的偿还额度只要偿还50万即可,如果公司的注册资金是100万,则需要偿还100万。由此可知,注册资金虚高,而股东自身承受能力不够就会让自己陷入不必要的窘境。
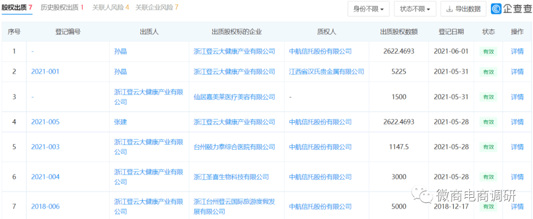
据企查查显示,围绕着浙江登云大健康产业有限公司已有多条股权出质信息得以公示。

国投集团,与之何干?
而说到见康乘的平台背景,国投集团的大名自然也难以忽视。

国投集团控股的名字之所以会出现在见康乘推广人员的宣传中,与其于2021年7月23日发布的公告有关,该公告指出,建议公司向潜在卖方收购目标公司及赞科技股份有限公司的最低51%注册资本。本次并购,符合集团多元化发展,和公司及其股东的整体利益。可能收购事项的代价须待谅解备忘录的订约方根据独立专业估值师将就目标公司进行的估值作出进一步的磋商后,方可作实。

(据了解,见康乘执行总裁就是一个人称“东哥”的人)
据资料介绍,及赞科技股份有限公司是华夏登云旗下一家网络科技公司。公司有专业的核心网络技术开发团队,以互联网电子商务及信息化建设为基点,针对B端商家及C端商户提供全方位一站式的服务。2021年8月2日,公众号“登云小智”发布消息称:孙晶受邀担任国投控股集团副总裁。主要负责集团业务拓展,及制定本集团在互联网科技型企业孵化和运营等工作,同时负责及赞科技股份有限公司的全面运营工作。而这个孙晶正是上文提到的登云大健康公司的股东之一,此人还有一个身份——华夏登云创始人。

而据见康乘的推广人员晒出的国投集团发布的《谅解备忘录》显示,我们也看到了登云小智公司的名字,“目标公司现有10万用户,预计本自然年完成1亿用户量”。

(图片来源网络)
预计本自然年完成1亿用户量?这个数据未免太过夸张了吧?那么上述这则资料到底是真是假?为了验证其真实性,我们找到了国投集团在7月23日发布的《谅解备忘录》,事实上,在这份文件中并没有上述说法出现,也根本没有出现过登云小智公司的名字。

而经过进一步观察,我们还发现在推广人员晒出的备忘录中,连具体的日期都是空白,只有2021年的年份是货真价实的。要知道,在进入2021年之后,国投集团在公告中只发布了一则《谅解备忘录》。再退一步讲,这两篇备忘录分别使用的字体也是存在明显差异的。
显而易见,无论国投集团是否与见康乘有所合作,微博昵称为“见康乘”、“见康乘拼团微博”的这些推广人员在网上所晒出的上述资料都属于伪造,上述行为属于冒用其他公司名义从事商业宣传。根据规定,伪造企业公文属于违法行为,应受到《治安管理处罚法》的处罚。《治安管理处罚法》第五十二条规定:有下列行为之一的,处十日以上十五日以下拘留,可以并处一千元以下罚款;情节较轻的,处五日以上十日以下拘留,可以并处五百元以下罚款:(一)伪造、变造或者买卖国家机关、人民团体、企业、事业单位或者其他组织的公文、证件、证明文件、印章的;(二)买卖或者使用伪造、变造的国家机关、人民团体、企业、事业单位或者其他组织的公文、证件、证明文件的。
文章的最后,我们再把视线投向国投集团本身。截止2021年8月中旬,国投集团控股仍处于停盘阶段。

据悉,国投集团控股此前早已发布过公告,根据早前公布,内容有关清盘呈请。董事会谨此提供最新情况,法院下令呈请聆讯将会押后至2021年9月6日举行。公司会就呈请与该计划的任何重大发展通知股东和投资者,并会在适当时候根据上市规则另行发表公告。

(微博用户“见康乘”发布国投集团的消息后所得到的用户评论)
在本篇报道中,我们了解到了见康乘的公司背景,以及有关文件的真实性,在下篇报道中,我们将着重关注的是见康乘的模式该如何看待,为何已有多个平台对其预警,请继续关注微商电商调研。