靠、诱导消费、虚假宣传?一只船教育遭大量用户投诉后疯狂攻击屏蔽删帖意义何在?

首页 > 社会关注
编辑:广东反传销救助中心 日期:2021-08-31T17:47:48 人气:57

反传防骗联盟讯:8月11日,反传防骗联盟发布了《考证每年躺赚15万?“一只船教育”被指诱导消费遭班主任拉黑》一文,随后,反传防骗联盟接到了来自北京一只船教育科技有限公司的投诉:

图片

图片来源:反传防骗联盟公众号后台

据该投诉信息显示,一只船教育主要针对以下三个方面进行的投诉:

1、诽谤一只船公司存在“诱导消费”、“虚假宣传”、“挂靠”、“代报名”等问题;

2、内容缺少真实性、有效性;

3、案例中提及用户为一只船教育的学员,且已与一只船教育和解。

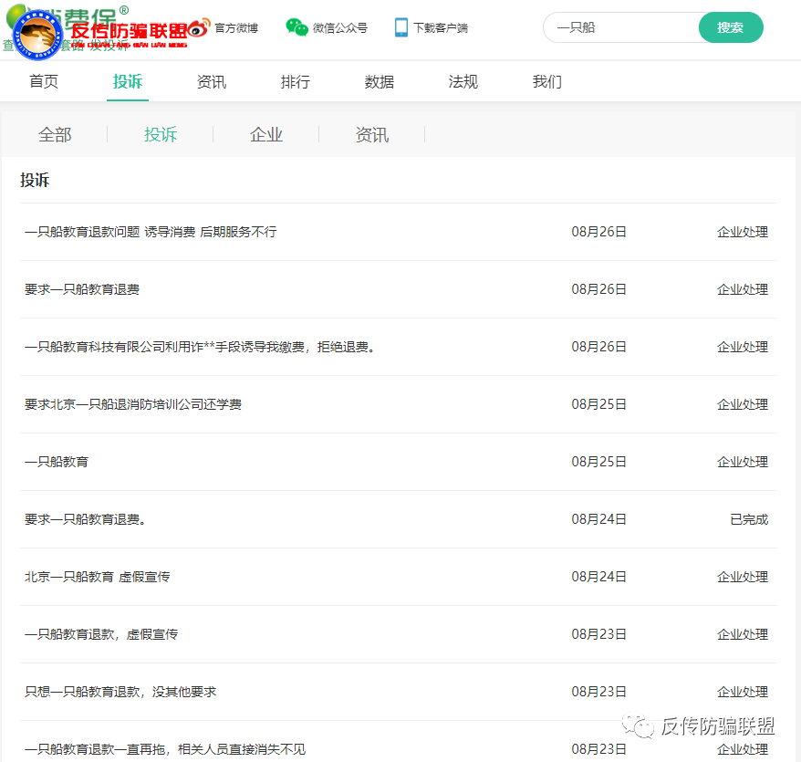
为了严谨,反传防骗联盟针对上述投诉再一次进行了调查,经查询,在黑猫投诉、315消费保等投诉平台,目前仍有大量一只船教育的相关投诉:

图片


图片

图片来源:投诉平台

经反传防骗联盟查询,目前一只船教育在黑猫投诉平台的投诉量高达2668条,而在315消费保网上投诉平台从2019年8月至今,两年的时间,一只船教育的投诉量也达到了170余条,投诉的内容大部分与一只船教育涉嫌虚假宣传、诱导消费、代报名等问题。

据多名投诉人员反应,北京一只船教育机构的招生老师在招声时均对外宣称学习、报名、挂靠全流程服务学历和毕业时间不符合要求也可报名”。并且以“官方指定培训”“内部绝密资料”“押题保过”“代报名”“挂证挂靠赚钱”等虚假欺骗信息甚至伪造公文等违法手段,招揽不具备报名条件的学员参加培训、报名考试,诱导不符合报考条件的学员缴费。

图片


图片

图片来源:投诉人提供

在招生时,招生老师还对学员承诺“包报名、包挂靠”。对于不符合条件的学员,北京一只船培训机构你们辅助报名走企业代报违法行为作为招生噱头。

而在学员发现自己不符合报名条件且代报名行为违法要求一只船教育退费时,一只船教育却要么视而不见,要么对学员拉黑处理。

据黑猫投诉上一位用户透露,一只船教育在招生时对其谎称一周只需要6个小时学习时间三套密卷保证通过并向投诉人发来成功案例,还告诉投诉人考出证后全职年薪为30万,挂靠保证都有10万高薪2021年是最后一个考消防工程师的最有利的时间段,还没限制专业,以后就要限专业了等说辞诱导用户报名待用户动心后一只船教育需缴500元预报名用户交钱后一只船教育又要求用户VIP无忧班,原价7980元的课程现在立刻缴费有1000元的优惠,再三催促我缴费6480元。

图片

投诉人的转帐记录截图

而当投诉人缴费并下载APP后准备学习的时候发现一天用一个小时根本学不完,单每节视频课的时间就2小时以上,加上预习复习和巩固的3个小时,一天至少要拿出5个小时左右的时间来学一节课,上了几节课后就听不懂了。经查询,投诉人才知道挂靠证件是违法的,而且投诉人并非消防专业根本就不符合报考条件,不能参加考试

随后投诉人联系客服退费,却被告知要扣30%违约金和一个月的课时费500多元和教材费500元当投诉人指出一只船教育虚假宣传欺瞒诱导报名客服回应扣一个月的课时费、教材寄回三天后打款而投诉人一等再等也没有等到一只船教育的打款当投诉人问售后情况得到的回复却是没时间退费随后一位自称领导打电话给投诉人称之前的处理不合规定,需要重新处理,还称自己参与了一只船课程的开发并做了市场调查,所以课程并不难退费需要扣违约金

投诉人没有同意,退款的事就这样从年前拖到了年后,近半年过去了投诉人依然没有等到一只船教育的退款。

图片

图片来源:黑猫投诉

据投诉人透露,一只船教育给投诉人的退款条件是撤销投诉、签定退款协议后的20个工作日退款。

图片

图片来源:人民网

无独有偶,2021年8月26日,一位用户在人民网的“领导留言板”留言称我于2021年4月4日在北京一只船教育花费7980元报了消防培训班,机构说考过可以挂证,人不用去,也不转社保,挂证费不低于十万,挂靠风险只字未提。在本人知道证书挂靠违法的情况下申请退款,在一只船没有签合同和协议情况下不予办理退款,一只船教育机构疑有以下两个欺骗行为: 一是国家是不允许此类证书挂靠,二是本人非消防专业不能参考。一只船应扣除材料费后退款,不能扣高额违约金,请解决。

图片

图片来源:天眼查

据天眼查显示,北京一只船教育科技有限公司成立于2016年3月3日,位于北京市朝阳区广渠门外大街8号10层东座-1111,注册资本1000万,实缴120万,法人代表孙迪任经理,实际控股人陈澍任执行董事,持股100%。

图片

图片来源:天眼查

据一只船教育的股权穿透图显示,北京一只船教育科技有限公司旗下共有三家分支机构:河北一只船教育科技有限公司、北京泰坦星教育科技有限公司、深圳一只船教育科技有限公司。其中河北一只船教育科技有限公司于2019年5月8日注销,北京泰坦星教育科技有限公司于2021年5月21日注销。

图片

图片来源:天眼查

值得一提的是,据天眼查显示,一只船教育近年来所涉及到的法律诉讼10起,开庭公告共5起,大部分与劳动争议或合同纠纷有关。


面对数千条用户投诉,在经历了诱导消费、虚假宣传、挂靠、代报名等一系列违规手段的背后,一只船教育何时才能真正实现秉承初心,共铸美好未来的企业愿景?擅长投诉攻击的北京一只船教育科技有限公司面对此次曝光和大量用户投诉的事实又会作何回应?我们拭目以待!

靠、诱导消费、虚假宣传?一只船教育遭大量用户投诉后疯狂攻击屏蔽删帖意义何在?:http://www.fcxcn.cn/shehuiguanzhu/3663.html
反传销:www.fcxcn.cn 反传销柔儿团队主要负责寻人,上门反洗脑,现场解救劝说。团队长期在北海现场解救1040阳光工程,资本运作传销受害者,以及全国各地协助家属寻找北派传销的孩子(因传销而常年未回家者,被控制人身自由的人群),反传区域涉及:广西,广东,深圳,福建,江西,湖南,香港,浙江.附近有需要求助可与我们联系,孙老师13712257511
0