关联公司曾遭官方点名,一起来养猪与当年养龙合成游戏有何相似之处?

首页 > 社会关注
编辑:广东反传销救助中心 日期:2021-09-08T15:58:30 人气:17

近日,“一起来养猪”这个项目在一些交流群中吸引来了不少的关注。那么这个项目有着怎样的背景?参与者从中能赚到哪些收益?

图片


关联公司,曾存问题

据百度百科介绍,“一起来养猪”是一款养成类+合成类APP, 玩家可以通过合成猪猪升级,养成不同类型的可爱小猪,体会到游戏的乐趣,还可以获得“特殊猪”奖励,真正的开启“云养猪”模式。该APP的上线时间在2021年1月4日。

经查,深圳市聚享玩网络科技有限公司为一起来养猪这个项目的开发商,该公司的官网也明显与这个项目有关(www.yiqilaiyangzhu.com)。该公司成立于2020年2月17日,法定代表人陈松,为深圳一群科技有限公司的全资子公司,注册资本100万元,据2020年度报告显示,该公司实缴出资额为50万元,参保员工为0人。

图片


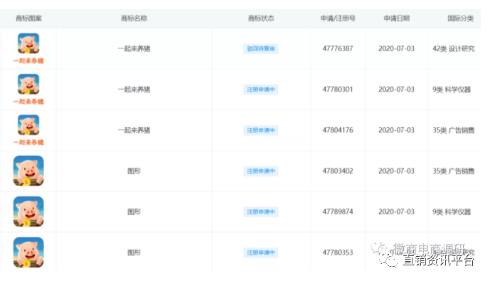
据企查查显示,目前,该公司所申请的一系列与“一起来养猪”有关的商标不是处于“注册申请中”的阶段,就处在“驳回待复审”的状态。

图片


(图片来源:企查查)

深圳一群科技有限公司成立于2020年3月23日,法定代表人胡赵,股东有胡赵和天津市巨安企业管理咨询合伙企业(有限合伙),注册资本2000万元,据2020年度报告显示,该公司的实缴出资额为1000万元,参保员工为0人。

图片


继续向上追溯,天津市巨安企业管理咨询合伙企业(有限合伙)的执行事务合伙人为东莞市顺利淘电子商务有限公司,而后者的法定代表人也依然是胡赵。据企查查显示,在眼下,胡赵名下共有7家企业,其中有3家已然注销。

值得一提的是,深圳一群科技有限公司旗下的另一家全资子公司深圳市加游丫科技有限公司曾因其开发的一款名为“旅游世界”的应用私自收集个人信息而遭到信息通信管理局的点名。该公司的主要高管名单中同样也有胡赵和陈松的名字。

图片


2020年7月,工信部信息通信管理局公布《关于侵害用户权益行为的APP通报(2020年第二批)》,“旅游世界”这款APP名列“存在问题的应用软件名单”之中。

图片


接下来,我们再来关注一下这个养猪项目的玩法。

图片


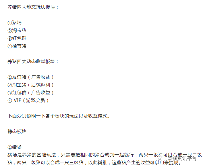
本质上来讲,最开始的一起来养猪就是一款合成向的手机游戏。关于具体的收益,据公开资料显示如下:

图片


图片


图片


图片


图片


图片


图片


图片


据推广人员晒出的后台截图显示,有人通过渠道已经拿到了不少奖励,收入十分可观。

图片


为了不断发展人员加入,有的渠道商还给出了扶持政策。

图片


而这种养猪合成类的游戏,很容易让人想起此前红极一时的养龙合成游戏。

图片


“巴彦淖尔经侦”方面发布的报道就曾总结过这类合成游戏的套路:下载游戏,即可领取虚拟宠物恐龙。两只1级恐龙可以合成一只2级恐龙,两只2级恐龙合成一只3级恐龙,以此类推。最终合成到38级,会按概率生成一些特殊的恐龙,如红包龙、算力龙、情侣龙等,并且可以获得对应的金钱奖励。

图片


图片


图片


图片


归根结底,此类游戏模式存在多种违法风险,有关平台以此为诱饵,吸引公众投入资金,并利诱投资人发展人员加入,不断扩充资金池,具有非法集资、传销、诈骗等违法行为特征。

关联公司曾遭官方点名,一起来养猪与当年养龙合成游戏有何相似之处?:http://www.fcxcn.cn/shehuiguanzhu/3714.html
反传销:www.fcxcn.cn 反传销柔儿团队主要负责寻人,上门反洗脑,现场解救劝说。团队长期在北海现场解救1040阳光工程,资本运作传销受害者,以及全国各地协助家属寻找北派传销的孩子(因传销而常年未回家者,被控制人身自由的人群),反传区域涉及:广西,广东,深圳,福建,江西,湖南,香港,浙江.附近有需要求助可与我们联系,孙老师13712257511
0