食品宣传具有防癌抗病功效,尊品永耀对比尊品卓雅有了哪些变化?

首页 > 社会关注
编辑:广东反传销救助中心 日期:2021-10-03T10:33:5 人气:19

前几年,在趣步模式火了之后,各种仿盘一时间也随之红遍了大江南北,“走路赚钱”之后,又多了“看视频赚钱”、“玩手机赚钱”等种种花样翻新的赚钱软件,最近几年,“看广告赚钱”也是被炒得愈发火热,甚至形成了一个行业——广告电商。于2021年9月在互联网上冒出头来的“尊品永耀国际广告电商”就是其中的典型。

有着“广告电商+消费全返”等卖点的尊品永耀广告电商(又称“耀购电商”)有着怎样的公司背景?参与者能从中拿到怎样的收益?尊品永耀国际集团到底是成立了7年,还是成立在7月?《莫桑比克国际证券交易所上市保荐函》展示出了哪些内容?尊品永耀推出的原始股是否未来可期?“预售原始股仅有5000万股,初始价格为2元/股,敲钟上市价格预计为12.5元/股,后续快速拉升”的说法从何而来?尊品卓雅方面公开宣传的“体香口服液”是否具备“防癌抗病”的功效?

图片


图片

多年历史?实则数月

图片


据推广人员介绍,尊品永耀国际集团成立于2014年,国内主体为四川尊品永耀科技有限公司,开曼国外主体为尊品永耀国际开放式股份有限公司,中国香港的主体为永耀国际开放式股份有限公司。经营范围涉及健康、金融、资本等多个领域,并获得多项国家专利,平台拥有粉丝50余万人,目前已并购多家大型实体企业。公司将以“平台+实体、产业+金融”为核心理念,顺应国家战略,以实体企业优质大健康产品为媒介引流数据,综合实体企业打包股票市值,以金融资本赋能实体企业价值互联,从而实现共创共赢,消费创富的宏伟战略。

图片


经查,四川尊品永耀科技有限公司成立于2014年4月3日,法定代表人和独资股东都是谢晓萍,监事为肖佳阳,注册资本5000万元,据2020年度报告显示,该公司当时的股东的认缴出资日期在2034年(当时的注册资本还是200万元),参保员工为0人。

图片


看起来,尊品永耀公司成立已经有了7年的历史,不过调查发现,直到2021年7月13日到21日期间,该公司才在法定代表人、股东、注册资本、市场主体类型等多个方面进行了全方位的变更登记,而此前该公司的名称为四川鑫瑞源消防设备有限公司,经营范围还是销售如下产品:消防设备及器材、五金产品、建材、通讯设备(不含无线电发射设备)、办公用品,与如今的尊品国际的业务范围可以说是没有一丁点的关系。这样一来,我们不难发现尊品永耀集团口中所谓的成立多年,实际上不过两个多月。

图片


虽然操盘手们接管这家企业才不久,但尊品永耀这个项目已然呼之欲出,8月下旬开始在互联网上预热,9月2日开启内排,9月5日项目正式上线(又有说法是9月8日上线)。

在推广人员提供的相关公司营业执照中,还有四川尊品文化传媒有限公司的名字。

图片


调查发现,该公司成立于2021年7月13日,同样刚刚成立没多久。还有一家名为“四川金润地网络有限公司”的企业也名列其中,该公司成立于2021年1月27日,4月的时候,法定代表人、注册资本、注册地址等内容就进行了变更。谢晓萍名下的四川尊品卓雅生物科技发展有限公司成立时间稍长,该公司成立于2020年7月22日。目前,该公司的官网(www.zpshop.net)已无法访问。

图片


由表及里,我们不难发现所谓的尊品永耀国际集团其实只是由一些大多在近期才注册成立的企业组成的。时以至今,公众号“尊品永耀”、“尊品永耀广告电商”仍然没有发布过任何一条消息。

图片


图片

关联企业,问题重重

图片


在有关宣传图片中,除了上述企业外,还有一些公司的名字也被提及到了。

图片


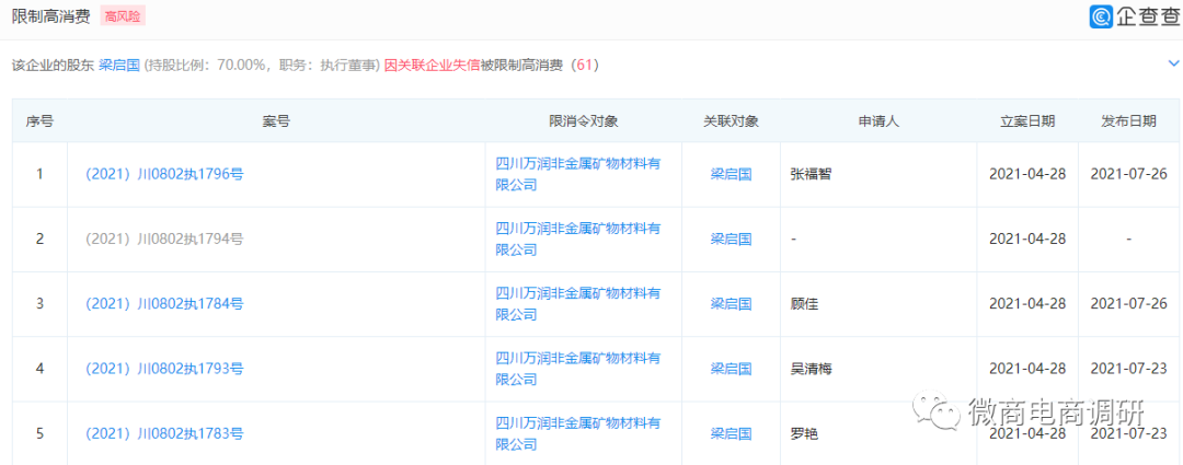
比如四川晶富生物科技有限公司,据企查查显示,该公司的大股东梁启国(持股百分之七十)屡次有被法院出示限制消费令的记录。

图片


还有陕西葚皇本草生物科技有限公司,2020年8月,陕西省市场监督管理局官网发布关于8批次食品不合格情况的通告,该公司榜上有名,通告指出:山阳县客都购物广场商贸有限公司销售的标称陕西葚皇本草生物科技有限公司生产的(葚皇贡+图形)牌葚皇贡桑葚酒,1批次酒精度不符合产品明示标准和质量要求。据企查查显示,截至目前,该公司已多次出现过产品问题。

图片


再比如深圳市体香生物科技有限公司,该公司早在2021年4月就因通过登记的住所或经营场所无法联系,而被深圳市市场和质量监督管理委员会福田局列入企业经营异常名录,且至今未被移除。

图片


围绕着该公司还有裁判文书传出,据《成都市誉馨包装制品有限公司与深圳市体香生物科技有限公司定作合同纠纷一审民事判决书》显示,经审理查明,2019年11月19日,包装公司与科技公司签订《印刷品销售合同书》,12月11日,包装公司按照科技公司要求向四川百年皇坛酒业有限公司交付产品,包装公司工作人员与科技公司员工多次通过微信协商付款事宜但没有结果。法院最终判决被告深圳市体香生物科技有限公司向原告成都市誉馨包装制品有限公司支付款项54万元,以及利息。

图片


图片

?并非药品

图片


说到体香科技,早在尊品卓雅时期,尊品卓雅公司官方于2020年9月在某视频平台发布的宣传片中,就存在着关于该公司旗下的多款产品的包装,如“体香口服液”等,在宣传片中,该产品被包装出了“防癌抗病”的神奇功效。

图片


而事实上,体香科技公司仅拥有生产食品的资质,经营范围并不包含生产经营药品。根据规定,上述广告宣传的功能主治、适用范围超出了批准的内容,并含有不科学地表示功效的断言和保证等内容,严重欺骗和误导消费者。我国《广告法》第十七条规定,除医疗、药品、医疗器械广告外,禁止其他任何广告涉及疾病治疗功能,并不得使用医疗用语或者易使推销的商品与药品、医疗器械相混淆的用语。

我国《药品管理法》第六十一条规定:非药品广告不得有涉及药品的宣传。2015年修订的《食品安全法》第七十三条也有明确规定,食品广告的内容应当真实合法,不得含有虚假内容,不得涉及疾病预防、治疗功能。

至于如此进行虚假宣传的后果,《广告法》第五十五条第一款规定,违反本法规定,发布虚假广告的,由工商行政管理部门责令停止发布广告,责令广告主在相应范围内消除影响,处广告费用三倍以上五倍以下的罚款,广告费用无法计算或者明显偏低的,处二十万元以上一百万元以下的罚款。

经过进一步调查,我们发现官方公众号“尊品卓雅”至今只发布过一篇文章,阅读量不到三十,如此看来,“尊品卓雅”这个项目可以说是开盘即死盘。

图片


在本篇报道中,我们了解到了尊品永耀有着怎样的“历史”,以及关联企业存在哪些问题,在下篇报道中,我们将着重关注的是尊品永耀现行的拨比高85%的奖金制度有何特色,请继续关注微商电商调研。

食品宣传具有防癌抗病功效,尊品永耀对比尊品卓雅有了哪些变化?:http://www.fcxcn.cn/shehuiguanzhu/3944.html
反传销:www.fcxcn.cn 反传销柔儿团队主要负责寻人,上门反洗脑,现场解救劝说。团队长期在北海现场解救1040阳光工程,资本运作传销受害者,以及全国各地协助家属寻找北派传销的孩子(因传销而常年未回家者,被控制人身自由的人群),反传区域涉及:广西,广东,深圳,福建,江西,湖南,香港,浙江.附近有需要求助可与我们联系,孙老师13712257511
0