买黄金送金劵,恒辉珠宝是怎样把“黄金返利模式”当作摇钱树的?

首页 > 社会关注
编辑:广东反传销救助中心 日期:2021-10-10T14:4:17 人气:52

众所周知,黄金是特殊的商品,具有商品属性、货币属性和金融属性,是具有战略意义和重要价值的资源。黄金的流通对货币市场、金融市场、商品市场发挥着重要作用。有业内人士指出:“黄金与外汇等其他商品相比,黄金地位之高,超过了任何一个单一商品,黄金不可磨灭的价值正在被大众认识。”近几年来,我国的黄金投资市场也越来越被来自全国各地的投资客们所重视。


“健康理财,谁懂谁就来,健康理财,智者快快来,恒辉恒辉,来到就起飞,恒辉恒辉,落地生辉,黄金在手,应有尽有”、“买黄金送健康;买黄金送金券”……近期,携着这样的广告语走入不少人朋友圈中的“天津恒辉珠宝”凭借其特殊的投资方案已然吸引来了不少的关注。那么恒辉珠宝到底该怎么投资,参与者从中能拿到哪些收益?为何恒辉珠宝这个项目已遭多方预警?在其他平台上购买黄金产品只需37300元,但在恒辉易购这个平台上需要60900元,为什么在多出来的差价如此明显的情况下,还有投资人愿意“飞蛾扑火”?为恒辉珠宝背书的恒辉集团是成立已久,还是在项目起盘前“临时抱佛脚”地注册了多家子公司?



操盘团队,现状如何





据公众号“恒辉黄金运营中心”介绍,“恒辉黄金珠宝有限公司”是恒辉珠宝的经营主体,该公司隶属于恒辉集团100%控股,简称恒辉珠宝,是集黄金珠宝+金融和实业为一体的跨区域综合性集团公司,恒辉集团旗下有六大知名板块,金银珠宝,人力资源,医药科技,供应链服务,信息服务,文化传媒。


图片



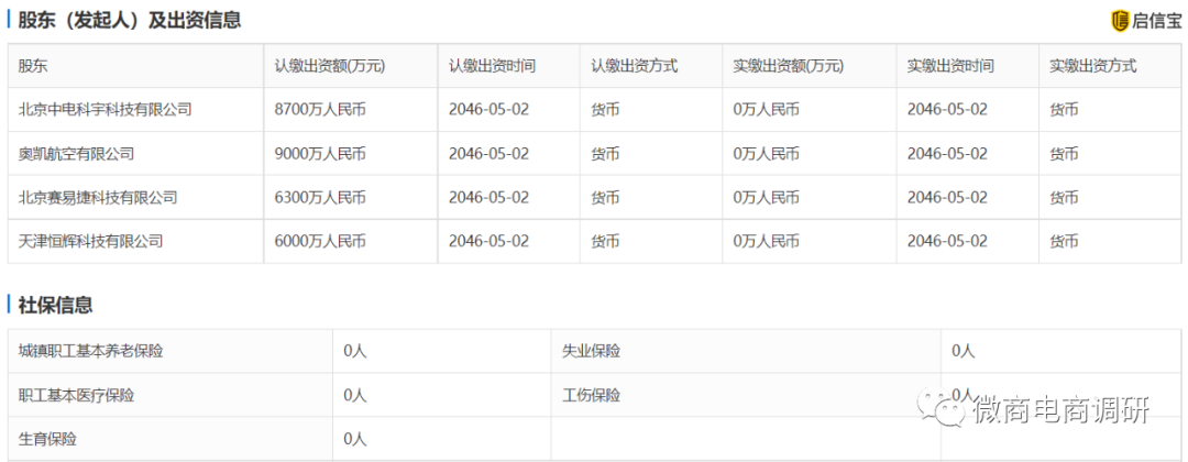
调查发现,恒辉(天津)珠宝有限公司才是恒辉珠宝这个项目真正的运营方,该公司成立于2021年4月2日,法定代表人杨兰森,为恒辉集团有限公司的全资子公司,王文章为监事。恒辉集团有限公司成立于2016年5月3日,原名天津恒辉电子商务有限公司(2021年4月才更名为集团公司),法定代表人王文章,股东有奥凯航空有限公司、天津恒辉科技有限公司、北京赛易捷科技有限公司、北京中电科宇科技有限公司,虽然该公司高达15亿元的注册资本以及股东名单被有关宣传材料大书特书……


图片


图片


不过据2020年度报告显示,该公司股东在当时的实缴出资额为0元,参保员工也为0人。


图片



在操盘团队方面,董事长为李忠勋,副董事长为卢成彬,王磊、杜梦然、赵颖为总经理,郭巨涛、潘学峰为项目经理。


图片

图片



与这份资料形成鲜明对比的是有关工商信息登记的团队成员名单,这份名单与上述内容明显存在出入:董事长为王文章,杜梦然为经理,杜明、李忠勋为董事,吴桂清为监事。但无论如何,可以定论的是恒辉珠宝这个项目的操盘团队基本上还是这群人。


据企查查显示,总经理杜梦然曾被天津市滨海新区人民法院列为被执行人。


图片



董事杜明也存在被法院出示限制消费令的记录。


图片

图片



说完了管理层团队曾出现过的问题,接下来再说回公司本身,据《华行正和(天津)管理咨询有限公司,天津恒辉电子商务有限公司买卖合同纠纷的案件》显示,在刚刚过去的2021年8月31日,恒辉集团有限公司也已沦为被天津市红桥区人民法院公示的被执行人。


图片


(图片来源:企查查)



恒辉集团,临阵磨枪




据官方PPT显示,与恒辉(天津)珠宝有限公司一同隶属于恒辉集团的子公司还有多家名称中带有“健力康”这三个字的企业。


图片



调查发现,这些公司的成立时间都在2021年之后,且注册时间集中在3月下旬。


图片



(图片来源:企查查)


话说回来,这些公司的注册时间如此接近倒也不难理解,根据《企业集团登记管理暂行规定》规定,集团公司成立条件如下:1、企业集团的母公司注册资本在5000万元以上,并至少拥有5家子公司;2、母公司和其子公司的注册资本总和在1亿元以上;3、集团成员单位均具有法人资格。而从时间脉络来看,正是有了这些名称中带有“健力康”三个字的多家公司在此前的集体注册,天津恒辉电子商务有限公司才算是有了符合更名为恒辉集团的条件。


因而,推广人员口中的“恒辉集团通过近几年的发展已形成多项业务领域,其中包括医药科技,供应链配套服务,文化传媒等等”自然不攻自破。


图片



(资料来源:公众号“恒辉黄金运营中心”)


因为综上所述,恒辉集团旗下的涉及到各种各样领域的子公司本质上都是为了让恒辉公司更名为恒辉集团而成立的,而在几年之前恒辉公司更根本不是集团公司,上述说法明显因果错置,某些推广人员按照现有资料进行倒推,并不能还原出一个可靠的真相。


正是在恒辉集团的背书加持下,得益于如此“值得信赖”的品牌背景,恒辉珠宝这个项目在之后几个月的时间内才算是有机会步入到“高速发展”的阶段。


图片





投资方案,动静收益



恒辉珠宝之所以能在百余天之内做到令其官方满意的市场业绩,离不开以“买黄金拿返利”为卖点的运作模式。


图片



关于恒辉珠宝现行的奖金制度,公众号“恒辉黄金运营中心”所发布的资料《恒辉珠宝黄金金条零风险健康理财运营方案》是这样分析的:


购买1克黄金是541元+68元的加工费=609元/1g,6090元购买10克黄金赠送9000金券(等值黄金),金券每天释放27券;60900元购买100克黄金赠送9万金券(等值黄金),金券每天释放270卷。以购买100克黄金为例:60900元打款到公司账户,公司给100克Au9999黄金实物。黄金有两个价格,一个是大盘价,每天价格不一样;另外一个是公司第三方市场回购价,每天价格也不一样。现在的回收价是370元/1g,100克卖掉是37000元。这个价格会随着每日金价有浮动,自己本地回收价格要低于公司第三方回收价格。


图片



以购买100g恒辉黄金投资金条为例,60900元购买100g实物金条到手,赠送90000金券,顾客的获利是每天释放270卷,静态333天(11个月)就能获等值的160克黄金,100g首购+160克等值黄金卖掉,回收价按370元/g计算,能卖96200元,减去60900元净赚35300元,11个月赚大于50%收益率。这个只是传统投资思维计算的收益方法,而我们投资恒辉黄金承担的风险实际只有23900元(首购100g回收价37000元)。每天释放270金券,23900只需要88天拿完(纯投资88天风险)。此外,还有加速释放模式,分享一个朋友购买100g恒辉黄金,帮你加速270,自己实际每天释放540金券,释放时间缩短一半(44天释放拿完)。


从另一个角度看,《恒辉黄金互联网+金店运营政策》还有更加具体的解读:


黄金单价:541元/g+68元手工费合计609元(根据市场价格调动)


一,购买数量:10g到1000g


购买10g到1000g现货黄金金条到手(3-5天顺丰快递到家)。

赠送收益:获赠1.5倍金卷(一克赠送900金卷)。

金卷收益:预值(1金卷≈1元),投资收益赠送举例:买100克X900卷=90000金卷,金卷每天赠送270卷(3‰/每日),90000券赠送完为止(1.5倍赠送收益)。


二,分享加速直接收益的100%天天加速。


三,云店加速商家销售推荐收益:金卷奖励/实时商家销售


V1:销售总额满100g后可享受销售总额10%金卷加速分享红利/日。

V2:市场销售总额满500g后可享受销售总额20%金卷加速分享红利/日。

V3:市场销售总额满3000g后可享受销售总额40%金卷加速分享红利/日。

V4:三个区有3个V3可享受销售总额60%金卷加速红利/日。

V5:三个区有3个V4可享受销售总额80%金卷加速红利/日。

V6:三个区有3个V5可享受享受总额100%金卷加速红利。


四,商家销售平级收益:10%金卷加速分享红利/日。


五,辅导津贴


1.服务中心:一次性购买100克黄金,总业绩累计达到500克,享受公司给予的服务津贴:新增每克黄金奖励10元。可申请开工作室。

2.运营中心:网体三个服务中心,享受公司给予的运营津贴:新增业绩每克黄金奖励15元。

3.区代理:网体三个运营中心,享受公司给予的管理津贴:新增业绩每克黄金奖励20元。

4.市代理:网体三个区代理,享受公司给予的管理津贴:新增业绩每克黄金奖励25元。


六,推荐服务中心,享受服务中心奖励的10%收益,推荐3个服务中心,破格升级为运营中心。


七,车房奖励(待定)


对于上述模式,本平台也请来了行业专家对其进行分析,该专家指出:“恒辉珠宝属于典型的以定额返利为诱饵的资金盘模式,原因有以下四点:一,总计260%(150%的定额返利、110%的拉人头团队计酬奖金拨出)的拨出是任何商业模式都难以实现的;二,门槛费、拉人头、多层次、团队计酬概念十分清晰,所谓的黄金只是道具;三,类似骗局在近十年内屡见不鲜,结局都是投资人血本无归,官司不断;四,此类商业模式的设计者大多是传销出身,歪曲篡改消费资本论的概念。此类项目的结局,要么崩盘跑路,要么涉传被打击,然后老板认罪认罚,从轻发落,投资人倒霉维权无门,因为涉传案件不返还投资款。甚至项目方圈钱到一定额度并转移藏匿后,主动被打击,倒霉的必然是绝大部分投资人,有极少数网头能获取到拉人头的不义之财。”




多方预警,违规宣传




如今,在由聚优传媒舆情监测中心与防传管家共同推出的《投诉举报统计》(统计来源于反传销网旗下各网络咨询平台及反传销网咨询部接到的关于对各类疑似资金盘,网络传销、非法直销、非法集资等情况登记)当中,“恒辉珠宝”已然是榜上有名。


图片



公众号“互联网行业前沿资讯”也曾指出:在2021年7月份,宣称在内排期的恒辉珠宝开启,这个以“消费返利”理论为基础的黄金返利盘以“恒空出世 辉煌腾达”的口号走进黄金返利盘的传销圈,本质是资金盘,打着销售黄金的口号进行非法吸收公众存款。据知情人士透露,目前该公司已被多地市场监管部门约谈或者开展调查,引发监管部门高度关注,且该公司有可能会停盘,值得投资人高度警惕。


虽然截止2021年10月上旬,该项目仍在正常运营,但我们在调查过程中,另外还发现如今某位恒辉珠宝的推广人员的账号已经被微信官方的“防欺诈提醒”的相关页面提示出了异常状态。


图片



此外,在公众号“恒辉黄金运营中心”提供的有关恒辉珠宝项目的介绍材料中,我们还发现“0风险”这个字眼出现在了十分显眼的地方。


图片



我国《广告法》第二十五条对于投资理财类广告有明确约束:“招商等有投资回报预期的商品或服务广告,应当对可能存在的风险以及风险责任承担有合理提示或者警示,并不得含有下列内容:一是对未来效果、收益或与其相关的情况作出保证性承诺,明示或者暗示保本、无风险或者保收益等;二是利用学术机构、行业协会、专业人士、受益者的名义或者形象作推荐、证明。”


说到违反《广告法》的宣传,在有关PPT资料中,我们还看到了“第一品牌”这个宣传语。


图片



根据《广告法》规定,该法所禁止的绝对化用语并不限于所列举“国家级”、“最高级”、“最佳”这三个用语,与此类似的“最高级”、“最佳”含义相同或近似的最高级形容词“最”字用语都属于绝对化用语,而“第一”明显属于《广告法》中的违禁词。


至于“打造第一品牌”这种表示愿景的说法是否违规,也曾有网友在“法律快车”网站上进行咨询,对此,该网站中的三位律师都不约而同地表示这种宣传同样属于违反《广告法》的行为。


文章的最后,我们再来比较一下恒辉珠宝的投资者们拿到手里的AU9999黄金的价格是否有问题,要知道,在恒辉珠宝的平台上,购买100g这样规格的产品需要60900元,而在其他电商平台当中,购买这样的产品只需要37300元。


图片



差价如此悬殊,可以预见的到,那一部分比正常的金价多出来的钱,其实就是用以买之后关于返利的收益,和黄金本身倒也没太多关系了,这样来看,这个项目的核心到底是在黄金本身,还是在于返利模式涉及的预期收益,恐怕是仁者见仁智者见智了。


图片



(图片来源:恒辉商城)



后 记




事实上,恒辉珠宝所推行的这个模式也早已有“先行者”与“同行者”走在前头或身侧,“万甲黄金”便是其中之一。通过参与者发布在“万甲黄金”贴吧中的模式进行对比,我们不难发现其中的共通之处,把图中的“金豆”当作“金券”来看也毫无违和感。事实上,近几个月以来,类似的“黄金返利盘”已如雨后春笋般遍地生根,不久前同样已遭媒体曝光的“同富金业”的本质也无外其中。


图片

图片

图片

图片



(图片来源:“万甲黄金”贴吧)


早在多年前,新华社就曾以《揭秘以黄金理财为名的非法集资骗局》为题对类似的黄金投资骗局发声预警:专家建议加强非法集资类案件的法制宣传,警方提醒,投资者要认清非法集资的本质和危害,提高识别能力,不要相信“天上会掉馅饼”,远离所谓“高额回报”“快速致富”的投资项目。


至于以买黄金送黄金为噱头的返利盘们各自会迎来怎样的结局?恒辉珠宝在今后会如何发展?“线上让利销售引流线下1000家实体金店落地,合伙人制开金店;助推恒辉黄金珠宝公司3年IPO上市”等目标能否顺利实现?对此,微商电商调研将继续保持关注。

买黄金送金劵,恒辉珠宝是怎样把“黄金返利模式”当作摇钱树的?:http://www.fcxcn.cn/shehuiguanzhu/3986.html
反传销:www.fcxcn.cn 反传销柔儿团队主要负责寻人,上门反洗脑,现场解救劝说。团队长期在北海现场解救1040阳光工程,资本运作传销受害者,以及全国各地协助家属寻找北派传销的孩子(因传销而常年未回家者,被控制人身自由的人群),反传区域涉及:广西,广东,深圳,福建,江西,湖南,香港,浙江.附近有需要求助可与我们联系,孙老师13712257511
0