旗下产品发布严重违法药品广告,南京同仁堂为何遭遇两次行政处罚?

首页 > 社会关注
编辑:广东反传销救助中心 日期:2021-10-26T11:8:13 人气:66

随着手机和电脑不断占据了我们的日常生活,低头族们的腰,颈,肩普遍存在或轻微,或严重的各种问题。综合下来,以我国大陆地区共13亿4000万人口来说,按40%的总发病率,各类不同程度的风湿骨病患者高达5亿人以上。风湿骨病市场,毫不夸张的说,实在是无比庞大。

而以“诚信为本,质量为天,用心服务,品类齐全”为经营特色的南京同仁堂号称可以解决国民风湿骨痛等问题,并为此研发了南京同仁堂植物修护精油来治疗该种病症。那么,南京同仁堂是一家怎样的企业?该公司为何遭到两次行政处罚?该公司的宣传广告为何构成严重欺诈行为?该公司的植物修护精油(后称修护精油)是否存在虚假宣传?有关奖金制度如何解读?

图片


股权纠纷,企业吊销


据查,南京同仁堂药业有限责任公司(后称南京同仁堂)是一家以现代科技生产古方传统品种和综合新剂型,集科、工、贸为一体的中药企业。根据企查查资料显示,该公司创立于1998年11月9日,总部位于江苏南京西麓。该公司的注册资本为5000万元,实际出缴资额为5000万元,法定代表人为浩健。

关于南京同仁堂的股权变更问题,由启信宝资料得知,南京同仁堂2020年9月22日存在股权变更。其中,关彦明的股权占比由原来的35%变为0%、红石国际健康产业有限公司的股权占比由原来的20%变为55%。在当时,南京同仁堂的股东分别为:关玉白、红石国际健康产业有限公司。

图片

(图片来源:启信宝)

最新变更记录显示,2021年5月20日,关玉白退出,青岛宝昊科技有限公司与红石国际健康有限公司成为南京同仁堂的最终投资人。青岛宝昊科技有限公司与红石国际健康有限公司(后称红石公司)的持股比例分别为45%和55%。

图片

图片


在此之后,我们调查了南京同仁堂的股东之一——红石公司。经查发现,红石公司与成都蓉药实业集团有限公司(后称蓉药公司)于2017年11月22日存在股权转让的纠纷,最终红石公司败诉并赔偿蓉药公司人民币共91,041.41元。

图片

(图片来源:启信宝)

说完了南京同仁堂的股权问题,接下来,我们来看看南京同仁堂的公司成员。南京同仁堂公司的主要成员有:孙怀东(董事长)、浩健(董事兼总经理)、关玉白(董事)等。

图片

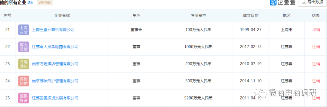
作为南京同仁堂的董事长,孙怀东名下共有25家企业,其中一家企业处于吊销状态,另外5家企业处于注销状态。

图片

图片


(图片来源:企查查)

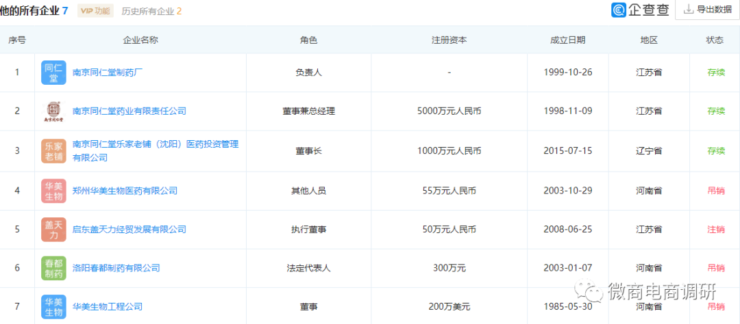
南京同仁堂的法定代表人——浩健名下共有七家企业,其中三家企业处于吊销状态,一家企业处于注销状态。

图片

(图片来源:企查查)


对外投资,行政处罚



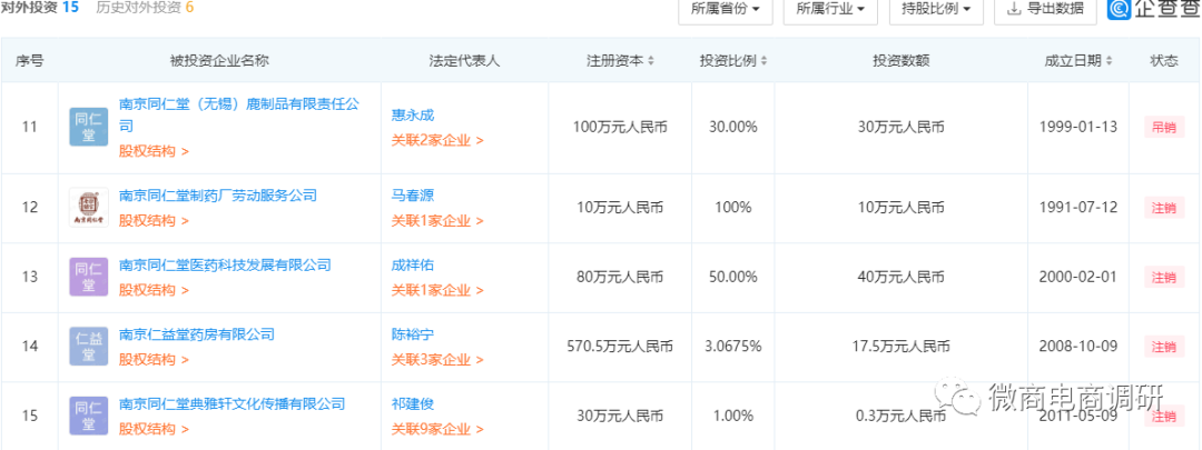
了解了南京同仁堂内部架构后,接下来我们看同仁堂对外的投资情况。根据企查查资料显示,南京同仁堂对外投资共15家企业,其中一家企业处于吊销状态,四家企业处于注销状态。

图片

(图片来源:企查查)

而同仁堂投资的南京同仁堂绿金家园保健品有限公司(后称绿金家园公司)曾遭到五次行政处罚。

(图片来源:企查查)

绿金家园公司分别于2020年12月7日、2021年1月22日、2021年3月2日因标签、标示、说明书不符合规定的行为及从属受到罚款共38000元、没收违法所得共1617元、责令停止违法行为。于2020年6月18日因作虚假或者引人误解的商业宣传行为及其从属受到罚款100000元,于2021年1月22日因生产经营国家禁止的食品、食品添加剂、食品相关产品的行为及其从属受到罚款80000元、没收违法所得127.8元。

图片



(图片来源:企查查)

且绿金家园公司在2020年6月4日因自身失信被限制高消费。

图片

(图片来源:企查查)

该公司还欠城市维护建设税共99610.44元。

图片


(图片来源:企查查)

说到行政处罚,南京同仁堂曾先后遭到两次行政处罚。据企查查显示,南京同仁堂于2021年4月28日因固体废物污染被处罚款人民币10.9万元并责令改正;于2019年7月2日遭到行政处罚,处罚原因为该公司使用了未经定期检验的压力容器,违反了我国《特种设备安全法》,因此,处罚机关——南京市雨花台区市场监督管理局对南京同仁堂实施罚款人民币10000元、停止违法行为的处罚内容。

图片

(图片来源:启信宝)


投诉不断,构成欺诈



说完了南京同仁堂的发展历程,接下来我们看看南京同仁堂的对外宣传。通过黑猫投诉,我们看到南京同仁堂国医馆的投诉量多达24条。投诉内容多为南京同仁堂国医馆售卖假货,欺骗消费者,造成消费者身体以及精神上的创伤。

图片

(图片来源:黑猫投诉)

且投诉南同仁堂国医馆虚假宣传的投诉量达到了20条。国医馆的产品出现多种问题,南京同仁堂国医馆对此却不做处理,不仅辱骂客户,还下架商品,或是更改商品宣传,更甚至是注销店铺。

图片

(图片来源:黑猫投诉)

而国医馆的冬瓜荷叶茶、南京同仁堂清新美白小牙膏等产品存在虚假宣传、欺骗消费者的行为。

图片

图片


(图片来源:黑猫投诉)

根据我国《广告法》第四条规定:广 告不得含有虚假的内容,不得欺骗和误导消费者。第十九条规定:食品、 酒类、化妆品广告内容必须符合卫生许可的事项,并不得使用医疗用语或者与药品混淆的用语。《食品广 告法》第七条规定:食品广告不得出现与药品相混淆的用语,不得直接或者间接地宣传治疗作用,也不得宣传某些成份的作用明示或者暗示该食品的治疗作用。第十三条规定:普通食品、新资源食品、特殊营养品广告不得宣传保健功能,也不得借助宣传某些成份的作用明示或者暗示其保健作用。以普通食品宣称疗效,对广大患者构成误导和欺诈。根据我国《消费者权益保护法》第五十五条规定:经营者提供商品或者服务有欺诈行为的,应当按照消费者的要求增加赔偿其受到的损失,增加赔偿的金额为消费者购买商品的价款或者接受服务的费用的三倍,增加赔偿的金额不足无百元的为无百元。

且据搜狐网显示,2013年7月25日,南京同仁堂药业有限责任公司生产的“痔疮止血颗粒”被曝光存在严重欺骗、误导消费者的情节,被重庆市食品药品监督管理局要求暂停销售。

图片


(图片来源:搜狐滚动)

记者从重庆市食品药品监管局网站曝光了一批违法发布药品广告的行为,其中,标示为“南京同仁堂药业有限责任公司”生产的“痔疮止血颗粒”被曝于2012年10月至2013年6月期间多次在重庆市媒体上发布严重违法药品广告,构成严重欺骗、误导消费者的情节。在该局2013年第2期违法药品医疗器械保健食品广告公告中显示,南京同仁堂药业有限责任公司生产的药品“痔疮止血颗粒”,其功能主治为“清解湿热,凉血止血。用于痔疮少量出血”。广告宣称“无论多么严重的痔疮,吃同仁堂痔疮止血颗粒,只需用水冲一杯下肚,立刻不痛,不痒,舒舒服服就能把豆大的痔疮治干净,效果和手术一样好”。该药品未取得药品广告批准文号长期多次发布虚假药品广告,以患者名义或形象为产品功效作证明,含有不科学地表示功效的断言或保证和促销药品等内容,严重欺骗和误导消费者。

图片

标示该药品的药店为重庆市南坪华博健康药房、沙坪坝全发大药房、江北万鑫药房黄金海岸店和杨家坪天吉药房,违法广告发布次数为6次。根据《药品广告审查办法》和《药品广告审查发布标准》等相关规定,重庆市局研究决定对这些药品在重庆辖区内采取暂停销售措施。

然而,这并不是南京同仁堂痔疮止血颗粒首次在渝被查广告违法。今年4月份,该款药品广告以同样的原因上榜该局违法药品广告“黑名单”。事实上,在渝欺骗和误导消费者,仅是南京同仁堂痔疮止血颗粒多次广告违法的一例。中国网财经记者查阅资料发现,大江南北都可觅其违法广告踪迹,近年来屡遭地方监管部门查处。2013年以来,该药品不仅在重庆两次被查广告违法,而且还在福建、海南两省三次上榜违法药品广告名单。福建药监局指出,其广告违法内容为“表示功效的断言和保证”。2012年,南京同仁堂该款药品先后在广东、山东、安徽、天津、云南等省市被公开通报广告违法。在2012年济南市的定期违法药品广告通报中,南京同仁堂痔疮止血颗粒更是连续五次榜上有名。同样,其违法内容为“利用患者名义作证明的内容,不科学地表示功效的断言或者保证”。据记者不完全统计,近五年来,南京同仁堂该款产品的违法广告22次遭到地方监管部门查处,其中3次被暂停销售。

值得注意的是,由于在全国多地发布“篡改经审批的内容、绝对化夸大药品疗效、任意扩大药品适应症范围”的广告,南京同仁堂该款产品的广告批准文号已于2012年5月被撤销。

在本篇报道中,我们了解到了南京同仁堂内部的股权存在怎样的问题,也了解到南京同仁堂对外投资的企业存在的风险。更重要的是,我们了解到了南京同仁堂旗下产品——痔疮止血颗粒中存在的欺诈行为。在下篇报道中,我们将继续关注南京同仁堂旗下产品——南京同仁堂植物修护精油中所存在的广告宣传上的问题,以及相关奖金制度,请持续关注微商电商调研。


版权所有,未经授权,禁止转载!

旗下产品发布严重违法药品广告,南京同仁堂为何遭遇两次行政处罚?:http://www.fcxcn.cn/shehuiguanzhu/4167.html
反传销:www.fcxcn.cn 反传销柔儿团队主要负责寻人,上门反洗脑,现场解救劝说。团队长期在北海现场解救1040阳光工程,资本运作传销受害者,以及全国各地协助家属寻找北派传销的孩子(因传销而常年未回家者,被控制人身自由的人群),反传区域涉及:广西,广东,深圳,福建,江西,湖南,香港,浙江.附近有需要求助可与我们联系,孙老师13712257511
0