普通食品并不具备减肥作用,巅峰燕云现行双轨制有何特色?

首页 > 社会关注
编辑:广东反传销救助中心 日期:2021-10-30T9:39:22 人气:54

近年来,世界各地的肥胖人口正不断增多,数据表明,截止2020年12月,我国肥胖人数已接近3亿,其中成年居民超重肥胖率已超50%,6岁-17岁儿童青少年超重肥胖率近20%,6岁以下儿童超重肥胖率达10%。在这样的背景下,国内的减肥行业也被视作是朝阳行业,入局其中的减肥品牌也越来越多,“巅峰燕云”便是其中之一。

那么,巅峰燕云到底有着怎样的公司背景?“美寸轻体”这款固体饮料是否具有“事半功倍的减脂效果”,能给消费者带来“全新的减肥体验感”?巅峰燕云的前身燕云国际曾推出的“轻脂瘦爱瘦”最终迎来了怎样的结局?“轻脂瘦爱瘦减脂饼干”又是否存在虚假宣传现象?成为巅峰燕云的代理之后,会有怎样的收益可拿?

图片

品牌背景,操盘其人

据公开资料显示,巅峰燕云隶属于上海巅峰健康科技股份有限公司,致力于用科学的方式、成套的减重技术和一对一的服务跟进方案,帮助肥胖人群摆脱肥胖困扰,这是一家累积帮助400万人瘦下来的双国标制定单位,行业累积16年减下来的脂肪达到20000吨的科学减脂公司。

经查,上海巅峰健康科技股份有限公司曾用名众多,包括上海巅峰体育管理股份有限公司、上海巅峰体育管理有限公司、上海沪康体育健身管理有限公司、上海沪康体育健身咨询有限公司等,成立于2005年,该公司法定代表人余安奇,股东有余安奇、袁文顺、戴文涛、冯磊、青岛劲邦创业投资合伙企业(有限合伙)、上海光大体育文化投资合伙企业(有限合伙)、上海沁体企业管理合伙企业(有限合伙)、彭伟青、范南,注册资本1000万元。

另外,还有资料显示,上海巅峰燕云健康科技有限公司才是巅峰燕云真正的经营主体,上海巅峰燕云健康科技有限公司由体重控制管理行业领军品牌巅峰减重与新零售明星燕云国际合资创办,深耕体重控制管理领域中营养干预为主的蓝海市场,专注于通过科学、合理、健康、个性化的饮食和生活方式干预,帮助客户预防和改善肥胖体质,提高生命质量,重获健康好身材,公司主打品牌“美寸轻体”,品牌英文名字“MeSize”(英文的意思是“完美尺寸”)。

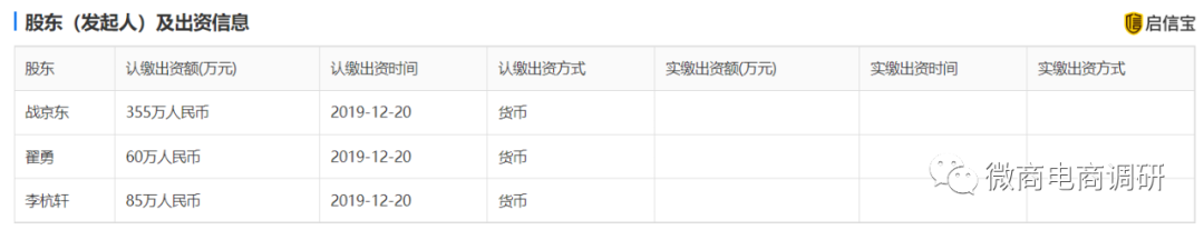
经查,该公司成立于2019年3月4日,法定代表人战京东,股东有战京东(大股东)、李杭轩、翟勇,注册资本500万元,上海巅峰健康科技股份有限公司在2020年前曾是该公司股东,据2020年度报告显示,巅峰燕云公司股东在当时的认缴、实缴出资情况如下:

图片

在管理层方面,战京东是该公司的执行总裁、CEO,除了在巅峰燕云公司里的职务外,据公开资料显示,她还是北京中医疑难病研究会常务理事、健康体重调控协作委员会会长、辽宁省公益养老基金创始人、沈阳市沈河区政协委员、和商联盟联合创始人。近年来,她又先后荣获“中国诚信企业家”、“全球电商风云人物”、“2020中国新零售十大操盘手”等荣誉称号。

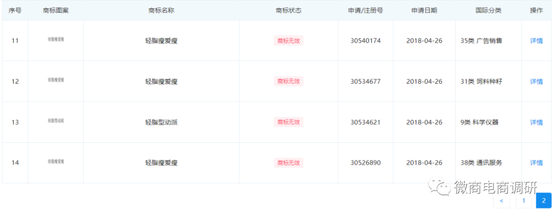
前文提到了巅峰燕云是巅峰减重和燕云国际合资创办的,那么燕云国际在此前又有着怎样的故事呢?据悉,燕云国际此前的经营主体为辽宁燕云健康管理有限公司,沈阳京东商贸有限公司为该公司的大股东,而这家公司的法定代表人正是战京东。燕云国际此前销售的品牌名为“轻脂瘦爱瘦”,产品为一款“代餐减脂饼干”,不过据企查查显示,辽宁燕云健康管理有限公司在2018年申请的一系列关于“轻脂瘦爱瘦”的商标都还处于“商标无效”的状态,该公司已于去年注销。

图片

饼干、饮料,减肥功效?

接下来,我们将主要关注的是巅峰燕云旗下的产品——美寸轻体。经销商提供的宣传材料不止一次地带有暗示性质地展示出该产品具有减肥功效,比如“美寸轻体的健康品牌已累计帮助350万人次消灭脂肪17500吨”、“给你全新的减肥体验感”。

图片

在某次体验活动中,也有宣传材料明确指出该款产品具有“事半功倍的减脂效果”。

图片

但归根结底,真正具有减肥作用的是配合美寸轻体这款产品食用的“方案”和“餐谱”,即官方口径下的——“美寸四维一体模式是通过:美寸营养代餐粉+美寸减肥法+美寸减肥APP+美寸轻体俱乐部四维一体化的全新模式。从营养干预、饮食习惯干预、APP指导和人工指导四个方面帮助客户健康、轻松的减掉体重达到理想身材。”





据产品外包装显示,美寸轻体这款产品的产品全称为“美寸轻体分离牛奶蛋白营养餐”,生产许可证编号为SC12731011700329,生产企业为上海首源生物技术有限公司分公司,委托商为上海巅峰燕云健康科技有限公司,产品类型为固体饮料,可见,该产品属于普通食品,并非保健食品。


图片


再说回燕云国际时期所销售的“轻脂瘦爱瘦减脂饼干”,这款饼干本质上也是普通食品,但其功效却被包装得具有调节血糖、缩胃、减掉多余脂肪等包括减肥在内的多重功效。


图片



公众号“聚美国际公司”(该公众号的认证主体为辽宁聚美生物科技有限公司,该公司的子公司沈阳聚美商贸有限公司为辽宁燕云健康管理有限公司的小股东)的宣传下,声称这款饼干“特别能够减少内脏脂肪、有效减脂、效果绝对立竿见影”、“调节人体酸碱平衡、免疫力以及内分泌”的说法也是比比皆是。


图片


图片


根据国家食品药品监督管理总局关于保健食品的相关规定,具有“减肥”功效的食品一律归为“保健食品”。《食品安全国家标准预包装食品标签通则》(GB7718-2011)同时规定,非保健食品不得明示或者暗示具有保健作用。当非保健食品广告宣传保健功能时,可依据《广告法》第九条第(十一)项的规定以及《食品安全法实施条例》规定禁止的情形对其定性。食品广告宣传保健功能,是对其性能和功能的一种描述。《广告法》第二十八条第二款第(二)项规定,商品的性能、功能与实际情况不符,对购买行为有实质性影响的,可以认定为虚假广告。非保健食品广告宣传保健功能,是对食品本身性能和功能的虚假描述,容易引起消费者的误解,可以虚假广告对其定性。


此外,在官方微博“巅峰燕云”的介绍下,各种减肥案例也是层出不穷。


图片

图片

图片


在公众号“巅峰燕云美寸轻体”的包装下,这样的案例也是屡见不鲜。


图片

图片


而利用所谓案例来证实相关食品或方案具有减肥作用的宣传行为从燕云国际时期就早已有之,综上所述,上述案例的出现,还有可能将涉及使用他人名义保证或以暗示方法使人误解其效用的行为。有业内人士指出,任何产品的广告都应当真实、合法,不得使用他人名义保证或者暗示产品功效误导消费者。这也就是说,如果有消费者误以为是“美寸轻体分离牛奶蛋白营养餐”具有减肥作用,那就大错特错了。


当然,在当下的互联网中,也有不少带有巅峰燕云和美寸轻体图标的资料,都在正面证实着科学减脂不等于代餐减肥的说法,这也代表着很多巅峰燕云经销商与美寸轻体的体验者都认可让消费者达到减肥目的的是搭配产品使用的“减肥方案”,而非“代餐产品”本身。




在知乎平台上,也有自称是参加过巅峰燕云减肥大赛的答主对巅峰燕云和美寸轻体的减肥功效表示不认可。


图片

图片



生产厂家,屡遭处罚



顺带一提,作为美寸轻体生产厂家的上海首源生物技术有限公司分公司,在过去数年间也是屡遭处罚,处罚的原因也与其生产出来的食品有关,经过进一步的调查,我们发现这三纸处罚决定书所指向的关键词分别对应的也正是美寸轻体身上的几大标签——“减肥”、“代餐”、“固体饮料”。


2014年,“上海首源生物技术有限公司分公司生产经营禁止生产经营食品案、采购或使用不符合标准的食品原料案”引发了广泛关注,经上海市食品药品检验所检验,当事人生产的减肥类保健食品“全天牌纤乐冲剂”(批号20140415-1)检出减肥类药物非法添加N,N-双去甲基西布曲明,该批次产品所使用原料“羟基柠檬酸钙”(生产日期2013年11月03日)检出N,N-双去甲基西布曲明,当事人采购或使用的其他两批次原料“羟基柠檬酸”(生产日期2013年06月08日、2014年01月22日)均检出N,N-双去甲基西布曲明,当事人生产的减肥类保健食品“女人缘牌减肥胶囊”(生产日期20140422)检出减肥类药物非法添加N,N-双去甲基西布曲明。


图片


(图片来源:企查查)


2019年,“关于上海首源生物技术有限公司分公司生产标签不符合法律法规规定的食品案”得以公示,经查证,当事人受思畅信息科技(上海)有限公司浦东分公司公司委托,生产了碧可轻纳豆绿茶复合代餐份(规格:12g袋*15袋盒)3385盒,原料和包材均由委托商提供。当事人生产的碧可轻纳豆绿茶复合代餐粉包装形式为长方体纸盒包装,共6个版面,有2个版面标示了食品名称,其中有一个版本既标示了食品名称和产品属性:植物固体饮料,在另一个版面仅标示食品名称,未标识产品属性。该行为违反了《食品安全国家标准预包装食品标签通则》(GB7718-2011)4.1.2.1的规定。


图片


(图片来源:企查查)


在几个月前的2021年4月,该公司又因生产经营标签、说明书不符合法律法规规定的食品、食品添加剂的违法行为而遭到上海市松江区市场监管局的处罚。经查证,当事人生产的产品舒克幽TM复合益生菌粉固体饮料(净含量:40 克(2 克*20),批号:2020S09025S-2)的包装标签配料表标示:“乳糖醇、低聚半乳糖、百香果果汁粉(百香果浓缩汁、麦芽糊精)(5%)、壳寡糖(5%,食用量≤0.5 克/天)、嗜酸乳杆菌(5%)、猴头菇粉(5%)、蔓越莓粉(蔓越莓浓缩汁、麦芽糊精)、魔芋粉、STP2 乳酸菌粉(嗜酸乳杆菌、植物乳杆菌)(3%)、茶多酚(0.1%)”。但实际上,当事人在进行上述批次产品投料的时候猴头菇粉的添加量并未达到标签中所标示5%猴头菇粉的含量,同时,上述批次产品的标签配料表也未按照原料加入量的递减顺序一一排列。


图片



揭底模式,收益可观



文章的最后,我们再来关注一下巅峰燕云所推行的奖金制度该如何解读。对于如何代理美寸轻体这款产品、成为巅峰燕云经销商后有何收益这些问题,经销商阿倩(化名)提供了相关PPT资料进行解读。


图片

图片


据资料介绍,美寸轻体的产品零售价为880元一盒,购买3盒需2640元,成为普卡会员;购买6盒需5280元,成为金卡会员;购买12盒产品需10560元,成为钻卡会员。成为会员后主要有四大奖金可拿,分别是市场拓展奖、市场辅导奖、市场建设奖、终身成就奖。


图片

图片


对于上述制度,本平台也请来了行业专家对其进行解读,该专家从以下几点进行了系统性的分析:


一,这是一个典型的双轨制商业模式,门槛费、拉人头、团队计酬概念突出,涉传风险极大,且极具欺骗性。因为PPT第一页的“无投资、无风险、无压力”的概念与后续内容是不符的,尤其明显的是“净营业额”概念实质就是给真实营销业绩打了折扣而已,也就是行业内俗称的PV值,并且该PV值竟然达到68%,实在是突破行业先河,开局就是一个核算逻辑陷阱。


二,市场拓展奖(行业通称碰对奖)日封顶额是对应经销资格消费额的两倍,是绝对崩盘的。如遇恶意排网,项目方必亏无疑。如奖金日结并尤其允许奖金对冲报单,排网成本低,一次投入可连续循环排网。


三,市场辅导奖部分,有明显的抄袭一某黑痕迹。所谓的100%、50%、30%就是数字陷阱,其计算依据其实是以市场拓展奖为依据的,而字面不做明确说明,实践中基本会解读成以业绩为依据或者“你赚你推荐的人的收入的1.8倍”,形成利益诱惑。另外,有双轨制经验的从业者会多层排网,自己拿自己的三阶辅导奖,导致团队矛盾频发,必然引发外事矛盾或团队分离。


四,市场建设奖是典型的虚假利益诱惑,看似躺赚,实际是不可能的。收益演示计算是明显的虚构,因为每层都排满是不可能的,行业实践中实现1%的可能性都不大。


五,整个模式抄袭痕迹明显,毫无专业度可言,法律风险极高。文字游戏和数字游戏陷阱并存,投资风险极大。


再说回有关资料列举的“无风险”这个关键词,也同样存在争议之处。对此,我国《广告法》第二十五条规定:招商等有投资回报预期的商品或者服务广告,应当对可能存在的风险以及风险责任承担有合理提示或者警示,并不得含有下列内容:(一)对未来效果、收益或者与其相关的情况作出保证性承诺,明示或者暗示保本、无风险或者保收益等,国家另有规定的除外。由此看来,上述宣传材料可能将违反《广告法》相关条例。


虽然产品明码标价是一盒880元,不过在某电商平台上,销售相关产品的店铺对其的标价却是千差万别,无论以何种规格来看待,这样的乱价现象在巅峰燕云的经销商团队当中可能也已然存在。


图片


接下来,我们再举几个例子,在A店铺上,美寸轻体标价为一盒268元;B店铺一盒338元,且买一送一;C店铺的一盒标价为238元;D店铺一盒的标价仅有99元。


图片




后 记



有数据显示,人体每增加5公斤体重,患冠心病的几率就将升高14%,中风危险率提高4%,缺血性中风提高16%。一个人会变胖还是变瘦,原理并不复杂。简单来讲,当一个人能量摄入大于能量消耗时,多余的能量便会形成脂肪。北京协和医院临床营养科副主任陈伟在央视节目中所提倡的减重方式其一是高蛋白饮食,这种过程中,每天只摄入一千大卡左右的能量,比正常人摄入量低三分之一到二分之一;第二种方法是轻断食,即一个礼拜只有两天少吃,这两天,要比平常吃得少三分之二,其余五天基本正常吃。


至于以“帮助一亿人远离肥胖,重获健康、美丽和自信”为企业使命、以“打造健康创业平台,帮助创业者实现财富自由”为企业愿景的巅峰燕云在今后会如何发展?对此,微商电商调研将继续保持关注。


版权所有,未经授权,禁止转载!

普通食品并不具备减肥作用,巅峰燕云现行双轨制有何特色?:http://www.fcxcn.cn/shehuiguanzhu/4190.html
反传销:www.fcxcn.cn 反传销柔儿团队主要负责寻人,上门反洗脑,现场解救劝说。团队长期在北海现场解救1040阳光工程,资本运作传销受害者,以及全国各地协助家属寻找北派传销的孩子(因传销而常年未回家者,被控制人身自由的人群),反传区域涉及:广西,广东,深圳,福建,江西,湖南,香港,浙江.附近有需要求助可与我们联系,孙老师13712257511
0