普通食品自称具有保健功效,圣缘太岁旗下消字产品还可改善白内障?

首页 > 社会关注
编辑:广东反传销救助中心 日期:2021-11-05T17:1:59 人气:28

太岁,又称肉灵芝。据百度百科显示,太岁是生长于地下且是由粘菌、细菌和真菌三类菌构成的一种稀有的聚合体,而关于“太岁”的存在、作用和药效,在生物学界始终有争议。但在最近这几年来,以太岁为噱头的各种各样的“保健品”开始日渐增多,如今已走入不少人朋友圈中的“圣缘太岁灵芝饮”便是个中翘楚,不少圣缘太岁的经销商对其不吝赞美之词。

那么圣缘太岁灵芝饮具有哪些功效?冠心病、再生障碍性贫血、脑梗、痛风都在该产品的治疗范围之内?“用圣缘太岁调理肺癌效果显著”等案例的出现,是否属于虚假宣传?另外一款产品——“圣缘太岁修复液”又是否可以改善视力、甚至还能调理白内障?圣缘太岁现行的六级代理制度是否具有“小单易复制、无沉淀、平级也赚钱、无考核,无压力”等亮点?

图片


公司背景,商标无效?


辽宁圣元太生物科技有限公司成立于2019年11月13日,法定代表人郭亚斌,股东有孙思嘉(大股东)、郭亚斌、于金生,注册资本300万元,据2020年度报告显示,该公司股东在当时的认缴出资时间在2049年,参保员工也为0人。

图片


值得一提的是,在刚刚过去的2021年10月21日,该公司从法定代表人到股东名单都发生了全面的变化,此前的实控人为方欣。

图片

(图片来源:企查查)

据官方公众号介绍,辽宁圣元太生物科技有限公司是一家集研发、培育、生产、销售为一体的健康平台。自有控股的研发、生产基地是位于白山市的林源春生态科技有限公司,这是一家占地超十万平米、经过ISO质量体系认证、获得过国家多项专利认证的生态行业明星企业。

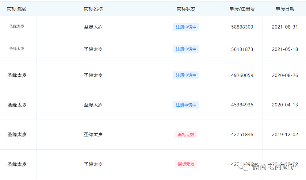
据企查查显示,目前圣元太公司在2019年到2021年这段期间所申请的一系列关于“圣缘太岁”的商标不是处于“注册申请中”就是处于“商标无效”的状态。

图片


(图片来源:企查查)

此前,药品价格315网在接受用户咨询时也曾指出:“经查商标局数据库,辽宁圣元太生物科技有限公司曾多次申请名称为“圣缘太岁”的商标,但都没有注册成功。”

图片


产品功效,提高免疫?

圣缘太岁灵芝饮毫无疑问是圣缘太岁旗下的核心产品,关于这款产品的功效,官方公众号和官方商城中无处不充斥着“修复细胞、增强免疫力、延年益寿”的说法。

图片


官方公众号在题为《圣缘太岁灵芝饮》的文章中是这样对上述功效进行解读的:“灵芝饮中的营养成分可以恢复细胞活力,给细胞供能,增强人体免疫力;免疫力提高、细胞得到修复, 即可改善身体情况,达到重拾健康的效果;已经衰老的细胞得到修复,人体就会重拾青春活力,从而延年益寿”。

图片


官方的宣传材料更是为该产品冠以“护肝使者、血管软化剂、血液清道夫、肾脏过滤器、、心脑发动机”等多个堪称夸张的称号。



而事实上,据经销商提供的资料显示,这款饮品的生产许可证编号为SC11522060516024,生产厂家为白山市林源春生态科技股份有限公司,委托商是辽宁圣元太生物科技有限公司,显然,该产品仅为普通食品,并非保健食品或药品。根据国家食品药品监督管理总局关于保健食品的相关规定,具有“提高免疫力”功效的食品一律归为“保健食品”。《食品安全国家标准预包装食品标签通则》(GB7718-2011)同时规定,非保健食品不得明示或者暗示具有保健作用。

图片


当非保健食品广告宣传保健功能时,可依据《广告法》第九条第(十一)项的规定以及《食品安全法实施条例》规定禁止的情形对其定性。食品广告宣传保健功能,是对其性能和功能的一种描述。《广告法》第二十八条第二款第(二)项规定,商品的性能、功能与实际情况不符,对购买行为有实质性影响的,可以认定为虚假广告。非保健食品广告宣传保健功能,是对食品本身性能和功能的虚假描述,容易引起消费者的误解,可以虚假广告对其定性。

消毒产品,改善眼疾?


现如今,圣缘太岁经销商推广的产品仅有两款,其一是圣缘太岁灵芝饮,其二是圣缘太岁修复液。后者是一种外用喷剂,据官方公众号发布的《圣缘太岁修复液使用说明书》显示,这款修复液主要应用于各类皮肤病初愈后的修复和养护,皮肤抗衰保养;以及对各类过敏性皮肤的调节和改善。如想用本品改善视力(如白内障、眼干涩等),开始时尽量少量滴入眼睛,(每天一次一滴即可)。待适应以后,再逐渐加量(高频率一天三次即可)。否则容易引起眼部暂时过敏现象。


但相矛盾的是,《圣缘太岁百问百答》却明确指出这款修复液是消字号外用喷剂,经销商阿力(化名)也证实了这款产品仅为消字号产品,并非械字号产品。

图片

(资料来源:圣缘太岁百问百答)

而“改善视力、改善白内障”这样的作用不应该出现在消毒产品的使用范围之内。因而,上述广告宣传的功能主治、适用范围超出了批准的内容,并含有不科学地表示功效的断言和保证等内容,严重欺骗和误导消费者。《消毒产品标签说明书管理规范》第三条规定:消毒产品标签、说明书标注的有关内容应当真实,不得有虚假夸大、明示或暗示对疾病的治疗作用和效果的内容。

在本篇报道中,我们了解到了圣缘太岁旗下的这两款产品在官方公众号的宣传下是否涉嫌虚假宣传,在下篇报道中,我们将着重关注的是圣缘太岁现行的奖金制度该如何解读,请继续关注微商电商调研。


普通食品自称具有保健功效,圣缘太岁旗下消字产品还可改善白内障?:http://www.fcxcn.cn/shehuiguanzhu/4280.html
反传销:www.fcxcn.cn 反传销柔儿团队主要负责寻人,上门反洗脑,现场解救劝说。团队长期在北海现场解救1040阳光工程,资本运作传销受害者,以及全国各地协助家属寻找北派传销的孩子(因传销而常年未回家者,被控制人身自由的人群),反传区域涉及:广西,广东,深圳,福建,江西,湖南,香港,浙江.附近有需要求助可与我们联系,孙老师13712257511
0