【曝光】MEX合约杀猪交易所幕后黑手曝光

首页 > 社会关注
编辑:广东反传销救助中心 日期:2021-12-13T11:8:43 人气:75

反传销网12月1日发布:内蒙、北京、上海、深圳地方金融监督管理局发布了

对交易所管控之类的公告后,

中国证监会北京监管局在2019年12月27日发布了:

《关于进一步防范“虚拟货币”交易活动的风险提示》


而就在最近:

2020年4月2日,

“中国互联网金融协会”发布了:

《关于参与境外虚拟货币交易平台投机炒作的风险提示》


图片


疫情盛行,出行不易

导致操盘手不怕亏损会员报警

遂圈钱盘甚多

请谨慎投资!


正文


之前有写过这类的“杀猪合约交易所”,


曝光:XMEX、BMEX合约交易所属于一个操盘团队专门坑韭菜


图片


GMEX的前身——GAEA


此前,我们提到,

包括XMEX、GMEX、GDOEX、BMEX、OOEX在内的数十个交易所都挂在了同一个IP地址下(IP地址为152.32.172.122)。

这些交易所均以合约交易为核心业务,

网站以及APP的模版也都类似,

极有可能出自同一个团队之手。

在这些交易所里,GMEX虽然不显眼,但资历是比较老的。

公开资料显示:

GMEX上线于2018年9月,

最初的名字不叫GMEX,

而是GAEA。


图片



GMEX与GAEA之间的关系是毋庸置疑的。


图片

图片


图片


图片

其实在2019年,

GMEX就联合其他几家发起了GDO全球数字资产组织,

开发的产品就是GDO合约云,也就是GMEX云服务的复制。


图片


在GDO的官网,GDO宣称:

已经为全球近百家交易所提供技术服务,

大家仔细看下面的图标,是不是有好些熟悉的面孔,

比如说GMEX、BOEX、Xstar、STCEX、BMA……

这不就是之前文章所提到的那些共用IP地址的合约交易所吗?


图片


另外估计为了避嫌,

包括XMEX、BMEX、OOEX都被官网隐藏在了省略号里面。

不过XMEX和GDO的关联还是能够通过其他细节体现出来,

比如6月深圳区块链周的由哼哈互动和金色财经共同主办的「了不起的社区•邮轮密事」活动,

就是由XMEX独家冠名,由GDO、Vbit协办。


图片


通过一键部署的云服务,

GMEX复制出了数十家合约交易所,

一起收割币圈那些渴望一夜暴富的投资者。

所有这一切都不是个人行为,其实都团伙「作案」。


XMEX、GMEX主体公司信息曝光


这个是“XMEX合约交易所”系列黑手背后的公司,

创始人叫韩卫国

邵君俊是韩卫国的老婆 。


图片

图片

图片

图片

图片


韩卫国在币圈都干了啥?

公开报道显示,韩卫国2017年开始观察币圈,2018年正式涉足,

第一步就是上面提到的GAEA交易所。

除了将GAEA发展为GMEX,并提供云合约服务以外,

韩卫国还在暗中发展了币圈的第二条发展线路。

GAEA上线没多久,

就与火星数字资产银行(Marsbank.vip)达成了战略合作,

双方将在矿池、矿场、现货交易所、衍生品交易所、数字银行资金池运作以及大宗期货领域展开全面合作。


图片


火星数字资产银行(Marsbank.vip)是全球第一家从事专业的数字货币质押、数字货币交易杠杆配资、受托数字货币量化交易、数字货币资产管理的全方位为数字货币领域提供专业金融服务的银行。


两个月后,火星数字资产银行推出「平台币保障计划」,

以其提供的保障计划产品作为支撑,

对GAEA社区成员启动为期180天的“锁币”活动。

活动中,火星数字资产银行将设定一个基准价格,

在用户锁币达到180天后,

若GAEA价格跌至基准价格之下,则触发「GAEA保障计划」,

火星数字资产银行将对用户进行补贴,

且用户还可享受10%的到期年化收益率。

除此以外,用户还可以选择「GAEA Token高息计划」,

高息计划用户可以享受到最高20%的到期年化收益率。

从表面上看,GAEA与火星数字资产银行之间只是合作关系。

但事实并非如此。

火星数字资产银行的联合创始人名叫卢磊,

此人是韩卫国的老搭档了。


图片

图片

图片

图片

图片


图片


查一下这家公司,点开官网,

发现是GMEX交易所的官网,

他们最早叫GAEA盖亚交易所GAEX盖世交易所

最早也是18年开始做交易挖坑,坑了一波人之后改名,

去年专项做合约改名叫GMEX交易所

后来做云叫GDO,今年搞出了各种MEX杀猪盘。

旗下10多家公司,全部从事虚拟币,合约交易所。


图片


www.gmex.group

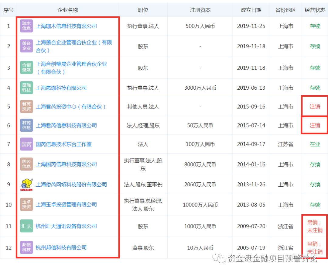
公司主体:上海国芮信息科技有限公司

服务也是做合约方面的。


图片

图片

图片

图片

图片

图片

图片

图片


股东,除了邵君俊韩卫国

还有苏州一家投资公司,叫“界石投资”


图片


苏州界石若出投资合伙企业(有限合伙)

2018年参加“GAEA盖亚交易所”投资。


图片


韩卫国跟邵君俊的公司,基本差不多,

股东信息全部都是他们夫妻俩。


图片

图片

图片

图片


mex系列的合约,

基本实锤是韩卫国他们搞的。

为什么这么说?

因为GAEA盖亚交易所

2018年就出来了,

后面他们就出了一系列的mex合约交易所。


图片


值得一提的是,

“ZG交易所”的全币种合约和“BKEX交易所”的超级合约也是他们搞的,

所谓全币种合约,就是项目方和交易所搞的联合杀猪盘


图片

图片


据悉之前“btb.io交易所”搞的很多币,

包括市场上的合约交易所,

基本都是韩跟邵他们弄的杀猪盘。

目前市场上有MEX系列的:

XMEX、 BMEX,GMEX等,最少有10多家。


韩卫国和邵君俊是不是应该出来解释下,

为什么“星际交易所”会和XMEX、GMEX、BMEX等交易所共用一个IP?

以及他到底是不是这些杀猪盘的幕后黑手?





如果您也玩互联网+区块链,一定要关注我,每天分享业内最新新闻,项目资讯。关注我,您不会有任何损失,看我的文章一定会有所收获。


小编提醒广大网友,代币发行融资属于未经批准非法公开融资的行为,涉嫌非法发售代币票券,非法发行证券,以及非法集资,金融诈骗,传销等违法犯罪活动。按照我国《禁止传销条例》规定,只要具备入门费、发展下线、层层返利的团队计酬这三个特征,就可以判断其属于传销行为。

一END一

文章版权归原创方所有,转载时请注明文章出处!

【曝光】MEX合约杀猪交易所幕后黑手曝光:http://www.fcxcn.cn/shehuiguanzhu/4627.html
反传销:www.fcxcn.cn 反传销柔儿团队主要负责寻人,上门反洗脑,现场解救劝说。团队长期在北海现场解救1040阳光工程,资本运作传销受害者,以及全国各地协助家属寻找北派传销的孩子(因传销而常年未回家者,被控制人身自由的人群),反传区域涉及:广西,广东,深圳,福建,江西,湖南,香港,浙江.附近有需要求助可与我们联系,孙老师13712257511
0