影响视界被指具有资金盘特征,发行原始股并承诺三年后上市?

首页 > 社会关注
编辑:广东反传销救助中心 日期:2022-01-02T10:34:44 人气:59

最近几年,参与自媒体的人数在不断上升,同时,短视频和在线直播的用户也保持较快的增长势头。受益于短视频行业的火爆,以“看短视频赚钱”为噱头的互联网平台也开始一个接着一个地出现在大众视野之内,近来备受争议的“影响视界”便是这样一家平台。


那么影响视界有着怎样的平台背景?与实控人王荷新有所关联的多家企业各自出现了怎样的问题?影响视界的参与者能从中赚到怎样的静态收益和动态收益?近期,影响视界是否还向参与者们发行了原始股?

图片


图片

关联企业,问题重重



据官方资料显示,苏州影响视界网络科技有限公司致力于构建“吃吧、玩吧+流量”的综合娱乐服务平台,形成独立的文化体系,塑造一款属于用户皆可参与、参与皆有价值的品牌性短视频APP,打造国内具有影响力的自媒体服务企业。

经查,该公司成立于2020年8月28日,法定代表人和独资股东都是王荷新一人,监事是鲁爱蓉,子公司有才成立不久的家里人(苏州)电子商务有限公司和七乘二十四(苏州)技术开发服务有限公司,注册资本1000万元,据2020年度报告显示,该公司股东的实缴出资额为0元,参保员工仅有4人。

图片


在公司管理层方面,影响视界公司的董事长是王荷新、市场运营董事会主要负责人为张松、商学院院长为王帅、城市服务商运营管理中心COO为曹军库、影响视界商城运营管理中心COO为孙小雷。说到王荷新,据有关资料显示,此人是经济管理专业出身,还有着20年银行、财务、风控、管理经验。

图片


但据企查查显示,头衔如此丰富的这位“大人物”却曾因未按时履行法律义务被法院强制执行,执行标的为60万元,案号:(2015)相执字第01962号。

图片


至于与王荷新有所关联的另外一些企业,大部分也都有各自的问题存在,比如由他担任监事的吴江市新品纺织整理有限公司已进行了破产清算。

图片


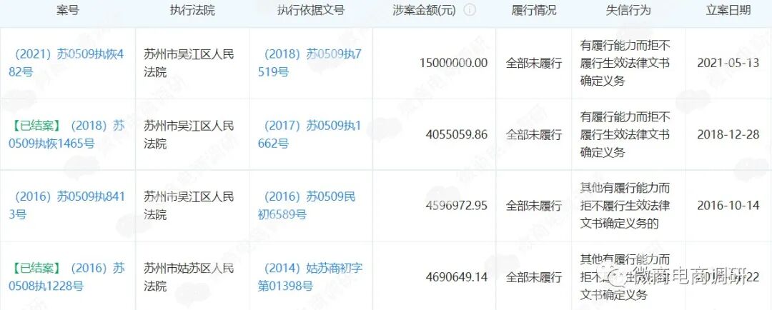
同样由王荷新担任监事的吴江市鲈乡农村小额贷款股份有限公司,在不久前也已因有履行能力而拒不履行生效法律文书确定义务,被苏州吴江区人民法院列入严重违法失信企业名单。

图片

图片


由他担任法定代表人的吴江市新鼎投资咨询有限公司还曾进行过司法拍卖。

图片

与王荷新有关的、且正处于经营异常名录当中的企业更是一只手都数不过来,其中,连续四年被列入经营异常名录当中的苏州枫炎服饰有限公司已经被苏州市吴江区市场监督管理局吊销了营业执照。

图片

揭底模式,动+静收益



自面世以来,影响视界最为吸引人的地方在于其颇具特色的奖金模式,对此,官方资料的说法是:影响视界推行的商业运营模式以“短视频直播+供应链+区块链技术+跨境电商”链接线上和线下,推动传统企业转型升级,各级代理环环相扣实现双赢局面,从而保证平台良性发展。

接下来,我们就来了解一下参与者能从中拿到怎样的静态收益和动态收益。推广人员阿虹(化名)结合资料《影响视界市场财富解析》介绍称:注册并实名认证(实名认证费是1.5元)后送一星星图,有了星图就能做任务,完成任务就有奖励。每日看1分钟视频,6个广告,这就是“每日任务”。拥有一星星图,35天内可产出12.9个星钻,一个星钻目前的价值大约对等五六块钱(星钻兑换人民币的比例是在随时波动的,前几个月,一个星钻可以兑换十七元钱)。星钻数达到100可以兑换二星星图,达到1000可以兑换三星星图,高级星图能产生的星钻数量自然更高,这就是静态收益。

图片


如果用更形象的比喻来解释,那么星图就像是会下蛋的母鸡,只要免费下载影响视界并实名认证,平台就会赠送参与者一只母鸡(一星星图)。这只母鸡每天可以下一次蛋,每次下0.3685个蛋,总共可以下35次,共计12.9个蛋(蛋就是星钻,星钻可以卖钱),这只母鸡下完35次蛋就死掉了。

而动态收益,事实上也就是由推广产生的收益,直接分享1名会员实名认证后可以获得其星图收益的百分之五。

图片

图片


推广的更多,就能升到更高的级别,高级别会员可以拿到团队收益。似乎是为了规避法律风险,有关资料还把涉及到团队业绩等方面的概念进行了所谓的包装,但不难发现,有关资料所描绘出来的“流量”指代的就是计算业绩的单位(1星星图为1个流量),“星云流量”其实就是团队业绩,“星系流量”则是网体内除了两个大市场外的剩余市场业绩总和。

图片

图片

图片


对于上述模式,本平台也请来了行业专家进行分析,该专家指出:“影响视界就是一个以所谓的‘盈利能力’为诱惑、带有‘释放’功能的、具有资金盘性质的涉传模式,该模式中,有不少地方存在“FN”(即Futurenet,也叫“FN未来网”或“FN点广告平台”,这是一个源自波兰的传销骗局,利用点广告、FTO虚拟货币、挖矿、网上商城等方式实施传销活动,众多国内投资者血本无归)的影子。总而言之,该模式的设计者涉传思维浓厚,项目欺诈性明显,风险极高。

图片

质疑之声,一如既往



事实上,早在2021年4月,就有网友在“苏州市12345阳光便民网站”中对影响视界进行投诉,该网友称:“苏州影响视界网络科技有限公司在微信群传播鼓动投资,拉人头赚钱,且参与人岁数都比较大,有网络非法传销嫌疑,请核实公司是否正常合法经营”。

很快,吴中区市场监督管理局城区分局介入调查,数天后,吴中区市场监督管理局给出了反馈:“经我局现场检查,未发现传销嫌疑,公司营销模式暂处于地推阶段,不涉及传销层级,故不予立案。”

图片


但在近日,在该帖子的下方,又有新的网友继续发声投诉:“影响视界已经涉及传销,每天线下开会洗脑中老年人,拉人头入会,必须严查。”

图片


近期,“110法律咨询网”上,也同样有关于“影响视界涉嫌传销”的争议出现。

图片

图片

原始股权,纽约上市?



在不久前,影响视界竟然还向该平台的参与者们公开发行了原始股。推广人员阿力(化名)信誓旦旦地表示:“影响视界准备在美国纽约证券交易所上市,三年内就会上市,上市后的股权价值不可估量,目前一股股权对应的是500个星钻。”但需要警惕的是,据知情人透露,不论参与者拿到了多少股权,公司也没有《股权证》发放。

图片


关于上市的时间,“2024年进行资本运作,成为知名的互联网上市企业”的目标在官方PPT资料中也已是呼之欲出。

图片


当前,具有隐蔽性强、手法多样等特点的“原始股骗局”屡见不鲜,许多不法分子都在假借原始股之名鼓吹上市后的收益,但纵观历史,很多曾经向不特定受众发行原始股的企业最终都没有迎来上市敲钟的那一天。归根结底,投资者只有在上海证券交易所、深圳证券交易所以及承担新三板交易结算的全国中小企业股份转让系统这三个公开市场买卖股票,才不存在诈骗风险,而企业与投资人之间非法进行的所谓的原始股权转让、买卖的行为,不符合相关法律规定。对于如何识别原始股骗局,《证券日报》曾指出:投资者首先要认清非法证券活动的本质和危害,提高自身识别判断能力,自觉抵制各种诱惑,不要轻信“一本万利”之类的天上掉馅饼的好事。

图片


总而言之,影响视界向平台参与者发行“原始股”,这个举动本身就违反了《证券法》的有关规定:“公开发行股票,须经中国证监会核准,未经依法核准,任何单位和个人不得公开、变相公开发行股票。非公开发行股票,不得采用广告、公告、广播、网络、短信等公开方式或变相公开方式进行”。参与此类非上市公司违规股权转让交易的投资者的权益,难以受到法律保护,在法律上也并没有“原始股”的概念。

图片

后 记



近段时间以来,在多家反传自媒体发布的各种版本的《这些互联网项目有风险!请远离》的榜单中,备受争议的影响视界也已多次榜上有名。

图片

图片


图片

至于以“影响视界,改变未来,恩泽大地,普惠众生”为企业使命的影响视界在今后会如何发展?“打造成百亿市值的短视频APP企业”的愿景能否照进现实?对此,微商电商调研将继续保持关注。


版权所有,未经授权,禁止转载!

影响视界被指具有资金盘特征,发行原始股并承诺三年后上市?:http://www.fcxcn.cn/shehuiguanzhu/4951.html
反传销:www.fcxcn.cn 反传销柔儿团队主要负责寻人,上门反洗脑,现场解救劝说。团队长期在北海现场解救1040阳光工程,资本运作传销受害者,以及全国各地协助家属寻找北派传销的孩子(因传销而常年未回家者,被控制人身自由的人群),反传区域涉及:广西,广东,深圳,福建,江西,湖南,香港,浙江.附近有需要求助可与我们联系,孙老师13712257511
0