在上篇报道中,我们了解到了康都健旗下的消毒产品是否可以治疗妇科疾病,在本篇报道中,我们将从备受经销商推崇的“康都健明眸舒缓眼膜贴”开始说起。
图片

神奇眼贴,改善近视?
随着人民生活水平的普遍提高,电子化办公和电子产品越来越普及,电子产品的应用呈现出人口众多、低龄化趋势两个特点。由此带来的眼部问题也越来越多,接近十年前,全国小学生中近视的发生率已经达到40%。成人中干眼症、视疲劳、白内障、黄斑变性等疾病的发病率也呈现出逐年增高的态势。现如今,“康都健明眸舒缓眼膜贴”这款产品正式问世,也正是看中了这一市场的广阔前景。
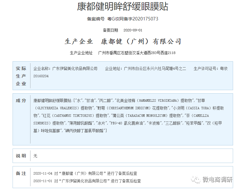
但据企查查显示,“康都健明眸舒缓眼膜贴”这款产品仅属于国产非特殊用途化妆品。
图片

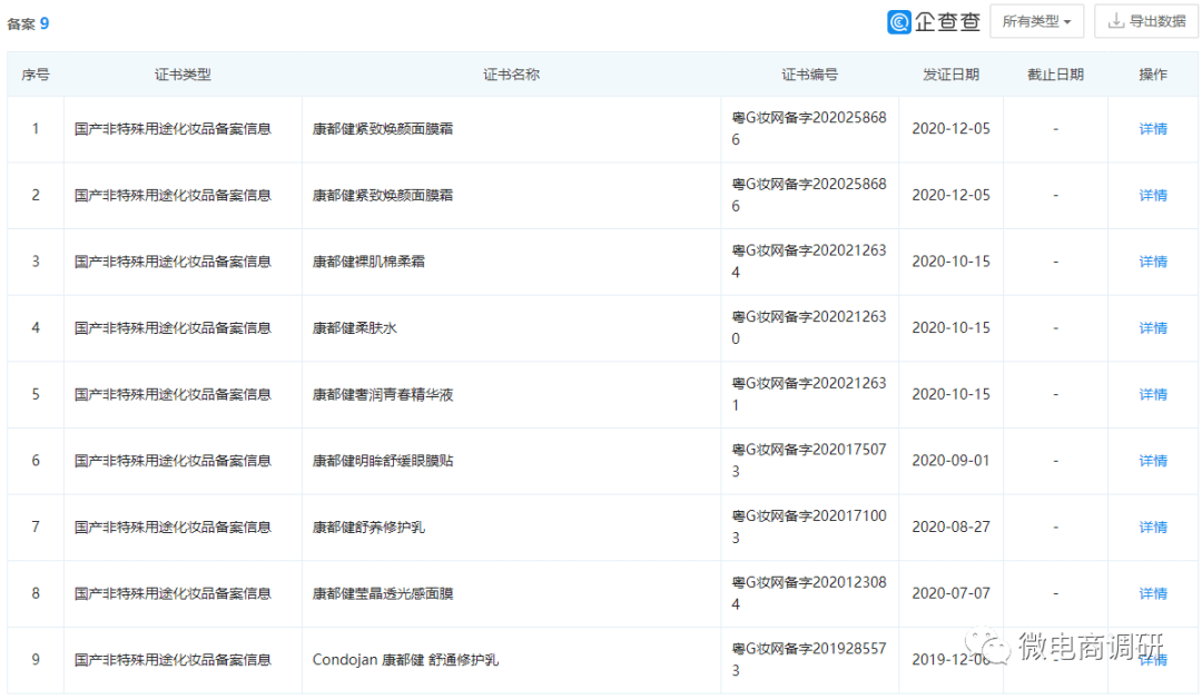
经查国产非特殊用途化妆品备案平台,我们发现“康都健明眸舒缓眼膜贴”的备案编号为粤G妆网备字2020175073,实际生产企业为广东伊留美化妆品有限公司。至此,公众号“康都健精彩人生”所谓的“即自己研发→自己生产→自己销售→自己服务终端”的闭环式商业琏就此不攻自破,调查发现,除了这款眼膜贴之外,剩下的康都健舒养修护乳、康都健裸肌棉柔霜等多款化妆品的实际生产企业也都是广东伊留美化妆品有限公司,康都健(广州)有限公司只是委托企业。再加上我们上文提到的康都健草本抑菌液,这款产品的生产企业也并非康都健,而是广州元汉药业有限公司,经销商口中的“产品自主研发”的优势也荡然无存。
图片

关于曾沦为被执行人的广东伊留美化妆品有限公司,还有故事可讲。据《广州市白云区环境保护局、广东伊留美化妆品有限公司非诉执行审查行政裁定书》显示,申请执行人广州市白云区环境保护局向广州铁路运输第一法院申请强制执行对被执行人广东伊留美化妆品有限公司作出的云环保监﹝2017﹞716号《环境保护行政处罚决定书》。申请执行内容为停止护肤类化妆品生产项目的生产。最终,法院准予强制执行云环保监﹝2017﹞716号《环境保护行政处罚决定书》,停止护肤类化妆品生产项目的生产。本裁定为终审裁定。
图片

说到这款眼膜贴的功效,在如今的微博和小红书等平台上,有多位推广人员指出这款眼膜贴具有改善近视、促进细胞微循环、改善眼疲劳等多重作用,这种宣传的本源甚至还可追溯到康都健的官方商城。
图片

在微博上,还有推广人员表示该产品也具有缓解眼部疾病、改善老年白内障(有关资料为了避免明示白内障,而写成了皛内障)和黄斑病变等作用。
图片

根据法律规定,化妆品不能明示或暗示有治疗功效,近年来,化妆品功效进行虚假宣称问题比较突出,既误导了消费者,也扰乱了市场秩序。为治理这一问题,2021年1月1日起实施的《化妆品监督管理条例》对化妆品功效宣称确立了以企业自律和社会监督为主,同时政府部门加强事中事后监管的管理模式。规定化妆品注册人或者备案人对化妆品的功效宣称负责。规定化妆品的功效宣称应当有充分的科学依据,并公开依据摘要,接受社会监督。禁止化妆品标签明示或者暗示具有医疗作用,禁止标注虚假或者引人误解的内容,化妆品广告不得以虚假或者引人误解的内容欺骗、误导消费者。
图片

以化妆品之实宣传改善近视之功效,这种行为实不可取。据《厦门日报》报道,集美市场监督管理所对辖区视力保健经营主体开展了专项检查,在一家主营视力保健的店内,执法人员发现,商家在宣传册及宣传扇子上打出的“视力保健套装”的广告,宣传该产品可“改善视力问题及眼部亚健康问题,如近视、视疲劳等眼部亚健康状况。”执法人员立即对该视力保健套装进行检查,通过进一步查看产品的成分说明,发现该产品系普通化妆品。“商家的行为已构成虚假宣传。”执法人员依法责令该经营者停止虚假宣传,并对其处以1万元的罚款。
针对市面上林林总总的近视矫正产品究竟靠不靠谱这个问题,有专家团在《新快报》的报道中表示,市面上各种宣称能够矫正视力的产品往往夸大其词。其实,近视超过150度之后,几乎很难逆转,所以不要轻信商家的宣传措辞。即使要使用这些产品,最好先到医院咨询专家,避免使用不正规、不合格的产品。还有业内人士指出:市面上的眼贴成分主要为薄荷、冰片,贴上去凉凉的,让眼睛得到暂时休息,其作用跟闭眼休息的效果差不多,绝对没有部分商家所宣传的治疗作用。另外,药物很难通过皮肤渗透到眼球里面去,即使是滴眼药水,眼球本身有视网膜屏障,药物也难以直达眼球,无法起到治疗近视的作用。
顺带一提,备案编号为粤G妆网备字2020171003的“康都健舒养修护乳”在康都健的商城中除了宣传可预防近视外,还宣传自己具有改善腰酸背痛、提高免疫力等作用。
图片

图片

根据《化妆品卫生监督条例》第十条规定,特殊用途化妆品是指用于育发、染发、烫发、脱毛、美乳、健美、除臭、祛斑、防晒的化妆品,显然,这九大功效并不包括提高免疫力。而实际上,该产品也并非特殊用途化妆品,仅为国产非特殊用途化妆品,如此宣传也明显属于虚假宣传。
图片

揭底模式,多“星”代理
图片

文章的最后,我们再来关注一下康都健的奖金制度。
据经销商阿倩(化名)介绍:“康都健目前有8款产品(全部有24款,目前商城中有8款),不考核,不压货,不降级,业绩永不清零。越做利润越高,无支出,无任务,赚的全是纯利润,每月还有额外分红补贴。谁用谁有效,谁做谁赚钱,这就是康都健。”
图片

据了解,购买10单产品,可成为康都健的体验代理,门槛为2990元,复购奖是每单189元,销售奖为每单90元,体验代理推荐一个体验代理奖励900元;购买100单产品,可成为皇钻代理,门槛为29900元,复购奖是每单149元,销售奖为每单120元,推荐一个体验代理或者皇钻代理都奖励1200元,此时级差为300元,下面再复购,复购差为每单40元。
图片

皇钻代理业绩(裂变所有人的业绩)累积到5万成为1星经理(又称1星代理,下同),业绩奖为8%;业绩累积到25万成为2星经理,业绩奖为10%;业绩累积到100万成为3星经理,业绩奖为12%;业绩累积到300万成为4星经理,业绩奖为14%;业绩累积到1000万成为5星经理,业绩奖为15%。
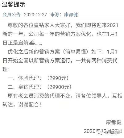
另外,参与者还有机会拿到“分红”,现阶段一次性拿货29900元成为皇钻代理后同时每个月复购一盒即可得到公司赠送的分红,这个分红是公司拿出每天营业额的百分之十五分给各位皇钻代理的,预计这个分红的金额是每天500到800元。
关于分红的说法,也可以通过康都健商城发布的公告得到验证:
图片

图片

近年来,随着违法广告的数量日益增多,国家对于违法广告的监督管理也愈发严格,尤其是对于带有所谓“收益保本”、“稳赚不赔”等字眼的广告宣传。而好巧不巧的是,在提到参与到康都健这个项目的收益时,微博昵称为“康都健”的推广人员就明确表示康都健是一个稳赚不赔的事业。
图片

显然,上述广告宣传中含有对产品销售招商投资回报、预期允诺等宣传内容,涉嫌广告违法宣传。另有执法人员在《四川法制报》的报道中说明:“普通群众在投资时,一定要保持理性,投资必然有风险,凡是夸大宣传说没有风险的,肯定是有假。”
图片

后 记
图片

现如今,虚假宣传的乱象已经到了无孔不入的地步,北京市消费者协会法律顾问、北京汇佳律师事务所主任邱宝昌律师曾指出,“虚假宣传之所以日益泛滥主要有两方面原因:首先是商家缺乏自律,不诚信经营现象增多;其次是相关部门监管不到位,处罚力度不够,一般的处罚很难引起相关经营者的警醒。”据一份调查显示,面对商家虚假宣传时,选择“起诉商家、要求赔偿”的人只占4.8%,对此,邱宝昌表示:解决消费者“忍气吞声”的问题,需要引入公益诉讼制度,让一个组织代表众多权益被侵害的消费者进行诉讼。到那时,商家的违法成本就不再是在面对单个消费者时的几十元了,而是成千上万个几十元,面对如此巨大的违法成本,商家肯定不敢再轻易欺骗消费者。另外,还有必要建立商家信用记录,把有虚假宣传前科的商家列入信用黑名单,并公之于众。
图片

至于秉承“以创新为导向,以双赢为目的,以质量为核心,以服务为手段”的经营理念的康都健在今后会如何发展?