玛雅森林实控人已被限制高消费,子公司“伟发建筑”同样问题重重

首页 > 社会关注
编辑:广东反传销救助中心 日期:2022-04-16T8:55:21 人气:9

来源:头条资讯平台 #玛雅森林#问题重重

有不少研究证明,室内空气污染已成为危害人类健康的“隐形杀手”,对于80% 以上时间居住在室内的现代人来说,甲醛、PM2.5、TVOC等字眼在新闻报道当中的频频出现,更是令人倍感焦虑。随着国家各项政策的发布、国内消费升级、个性化时代的来临,越来越多的人在选择对室内进行装修时,更愿意把目光聚焦在更环保、更健康的涂料上面。在此背景下,打着负离子、负氧离子旗号进行宣传的涂料品牌也随之层出不穷,让人眼花缭乱,“玛雅森林”就是其中之一。

玛雅森林的涂料究竟有何特色?隆晨名下的人民幸福集团现状如何?他又在人民国肽集团当中扮演着怎样的角色?网上有关负离子的宣传,是否可信?如何成为玛雅森林的服务商,其中的奖金又分别有多少?

隆晨其人,限制消费

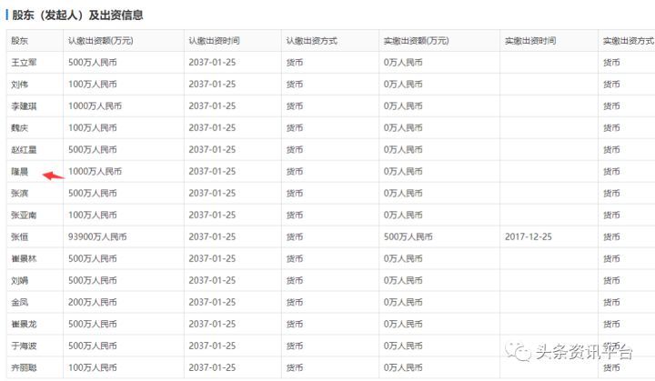
玛雅森林(北京)国际科技有限公司成立于2017年9月25日,法定代表人隆晨,注册资本1亿元,股东有人民幸福(北京)实业发展有限公司、刘宗慧、戴玮霆,据2019年度报告显示,该公司的实缴出资额为0元,参保员工为18人。

据官方介绍,玛雅森林科技有限公司在目前已推出的产品包括:负氧离子生态装饰装修建材系列(生物涂料、生态板、生态瓷砖、植物粘桨、生态造型泥、生态腻子、生态墙锦、生物印花涂料、生态字画等)和智慧生态家庭系列(生态检测马桶、生态科技电器、生态家具、生态家居用品、生态健康灯具、生态氧舱能量房等)早在2009年,玛雅森林方面就已经开始组建科研团队,开启产品核心技术研发,十年之后,玛雅森林公司正式组建团队,开发全系列产品,开启渠道布局,大规模进军市场。

作为玛雅森林公司股东的人民幸福(北京)实业发展有限公司,同样由隆晨担任法定代表人,注册资本同样是1亿元,据2019年度报告显示,该公司的实缴出资额为0元,参保员工为1人。在眼下,隆晨在人民幸福集团、玛雅森林(北京)国际科技有限公司担任的职务分别为集团董事局主席和玛雅森林战略决策委员会首席决策官。

在公司管理层方面,据此前的报道显示,集团董事长是游志郎,营销公司总裁是徐爱名,营销公司董事长是郭柏成,营销管理有限责任公司执行总裁是牟康赫,研发管理中心首席执行官是李启红,物流中心首席执行是官尚波,信息平台研发负责人是郑凌云,建筑装饰公司董事长是戴玮霆,担任玛雅森林战略决策委员会常委职务的除了戴玮霆,还有伍辉玉、刘素同。

调查发现,隆晨目前还是人民幸福集团旗下的上海川迪投资管理中心(有限合伙)的实控人,而该公司曾先后两次因有履行能力而拒不履行生效法律文书确定义务、违反财产报告制度而被法院列为失信被执行人,未履行金额分别是3032318元、1159605元。

公司如此,法定代表人隆晨自然也是难逃干系,经查,因物业服务合同纠纷、房屋租赁合同纠纷,隆晨本人也被上海市浦东新区人民法院出示了两次限制消费令。

国肽产品,屡上黑榜

顺带一提,隆晨不仅是人民幸福集团的高管,同时也与人民国肽集团关联密切。

眼下,他在人民国肽集团有限公司当中扮演着股东和监事的重要角色,据该公司公示的年报显示,隆晨的认缴出资数额为1000万元,实缴0元。

近年来,随着人们健康意识的增强,“银发生意”也随之如火如荼地发展起来,但在此期间,各种“坑老”的负面消息也是屡屡传出。两年前,就曾有媒体报道过有消费者投诉称一家名为“红瑞乐邦健康生活馆”的机构以赠礼品为幌子拉老年人听讲座,再通过洗脑宣传、心理暗示等方式,向老年人推销保健品(产品为售价680到960元一盒的“国肽胶原蛋白肽固体饮料”),引发了社会各界的广泛关注。涉事公司安徽国肽生物科技有限公司正是人民国肽集团有限公司的子公司。报道称,该机构销售人员向消费者推销“国肽胶原蛋白肽固体饮料”时称:“临床证明服用胶原蛋白肽可以治疗严重的脑梗塞、脑淤血、脑中风、脑偏瘫等各种疑难杂症。但实际上,该产品仅为固体饮料,并无治疗疾病的功能。

最近几年,上述这款产品的销售方们因虚假宣传这款产品的功效,而受到有关部门的处罚事件越来越多。2017年,自贡市荣县市场监督管理局接群众投诉举报后,联合公安局依法对荣县乐德镇红瑞食品经营部进行现场检查,现场检查发现当事人涉嫌在经营活动中虚假宣传。经查,当事人主要销售国肽生物科技(北京)有限公司生产的固体饮料“胶原蛋白肽”等三种产品。有关部门鉴于当事人性质恶劣、情节严重,经研究,决定责令当事人立即改正违法行为,并对当事人予以从重处罚:处罚款12万元。

后来,“贵州遵义绥阳县查处刘祖安虚假宣传案”还上了国家市场监管总局在2019年发布的“整治保健市场16大案例”榜单。据悉,本案中,当事人利用其开办的绥阳县红瑞健康咨询服务中心开始从事经营活动,以会销方式销售该中心提供的国肽牌胶原蛋白肽固体饮料等产品。当事人通过现场宣讲、PPT展示等形式,对销售的国肽牌胶原蛋白肽固体饮料宣称“没有肽就没有生命,人体所有细胞都受肽的调节,缺肽加速死亡,缺肽导致人体患上上百种疾病,肽几乎被用于治疗任何疾病,无药可与其相比”等宣传内容超出了产品其本身的功能和作用,虚假宣传、欺骗、误导了消费者。有关部门对当事人处以罚款140万元,吊销营业执照的处罚。(内容有删改)

全国各地的监管部门在最近这两年里,对于利用国肽胶原蛋白肽固体饮料进行虚假宣传的事件的处罚次数也变得愈发频繁:

竖版滑动多图

虚假宣传行为的愈演愈烈,终于为经营方带来了前所未有的打击。据《江西省红瑞乐邦健康产业有限公司、王某虚假广告一审刑事判决书》显示,九江市浔阳区人民检察院指控被告单位江西省红瑞乐邦健康产业有限公司、被告人王某等人犯虚假广告罪,2017年7月份,红瑞公司先后在浔阳区开设了六家门店,这六家门店在日常经营活动中,通过播放该公司提供的宣传视频、开展讲座等形式宣传“国肽”胶原蛋白肽具有治疗癌症、脑淤血、降“三高”等医疗疗效。六家门店店长通过微信群进行沟通,“国肽”胶原蛋白肽销售款由门店店长直接汇入红瑞公司,各门店店长通过销售提成从该公司获利。

最终,被告单位江西省红瑞乐邦健康产业有限公司因犯虚假广告罪,被法院判处罚金三十万元,其余的多位被告因犯虚假广告罪,被法院判处有期徒刑十个月,并处罚金三万元。

诉讼不止,股权冻结

再说回人民幸福集团旗下的玛雅森林,上文提到该公司主要对外销售的是涂料等建材产品,而说到了涂料,自然与室内装饰设计密切关联。

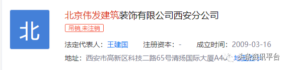
玛雅森林的子公司——戴玮霆名下的玛雅森林(北京)建筑装饰工程有限公司(原名:北京伟发建筑装饰有限公司)就是负责这部分的。

(建筑装饰公司董事长戴玮霆)

但调查发现,该公司曾在2018年因违反《北京市建设工程施工现场管理办法》的行为,遭到过北京市朝阳区住房和城乡建设委员会的行政处罚。

在近年来,该公司也是诉讼缠身,多次沦为被告或被执行人。

案发的原因有劳动争议:

也有劳务合同纠纷:

在过去的这些年间,该公司的股权也曾被冻结过数次。

另外值得一提的是,北京伟发建筑装饰有限公司成都分公司、郑州分公司在眼下都已完成注销,西安分公司、云南分公司则处于吊销的经营状态。

在本篇报道中,我们简单了解到了玛雅森林与人民幸福集团的背景,在下篇报道中,我们将重点关注的是玛雅森林的服务商制度,以及网上有关负离子、负氧离子的宣传是否靠谱。

玛雅森林实控人已被限制高消费,子公司“伟发建筑”同样问题重重:http://www.fcxcn.cn/shehuiguanzhu/5757.html
反传销:www.fcxcn.cn 反传销柔儿团队主要负责寻人,上门反洗脑,现场解救劝说。团队长期在北海现场解救1040阳光工程,资本运作传销受害者,以及全国各地协助家属寻找北派传销的孩子(因传销而常年未回家者,被控制人身自由的人群),反传区域涉及:广西,广东,深圳,福建,江西,湖南,香港,浙江.附近有需要求助可与我们联系,孙老师13712257511
0