“老字号”承庆堂加入新零售,产品宣传是否虚假夸大?

首页 > 社会关注
编辑:广东反传销救助中心 日期:2022-05-02T10:51:25 人气:84

2006年商务部启动“振兴老字号”工程以来,越来越多的字号企业发展势头良好。中华老字号企业经历上百年的风风雨雨以及各种因社会变迁而无法回避的跌宕起伏,它们依然以各种状态存在着,有些企业甚至还有着强大的品牌影响力。但是电商行业的兴起,对这些老字号传统零售业造成了很大的冲击,在“传统零售”和“新零售”之间应该如何转型,这对老字号企业来说也是个全新的挑战。被评为“安徽老字号”的承庆堂宣称拥有130年历史,也加入了新零售行列。那么承庆堂新零售究竟是何来历?其产品功效是否涉及虚假宣传?代理制度又该如何解读?

图片










公司背景 问题重重?










据调查,承庆堂国药隶属安徽承庆堂国药股份有限公司,法定代表人为李整风,公司成立于2012年1月,注册资本2000万,实缴资本2000万,它是集医疗器械生产与销售一体化公司,是一家集医疗器械的技术研发、技术咨询为产业核心,采用OEM模式,以掌控知识产权为入手、以医药科研为主的企业。

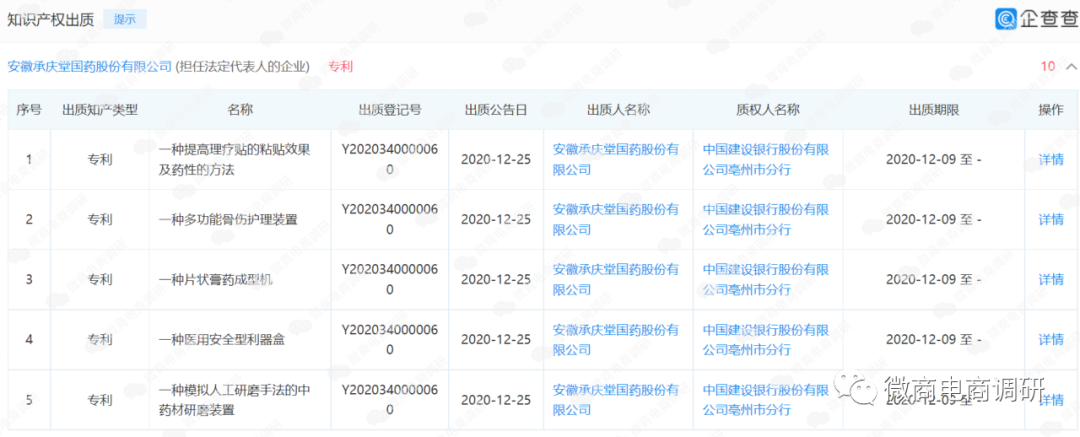
值得一提的是,安徽承庆堂国药股份有限公司宣称自己掌控知识产权,但是公司旗下十项知识产权全被出质。

图片


(图片来源:企查查)

除此之外,安徽承庆堂国药股份有限公司的大股东是持股70%的李彪,其旗下投资了几家企业,其中在一家名为信源药业集团(亳州)制药股份有限公司担任监事,但是这家企业曾因为未按照规定期限办理纳税申报和报送纳税资料而被行政处罚。

图片

(图片来源:企查查)

据承庆堂国药公众号显示,承庆堂现已加入新零售行列,且携手国火有限公司为战略合作伙伴,开启承庆堂新零售。

图片



据调查,国火有限公司成立于2019年10月,法定代表人为石俊贵,注册资本为10000万元人民币,实缴资本为0元,经营范围包括保健食品(预包装)销售;第一类医疗器械销售;第二类医疗器械销售等业务。

据了解,石俊贵也是森迷(广州)品牌管理有限公司的法定代表人,森迷曾经是风靡一时的洗护微商品牌之一。但是森迷这个品牌在传销投诉平台“灵鲲金融风险查询举报中心”,被认同标记“发展下线拉人头”共986次。

图片










产品宣传 一贴见效?









据调查,承庆堂新零售的产品为活络消痛贴,此产品是一款“械字号”产品。这款产品在网上宣传可以针对以下几种症状发挥作用:颈椎痛,肩周炎,腰腿痛,关节炎,跌打扭伤,足跟痛,滑膜炎,网球肘,腱鞘炎,半月板损伤,坐骨神经痛。

图片


实际上,该款产品的备案号为皖械注准20172260161号,生产单位是安徽承庆堂国药股份有限公司。据安徽省药品监督管理局网站显示,该产品性能结构及组成为:该产品由医用热熔胶、远红外陶瓷粉按一定比列混合后均匀涂抹在弹性织物或无纺布上,膏面以防粘隔离纸为盖衬制作而成。该产品适用范围为颈椎病、肩周炎、腰椎间盘突出症和软组织损伤引起的颈、肩、腰、腿部位疼痛的贴敷治疗。因此该产品的实际用途并不包括上述宣传图片提到的多种功效。

图片

(图片来源:企查查)

可见,有关宣传材料明显存在医疗器械广告宣传的功能主治、适用范围超出了批准的内容,含有不科学地表示功效的断言和保证,严重欺骗和误导消费者。《医疗器械监督管理条例》明确规定:医疗器械广告的内容应当真实合法,以经负责药品监督管理的部门注册或者备案的医疗器械说明书为准,不得含有虚假、夸大、误导性的内容。

同时,我国《医疗器械广告审查发布标准》第十条规定:医疗器械广告中有关适用范围和功效等内容的宣传应当科学准确,不得出现以下情形:在向个人推荐使用的医疗器械广告中,利用消费者缺乏医疗器械专业、技术知识和经验的弱点,使用超出产品注册证明文件以外的专业化术语或不科学的用语描述该产品的特征或作用机理。

此外,承庆堂新零售在网上宣传活络消痛贴一贴就见效,且为全国骨科医院主任、院长推荐的品牌。

图片

但是根据我国《新广告法》第十六条医疗、药品、医疗器械广告不得含有下列内容:表示功效、安全性的断言或者保证;说明治愈率或者有效率;与其他药品、医疗器械的功效和安全性或者其他医疗机构比较;利用广告代言人作推荐、证明;法律、行政法规规定禁止的其他内容。

同时,在经销商朋友圈里,还有许多所谓的“使用者案例”被代理商用以证明该产品的功效,比如治好关节积液,一贴就见效等。

图片


显而易见,承庆堂新零售的经销商们在宣传过程中,存在使用他人名义保证或以暗示方法使人误解其效用的行为。有业内人士指出,任何产品的广告都应当真实、合法,不得使用他人名义保证或者暗示产品功效误导消费者。凡是有夸大功能、虚假宣传或者其他容易给消费者造成误解的,违反相关法律法规的内容,或涉嫌虚假宣传。








代理制度 特色何在?









最后,我们来了解一下承庆堂新零售的代理制度。据经销商小华(化名)介绍,承庆堂新零售代理一共有三个级别,分别是社区店、标准店、旗舰店。代理社区店需要购买1150元的产品,进货数量25盒,单价为46元;代理标准店,需要购买3900元的产品,进货数量100盒,单价为39元;代理旗舰店需要推5个标准店,或者直接购买8500元的产品,进货数量250盒,单价为34元。

图片

图片

而成为承庆堂新零售的旗舰店代理后,还有其他方式的奖励,具体奖励如下图所示:

图片

图片










后 记









据统计,2021年我国零售药店外用贴膏类用药销售规模接近60亿元。然而,引起疼痛症状的疾病很多,一些膏药产品却随意扩大适用范围,在宣传上过于夸大,用了“一贴见效”“无效退款”“包治百痛”等字眼,还有些贴膏在宣传时打“擦边球”,暗示对某些疾病有治疗作用。因此,在微商新零售盛行的当下,监管部门应加大监管力度,建立一套规范的监管措施和对策。至于承庆堂新零售,其在接下来的广告宣传上是否会规范行为?与国火公司石俊贵的合作是否是一个明智的选择?对此,微商电商调研将继续保持关注。

“老字号”承庆堂加入新零售,产品宣传是否虚假夸大?:http://www.fcxcn.cn/shehuiguanzhu/5900.html
反传销:www.fcxcn.cn 反传销柔儿团队主要负责寻人,上门反洗脑,现场解救劝说。团队长期在北海现场解救1040阳光工程,资本运作传销受害者,以及全国各地协助家属寻找北派传销的孩子(因传销而常年未回家者,被控制人身自由的人群),反传区域涉及:广西,广东,深圳,福建,江西,湖南,香港,浙江.附近有需要求助可与我们联系,孙老师13712257511
0