“想挣大钱、想挣快钱、想挣长久的钱,只有大魏酒业能实现!”、“打造大魏铁军!月分红可达数万元以上!”……近期,关于大魏酒业的广告语已出现在不少人的朋友圈中,并收获到了广泛关注,参与投资的网友也是比比皆是。
那么大魏酒业有着怎样的平台背景?大魏酒业公司在此前是否曾沦为失信被执行人、存在欠税记录?该平台现行的奖金制度该如何解读?“销售奖”、“回本机制”、“团队奖”、“绩效奖”、“福利奖”等奖项该如何解读?

诉讼缠身,失信记录
葫芦岛市大魏酒业有限公司原名葫芦岛市大屯酒业有限公司,法定代表人朱志刚,股东有程晓志(大股东)、辽宁省社会保障基金理事会(省产业(创业)投资引导基金管理中心)。据公众号“大魏商贸”介绍,葫芦岛市大魏酒业有限公司前身是葫芦岛市大屯龟灵春酒厂,始建于1972年。2013年4月,建昌县委、县政府为了振兴县域经济、发展地方特色产业,扩大产能,在市委政府以及县委县政府的大力支持下,程耀德董事长将原厂迁址到建昌县牤牛营子乡荆条沟村,同时更名为葫芦岛市大魏酒业有限公司。
值得注意的是,在该公众号发布的资料当中,董事长的名字有时写作程耀德,有时写作程晓志,这种说法无疑存在矛盾之处,根据相关公开报道显示,程晓志才是大魏酒业董事长真正的名字。

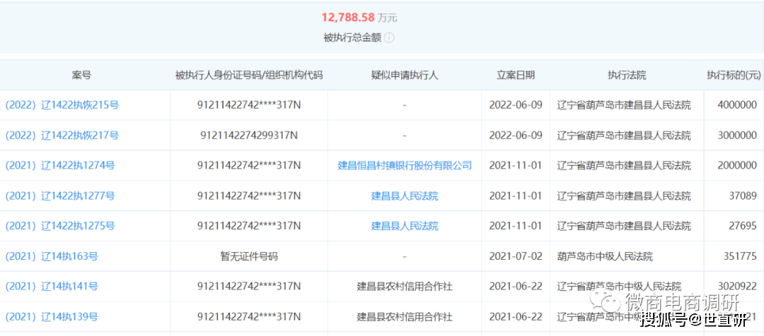
据企查查显示,在最近几年间,大魏酒业公司已数次沦为被执行人,被执行总金额达1亿元以上。

(图片来源:企查查)
而在此前,大魏酒业也已被法院列入了失信被执行人名录,原因分别是“违反财产报告制度”和“有履行能力而拒不履行生效法律文书确定义务”。


(图片来源:企查查)
在这个过程中,程晓志本人自然也存在数次被列为失信被执行人、限制高消费的不良记录。

(图片来源:企查查)
目前的大魏酒业公司已是诉讼缠身,而这些案件中有不少都跟借款合同纠纷、金融借款合同纠纷、服务合同纠纷有关。

(图片来源:企查查)
顺带一提,在不久前,大魏酒业公司还曾因为欠税问题遭到曝光,欠税余额总金额达到175万元以上。

(图片来源:企查查)
就是在这样一个屡屡被法院强制执行的背景下,麻烦缠身的大魏酒业于几个月前在线上又推出了一个新项目,显然,该项目背后所潜藏的种种风险已是不言而喻。
一万入场,两万回收?
接下来,我们就来关注一下大魏酒业旗下的这个项目所推行的奖金制度该如何解读。据推广人员提供的资料显示,大魏酒业的商业逻辑是这样的:每个人以1万元保证金进场,可免费领取龟灵春1972至尊品收藏版价值1万元的酒,2025年公司以2倍价格回收(以缴纳保证金之日算起,根据不同时间顺延),链接三个套餐(推荐或自购三个一万元的套餐)为任务达标,完成任务后,直接晋级大魏铁军合伙人,享受企业年利润分红(一年期)或10万元现金,押金即可退回。


也就是说,给该平台提供1万元保证金,领取等值的老酒,即可成为“大魏铁军”这个级别,三年后公司以双倍价格回购。直接分享或自购达到了3万元业绩,就能晋级大魏铁军合伙人。不同级别对应的收益自然不同,大魏铁军的收益金额为2万元,年化率达到33.3%;合伙人的收益金额为12万到18万元,利润来自回购收益加上终端市场分红。

拥有了会员资格后,推广市场自然也有收益可拿,直接分享20万+团队业绩150万,即奖励20万的红旗轿车一台;直接分享50万+团队业绩500万,即奖励50万的红旗轿车一台。合伙人每分享一个套餐即可享受1000元的现金奖励,次日结算。
多种奖励,返点丰厚
此外,大魏酒业在其奖金制度中还涉及到了具体的销售奖励,消费1080元购买一箱产品是一个级别,消费5040元购买五箱是另外一个级别,并获得销售员身份。不同级别对应的销售奖也有所不同,前者是15%,后者是20%。除了销售奖外,参与者能拿到的具体收益还包括“回本机制”、“团队奖”、“绩效奖”、“福利奖”。

其中,最值得一提的是团队奖,直招3个销售员,业绩达到30箱,奖励4%,成为组长;直招4个销售员,业绩达到100箱,奖励8%,成为主任;直招5个销售员,业绩达到500箱,奖励12%,成为部长;直招6个销售员,业绩达到1500箱,奖励16%,成为经理;直招7个销售员,业绩达到3000箱,奖励20%,成为总监。备注:100箱送一个铁军名额,平级为5%。
关于大魏铁军合伙人能拿到手里的月分红利润,同样被相关PPT资料描绘得十分可观。



不过,在上述资料当中,我们还发现了这样一行小字:“最终解释权归大魏商贸总裁办所有”,而非“最终解释权归大魏酒业所有”。调查发现,最近开始宣传大魏酒业的公众号“大魏商贸”的认证主体也正是葫芦岛市大魏商贸有限责任公司,而非大魏酒业公司,可见,该公司才是该项目真正意义上的经营主体。经查,该公司成立于2022年5月11日,法定代表人屈国富,股东有张迪、程晓富,虽然从工商信息来看,该公司与大魏酒业没有任何直接联系,不过该公司的注册地址却清清楚楚地写着“辽宁省葫芦岛市建昌县牤牛营子乡扎兰营子村大魏酒业厂内办公室”,可见,该项目无论如何都与大魏酒业有着紧密联系。
为了达到更好的招商效果,大魏酒业在上述宣传材料当中还使用了“想挣大钱、想挣快钱、想挣长久的钱,只有大魏酒业能实现”的广告语,且不论“挣大钱、挣快钱”的宣传话术是否存在过度营销,单单是“只有大魏酒业能实现”这句话就具有了排他性之意,这种宣传用语很可能被归类为不正当竞争。
时至今日,除了前文所述的专用于回收的“铁军收藏版”之外,大魏酒业在过往这些年间也已将多款酒产品推向市场,“铜绿龟酒”便是其中之一,在官方公众号“大魏酒业”发布的文章当中,存在着这样一段关于该产品功效的描述:“铜绿龟侧重气血的补充,对风湿、关节炎等疾病,有较高的治愈效果,对提高人体免疫力,抗疲劳等均效果显著。”

无论这段广告所描述的对象是铜绿龟酒,还是铜绿龟本身,上述涉及到医疗作用的广告语已然涉嫌违反了相关法规规定,我国《广告法》第十七条规定早已明确指出:除医疗、药品、医疗器械广告外,禁止其他任何广告涉及疾病治疗功能,并不得使用医疗用语或者易使推销的商品与药品、医疗器械相混淆的用语。
后 记
其实,早在2019年,大魏酒业就在线上推出过一个名叫“久美家园”的电商项目,不过该商城早已无法访问,谁也没有想到当初被大魏酒业寄予厚望的这个平台只能迎来无疾而终的结局。眼下,由葫芦岛赫达商贸有限公司(大魏酒业公司持股40%)所认证的公众号“龟灵春”旗下的“商城”板块在网友点击后,还会显示出“已停止访问该网页”的字样,原因是“该网页包含违法或违规内容”,同样,相关APP也早已无法下载。

至于大魏酒业在今后会如何发展?“2022年完成1000名大魏铁军打造”的目标能否顺利实现?对此,微商电商调研将继续保持关注。
来源:微商电商调研