自诩“隶属国资委”旗下的国潮商城到底是何来历?

首页 > 社会关注
编辑:广东反传销救助中心 日期:2022-09-28T14:34:1 人气:74

来源: 微商电商调研 #国潮商城#山西昀铎#蒋依甜

“国潮”意为“国风+潮流”,以中国传统文化为基础,集腔调、时尚于一身,是传统文化与现代时尚的结合体,更是东方美学的淋漓展现。近年来,国潮之风盛行。据统计,在2018年,“国潮”作为热门词语被中国互联网用户搜索了260亿次,而仅仅一年后,这一数据更是增长了400%,国潮崛起既助推了民族元素在时尚界的盛起之势,又给了民族品牌巨大的商业契机。众多公司企业也纷纷投身于国潮营销中。近日,一个名为国潮商城的平台走进大众视野,宣称致力于消费助农,打造乡村振兴,助力于万千优质国货品牌的崛起。那么,国潮商城到底是何来历?商城产品是否涉嫌虚假宣传?商城的代理模式又有何特色?

平台背景国资委背书?

据国潮经销商介绍,国潮隶属于国资委旗下直属公司山西昀铎实业有限公司运营的潮流线上商城。

据企查查显示,山西昀铎实业有限公司成立于2022年4月12日,法定代表人为蒋依甜,经营范围包含煤炭及制品销售;非金属矿及制品销售及金属材料销售等。公司股东为中深鹏瑞科技集团有限公司,持股100%。中深鹏瑞科技集团有限公司的股东是中财国资(北京)企业管理有限公司,中财国资(北京)企业管理有限公司的股东是国家电力公司,国家电力公司隶属国资委。

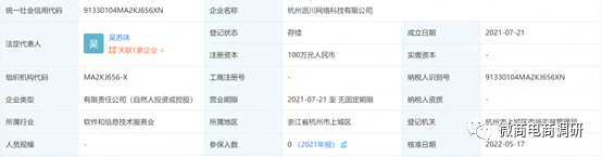
但是,据经销商介绍国潮商城的运营中心在杭州,成立了杭州沥川网络科技有限公司。据企查查显示,杭州沥川网络科技有限公司成立于2021年7月21日,法定代表人为吴苏珠,注册资本为100万,实缴资本0元,参保人数为0人,股东是吴苏珠,持股99%,还有一个股东是于朋,持股1%。

但是显而易见的是,所谓国资委旗下的山西昀铎实业有限公司,与杭州沥川网络科技有限公司在工商信息的层面上并无任何瓜葛。因此,我们为了求证两者关系,致电山西昀铎实业有限公司的股东公司中深鹏瑞科技集团有限公司,对方表示没有听过国潮商城,并不了解。所以,所谓国资委背书赋能,对于商城的会员和代理商来说,无疑是存在误导的,或者说是有歧义的。

商城产品价格悬殊

接下来,我们来了解一下国潮商城的产品。商城产品分为几个板块,包括助农产品,智能家电,美妆护肤及健康管理等板块。

而智能家电的价格也颇为引人注意,比如创维三头真空吸尘器M709在商城售价1680元,创维菜板餐具保洁机ZTD-X10A售价1880元。那么这两个产品的定价是否虚高?我们以这两个产品为例,其在其他电商平台的售价分别是188元及183元。相较之下,国潮商城中吸尘器和餐具保洁机上千元的价格确实高的离谱。这种挂羊头卖狗肉的行为,吸引消费者购买高于市面价格的产品,看似既可以得钱,又可以获得产品,实际上是让消费者浪费时间,吸引他们消费,缴纳智商税。

揭底制度有何特色?

文章最后,我们来了解一下国潮商城的制度。国潮经销商介绍国潮商城是2022爆火商业模式,只属于国企控股,口碑好实力强,人人可参与。

据经销商发来的资料显示,国潮商城的消费方式是需投资100-3000元,即可参与抢单,抢购成功,24小时退回60%潮豆,出局后可收获5%,可全部提现。

消费者在国潮线上商场花3000认购商品,选购商品,国潮商城会和消费者签一个协议:按照认购赠送规则,赠送消费者1:1潮豆+10%燃料。

且国潮商城代理分为消费者,店长,经理和馆长这四个级别:

消费者:注册即可参与购买燃料;

店长:服务5个直属潮粉,团队流水2万,可享销售业绩的2%奖励;

经理:服务10个直属潮粉+体系内有30个店长,可享销售业绩的5%奖励;

馆长:服务30个直属团长潮粉+体系内300个店长,可享销售业绩的7%奖励。

同时还有代理之间还有平级奖励,店长与店长是10%,经理与经理是10%,馆长与馆长是20%的平级奖励。

国潮经销商发来的资料显示,国潮代理商的收入是还可通过自己消费和团队之间分享来赚取收入的。

除此之外,国潮商城代理商还可以赚取津贴,主要是通过消费来赚取收益:

1、根据每期消费抢购的金额第二天返回60%;

2、每期的抢购津贴是抢购金额的5%;(用40%的金额赚取100%的利润,利益最大化)

3、每一期的抢购时间周期【5天】;

第5天广告任务结束获得第1期抢购金额+5%收益

第6天广告任务结束获得第2期抢购金额+5%收益,

第8天广告任务结束获得第3期抢购金额+5%收益。

据国潮经销商发来的资料介绍,国潮商城的模式原理是安全的,每1期递增20%额度,每1期递增20%就是平复上一期所有的泡沫,以此类推。

后 记

近几年,个别企业为了追求更好的招商效果,打着助农,央企,国企还有民族品牌等噱头,过度营销,夸大宣传。国潮商城以消费增值积分返利吸引消费者加入,实际上是存在很高的风险。有业内人士也曾指出:“某些返利盘一天返多少,一个星期返多少,违背金钱的流通性规律,当进场量不够支撑提现出口量的时候,资金链就会断裂,崩盘。”至于以“助力乡村振兴,国货崛起”的国潮商城会如何发展?商城产品与其他平台的产品价格差距巨大,是否对消费者来说是一种欺骗呢?对此,微商电商调研将继续保持关注。

版权所有,未经授权,禁止转载!

自诩“隶属国资委”旗下的国潮商城到底是何来历?:http://www.fcxcn.cn/shehuiguanzhu/6410.html
反传销:www.fcxcn.cn 反传销柔儿团队主要负责寻人,上门反洗脑,现场解救劝说。团队长期在北海现场解救1040阳光工程,资本运作传销受害者,以及全国各地协助家属寻找北派传销的孩子(因传销而常年未回家者,被控制人身自由的人群),反传区域涉及:广西,广东,深圳,福建,江西,湖南,香港,浙江.附近有需要求助可与我们联系,孙老师13712257511
0