思凝嗨赚:普通化妆品宣传亮白,0风险模式涉嫌多层次团队计酬?

首页 > 社会关注
编辑:广东反传销救助中心 日期:2022-11-03T9:12:51 人气:54

有观点认为,社交新零售的兴起,让越来越多的企业开始发现和重视可以被企业自由反复利用、无需付费又能随时触达的“私域流量”。近年来,布局社交新零售领域的互联网平台也是与日俱增,“思凝社交新零售”便是其中之一。

那么思凝社交新零售有着怎样的平台背景?“本宫秀紧致焕颜淡纹修护乳”这款产品宣传“亮白”是否合理?“美沿石斛兰鲜肌修护啫喱”可以宣传消炎作用吗?以“0风险、高回报”著称的思凝社交新零售现行的奖金制度被专家指出存在哪些法律风险?

图片




亮白功效?是真是假?


经查,河北思凝生物科技有限公司是公众号“思凝社交新零售”的认证主体,该公司成立于2015年3月26日,法定代表人王立龙,股东有王立龙(大股东)、沈兴宏,注册资本333万元,据2020年度报告显示,该公司的实缴出资情况与员工参保情况如下:

图片


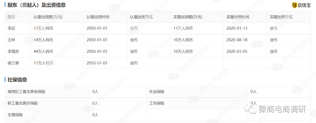
思凝社交新零售又称“思凝嗨赚”,另外一家名为秦皇岛思凝嗨赚网络科技有限公司的企业也与之关联紧密,该公司是公众号“思凝嗨赚”的认证主体,这家公司成立于2020年1月3日,法定代表人李征,股东有李瑞发、王林、李征、侯兰翠,注册资本110万元,据2020年度报告显示,该公司股东的实缴出资额为31万元,参保员工为0人。

图片


在思凝嗨赚商城中,秦皇岛思凝嗨赚网络科技有限公司作为委托方委托其他企业生产的多款化妆品也名列其中,“本宫秀紧致焕颜淡纹修护乳”就是其中之一,该产品被商品详情页面宣传出了具有“亮白”功效。

图片


而事实上,该产品仅为国产非特殊用途化妆品,备案编号为冀G妆网备字2020002129,生产企业为广州栋方生物科技股份有限公司,众所周知,美白是特殊用途化妆品才具备的功效,而思凝嗨赚平台在介绍该产品时使用“亮白”这个广告语,很容易误导消费者以为该产品具有美白功效。我国化妆品分为特殊化妆品和普通化妆品,用于祛斑美白的化妆品为特殊化妆品。对于上述涉嫌虚假宣传的有关材料,《化妆品卫生监督条例》第十四条指出,化妆品的广告宣传不得有下列内容:(一)化妆品名称、制法、效用或者性能有虚假夸大的。因此,普通化妆品在广告中标注“美白淡斑”等特殊化妆品功效,涉嫌构成了虚假功效宣称行为。

关于普通化妆品广告是否能使用“透亮”、“白嫩”、“亮白”、“改善暗黄”、“改善暗沉”等用语,“腾讯广告法务”也早就给出了明确的答案:宣称“白嫩”、“亮白”等美白功效的化妆品应注册为特殊化妆品,普通化妆品不得宣称具有美白功效。

不久前,位于上海的某化妆品企业的员工因在对普通化妆品的宣传中,使用了“亮白”等广告语,最终招致该公司收到有关监管部门开出的10万元罚单。

图片




化妆产品,消炎作用?


还是在思凝嗨赚商城中,在“课程”板块,有资料显示“美沿石斛兰鲜肌修护啫喱”这款产品具有消炎作用。

图片


另外一款名为“美沿青春冻龄明眸多效眼霜”的产品也被有关课程宣传为具有“抗敏”作用。

图片


在官方公众号“思凝社交新零售”发布的文章中,也出现了“美沿石斛兰鲜肌修护面膜”具有“消炎”、“抗敏”等医疗功效的广告词。

图片


而事实上,上述三款产品仅为国产非特殊用途化妆品,“美沿石斛兰鲜肌修护啫喱”的备案编号为晋G妆网备字2018000532;“美沿青春冻龄明眸多效眼霜”的备案编号为G妆网备字2017000937“美沿石斛兰鲜肌修护面膜”的备案编号为G妆网备字2018000593;虽然这些产品目前都已注销,但在有关产品上市时就出现的“课程”,以及官方公众号对有关产品进行宣传的文章至今仍未被删除处理。

顺带一提,在此之中的个别产品还曾存在“责令改正”的记录,原因为“产品安全技术相关资料不符合要求”。


根据《化妆品命名规定》、《化妆品命名指南》等文件要求,化妆品宣称用语应根据其语言环境来确定,禁止表达的词意或使用的词语包括但不限于以下词语:医疗术语、明示或暗示医疗作用和效果的词语。显然,该商城宣传的“抗炎”功效超出了化妆品定义,属于超范围宣传和宣传医疗作用,属于违规宣传。《化妆品标签标识管理办法》第十五条规定,明示或暗示具有医疗作用的内容为禁止标注的内容,其中就包括“抗敏”“消炎”等关键词。对于上述涉及医疗作用的宣传材料,我国《广告法》第十七条规定,除医疗、药品、医疗器械广告外,禁止其他任何广告涉及疾病治疗功能,并不得使用医疗用语或者易使推销的商品与药品、医疗器械相混淆的用语。



没有风险?并不可信


涉及到违规宣传的除了产品,还有项目本身,在微博号“思凝嗨赚运营总部”发布的相关宣传材料当中,我们还发现“0风险”这个字眼。


类似的宣传材料不胜枚举。

图片


无独有偶,公众号“思凝国际”也同样认为思凝嗨赚是个0风险的项目,经查,该公众号的认证主体是广州思凝生物科技有限公司,该公司曾连续20多次被法院列为被执行人,截止2022年1月,该公司未履行总金额高达130多万元,如今已经处于“吊销”的经营状态。

图片


值得注意的是,河北思凝生物科技与广州思凝生物科技有限公司之间的关联十分紧密,两家公司也曾数次一同出现在被告席当中。

图片


众所周知,风险总是与回报相挂钩的,然而,在一些思凝嗨赚推广人员的宣传下,这个项目不但没有风险,而且还是高回报。


对此,我国《广告法》第二十五条对于投资理财类广告有明确约束:“招商等有投资回报预期的商品或服务广告,应当对可能存在的风险以及风险责任承担有合理提示或者警示,并不得含有下列内容:一是对未来效果、收益或与其相关的情况作出保证性承诺,明示或者暗示保本、无风险或者保收益等;二是利用学术机构、行业协会、专业人士、受益者的名义或者形象作推荐、证明。”



揭底模式,涉传风险?


文章的最后,我们就来了解一下被有关推广人员称之为零风险的思凝嗨赚在当下推行的是怎样的奖金制度。据推广人员阿丽(化名)介绍,思凝嗨赚主要将参与者分为三个级别,即小嗨主、大嗨主、金冠。小嗨主注册需要200元,直接销售15个小嗨主礼包,可以升级大嗨主;直接销售30个小嗨主礼包,创富空间业绩累计6万,可以升级金冠。

接下来,我们再来看看推广收益。举例而论,小嗨主分享一个79元的石斛面膜给顾客时(对于嗨主来说,每盒石斛面膜价格79元,对于顾客来说,每盒石斛面膜价格是99元),顾客购买价格为99元。小嗨主分享赚的利润为:20元红包奖加上4.74元推荐奖等于24.74元。大嗨主分享一个顾客购买此套餐,分享赚的利润为:20元红包奖加上4.74元推荐奖加上9.48元业绩分红等于34.22元。金冠分享一个顾客购买此套餐,分享赚的利润为:20元红包奖加上4.74元推荐奖加上18.96元业绩分红等于43.7元。具体利润如下:

图片


对于上述制度,本平台也请来了行业专家对其进行分析,该专家指出:“成为小嗨主有门槛费,升级条件是拉人头,收益模式存在多层次团队计酬,显而易见,这是一个明显的涉传模式。



后 记


近年来,随着违法广告的屡见不鲜,国家对于违法广告的监督管理也愈发严格,如果在广告中含有零风险的表达,这类广告就需要额外警惕。普通群众在投资时,一定要保持理性,投资必然有风险,凡是夸大宣传说没有风险的,肯定是有假。总而言之,避免上当受骗的最好办法就是要首先树立理性投资理财观念,切勿轻易相信所谓“无风险、高收益”的宣传。

至于思凝嗨赚在今后会如何发展?围绕着有关产品出现的虚假宣传的问题,能否得到有关公司的重视与整改?对此,微商电商调研将继续保持关注。


思凝嗨赚:普通化妆品宣传亮白,0风险模式涉嫌多层次团队计酬?:http://www.fcxcn.cn/shehuiguanzhu/6517.html
反传销:www.fcxcn.cn 反传销柔儿团队主要负责寻人,上门反洗脑,现场解救劝说。团队长期在北海现场解救1040阳光工程,资本运作传销受害者,以及全国各地协助家属寻找北派传销的孩子(因传销而常年未回家者,被控制人身自由的人群),反传区域涉及:广西,广东,深圳,福建,江西,湖南,香港,浙江.附近有需要求助可与我们联系,孙老师13712257511
0