【警惕】炒作火热的九溪堂苗帮正极东方筋骨贴,总代就能躺赚?套路!

首页 > 社会关注
编辑:广东反传销救助中心 日期:2023-02-06T8:22:57 人气:18
  • 投融新资讯消息:近日,有用户向投融新资讯反映,有一款“九溪堂苗帮正极东方筋骨贴”的膏药号称能治疗多种腰骨疼痛,加入其总代后更是能躺平赚钱,想让小编看看是否靠谱?真有这么好的项目?那就与本平台一起走近了解一下。

    图片

    据宣传资料显示,九溪堂苗帮正极东方筋骨贴是由北京九溪堂生物科技有限公司自主研发的保健类贴剂产品,主要针对颈椎病、腰间盘突出、强直脊柱炎、关节炎、骨质疏松等症状。


    据代理提供的资料显示,“苗帮正极”该商标是由浙江苗正生物科技有限公司注册申请的,由浙江苗帮正极商贸有限公司推广运营,从九溪堂官方的小程序也可以明显看出,运用主体也正是该公司。

    图片


    据企查查公开信息显示,北京九溪堂生物科技有限成立于2016年9月7日,法定代表人以及股东均是傅红卫,目前该公司已经处于注销状态。

    浙江苗帮正极商贸有限公司成立于2018年12月10日,法定代表和唯一的股东同样都是傅红卫,投融新资讯注意到该公司高管名单中有张宏,其任职公司的监事,而此张宏正是浙江苗正生物科技有限公司的实际控制人和大股东。


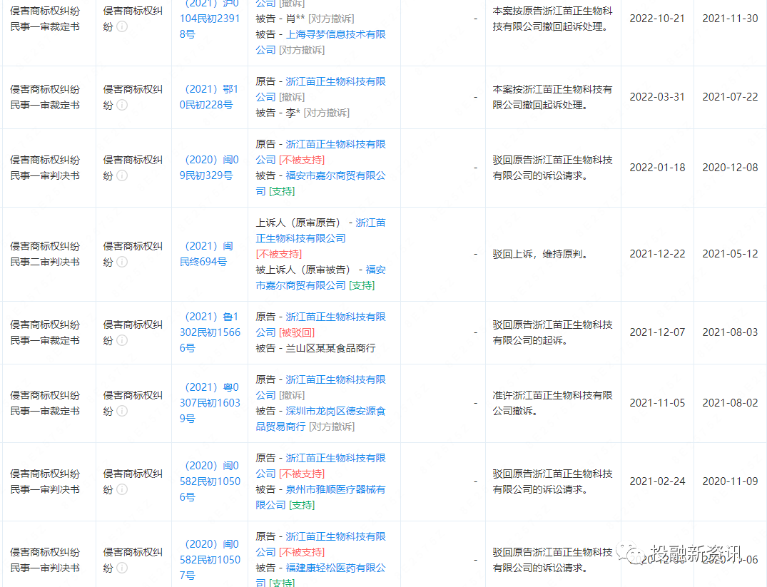
    值得一提的是,同样成立于2018年的浙江苗正生物科技有限公司,截至目前所涉及的司法案件24起,立案信息就有18起,其中大多数为商标权纠纷,虽然该公司均作为原告,实际上从最终的裁判文书来看,90%以上均以原告撤诉为主结束。

    图片

    据宣传资料显示,九溪堂苗帮正极东方筋骨贴有四大优势:

    一、58味中草药,不含麝香、麻醉神经止痛药,无任何副作用!

    二、2个永磁片,一正一负与人体磁场相互作用,排出寒气,促进药理深入病灶!

    三、1000目远红外粉,微波震动作用人体,打通人体血流淤堵!

    四、0过敏!采用医用高级水丝布,用后无残留,干净安全!

    从适用范围来看,更是多达数十种,无论是落枕、颈椎病、肩周炎、腰椎间盘突出,还是骨质增生,静脉曲张,强直性脊柱炎等,都在范围内。

    图片

    代理群中,更有案例显示,大姐肩周炎疼痛多年,只贴了一天时间的苗帮正极,左手就不痛了,右手也好很多了!

    图片

    更有推广的视频,一位大叔膝盖痛加腰椎间盘突出,只贴了两次就好多了。

    图片

    实际上,在药品价格315网上早已曝光:国家药品监督管理局没有批准名称为“东方筋骨贴”的药品或医疗器械(国家药品监督管理局查询返回的结果),此款“九溪堂苗帮正极东方筋骨贴”不是药品或医疗器械,没有治疗功效。

    至于上述涉及到疾病治疗的内容,《广告法》第十七条规定,除医疗、药品、医疗器械广告外,禁止其他任何广告涉及疾病治疗功能,并不得使用医疗用语或者易使推销的商品与药品、医疗器械相混淆的用语。因此上述广告宣传不但会误导消费者,甚至还会影响消费者的身体健康乃至生命安全,显然已经违法!

    据资料显示,苗帮正极东方筋骨贴的生产单位是陕西圣方生物工程有限公司,该公司成立于2003年8月,注册资本60万元人民币,实缴60万,法定代表人章启鹏为实际控制人和大股东,另外一位股东则是雷芳芳。

    图片

    据企查查2021年参保数据显示,该公司有且仅有2人购买了社会保险。据了解,该公司名下分支机构共同有三家,分别是:陕西圣方生物工程有限公司高新分公司、陕西圣方生物工程有限公司西安分公司、陕西圣方生物工程有限公司分公司,其中后两家均已被吊销执照。

    图片

    该公司截止目前,曾被当地监管部门做出过三次行政处罚,2016年1月,因生产销售未经检验的保健用品被当地监管部门做出相关的行政处罚;2019年3月,因生产的“舒贝因精纯妇用抑菌液”未标注变更后的配方以及安全评估内容进行更新;2019年5月因违反《消毒管理办法》第三十一条的规定,依法给予行政处罚人民币5000元整。

    据推广员介绍,加入苗帮正极东方筋骨贴的代理后更是可以赚大钱。尤其是目前年终有大促销,4箱就能升级总代了,还能多赠送一箱(原门槛是10箱)。

    图片

    从推广员提供的资料可以看出,代理的级别一共分为三级:

    区代:拿货1箱,总价是5400元,拿货是90元/盒

    市代:拿货4箱,总价是16800元,拿货是70元/盒

    总代:拿货10箱,总价是30000元,拿货是50元/盒

    图片

    但据推广员介绍,目前招代理主要是推荐做总代,因为市代只是赚差价,而从总代开始。总代招总代公司就给返利了,然后你所招的代理的所有业绩也均和你有关系。就比如,你做了总代后,即使你之后不再补货,但是只要你招到的总代后续有补货,他所有的业绩都能给你返利。

    图片

    达到一定的业绩,还有业绩奖,具体如下表:

    图片

  • 不难看出,从推行的奖金制度来看,苗帮正极东方筋骨贴代理赚钱的核心就是拉人头,以分享经济为诱饵,进行团队计筹和返利的行为,实际上已经与我国现行的法律相违背了。

    根据《禁止传销条例》第七条规定,下列行为,属于传销行为:

    (一)组织者或经营者通过发展人员,要求被发展人员发展其他人员加入,对发展的人员以其直接或者间接滚动发展的人员数量为依据计算和给付报酬(包括物质奖励和其他经济利益,下同),牟取非法利益的;

    (二)组织者或经营者通过发展人员,要求被发展人员交纳费用或者以认购商品等方式变相交纳费用,取得加入或者发展其他人员加入的资格,牟取非法利益的;

    (三)组织者或经营者通过发展人员,要求被发展人员发展其他人员加入,形成上下线关系,并以下线的销售业绩为依据计算和给付上线报酬,牟取非法利益的。

    投融新资讯在此提醒大家:牢记传销的特征,不要被推销者的诱惑所动摇,更不要盲目跟风,做任何投资都要三思而后行,不要触碰法律的底线。至于九溪堂苗帮正极后续如何发展?投融新资讯将持续保持关注!

【警惕】炒作火热的九溪堂苗帮正极东方筋骨贴,总代就能躺赚?套路!:http://www.fcxcn.cn/shehuiguanzhu/6608.html
反传销:www.fcxcn.cn 反传销柔儿团队主要负责寻人,上门反洗脑,现场解救劝说。团队长期在北海现场解救1040阳光工程,资本运作传销受害者,以及全国各地协助家属寻找北派传销的孩子(因传销而常年未回家者,被控制人身自由的人群),反传区域涉及:广西,广东,深圳,福建,江西,湖南,香港,浙江.附近有需要求助可与我们联系,孙老师13712257511
0