目目瞳学:消字号产品宣称可针对多种眼疾,案例不断是否可信?

首页 > 社会关注
编辑:广东反传销救助中心 日期:2023-02-13T16:13:0 人气:17

据2020年《中国眼健康白皮书》显示:我国儿童青少年近视眼总体发生率为53.6%,大学生总体发生率超90%。在这样的背景下,各种各样的护眼产品层出不穷,在近两年来,就有一款名为“目目瞳学”的护眼品牌吸引来了不少人的关注。

那么这个目目瞳学究竟是一款怎样的品牌?亮目子公司和目目瞳学公司有何关联?“目目瞳学纳米雾化眼部护理套装”真的可以改善近视和治疗结膜炎,甚至对白内障都有显著效果吗“只要身边有一个目目瞳学,就再也没有近视的苦恼”等广告语是否与《关于进一步规范儿童青少年近视矫正工作切实加强监管的通知》所要求的内容相悖?现行奖金制度该如何解读?

图片

图片

两家公司,三大板块

图片

有公开资料介绍,目目瞳学这个项目的经营主体为福建亮目子科技有限公司,该公司是微信小程序“目目瞳学数字近视防控档案”的认证主体,也是公众号“亮目子”的认证主体,据悉,福建亮目子科技有限公司隶属于康明集团旗下的控股子公司,是一家致力于研发、生产、销售、技术服务为一体的高科技公司,为人类眼部健康服务的企业,将传统医学精髓与现代科技相结合,深入研究并发展眼部健康相关服务。纳米雾化眼部护理套装就是由目目瞳学引入中国大陆的。

该公司成立于2019年10月31日,法定代表人许沛,股东有许沛(大股东)、许永平,注册资本1000万元,据2020年度报告显示,该公司股东的认缴出资时间在2049年,参保员工为0人。

图片

说到许沛,此人最开始的身份还是目目瞳学宁德霞浦加盟商。据悉,许沛目前还是霞浦县目目明保健服务部的法定代表人。

图片

眼下,用户在访问福建亮目子公司的官网(www.liangmuzi.com)时,会被提示“网站暂时无法访问”,原因为“该网站未根据工信部相关法律规则进行备案”。

图片

值得注意的是,还有一家名为福建目目瞳学健康管理有限公司的企业,与该公司有相同的电话和地址,还有资料声称,该公司才是目目瞳学的经营主体。调查发现,该公司是目目瞳学系列商标的申请人,也是公众号“目目瞳学”和“福建国御堂健康管理有限公司”的认证主体。

经查,该公司原名福建国御堂健康管理有限公司,成立于2018年9月12日,2020年7月8日更名为福建目目瞳学健康管理有限公司。据官网介绍,福建目目瞳学健康管理科技有限公司是隶属康明集团旗下的控股子公司,是一家致力于研发、生产、销售、技术服务为一体的高科技公司。公司致力于融汇传统医学精髓与现代科技,通过“防+控+调”三合一的综合预防视力下降的一体化服务,深入研究与发展眼部健康养护技术,为人类眼部健康提供高品质服务。

该公司法定代表人陈言祖,股东有林秋亮(大股东)、罗星、陈言祖、余元武,注册资本1000万元,顺带一提,林秋亮在2020年7月24日之前还是福建亮目子科技有限公司的实控人。据2020年度报告显示,该公司股东的认缴出资时间在2048年,参保员工同样为0人。


现如今,公众号“福建国御堂健康管理有限公司”中的商城在用户访问时,会提示“已停止访问该网页”,原因是“据用户投诉及腾讯安全网址安全中心检测,该网页包含不安全内容。为维护绿色上网环境,已停止访问”。

图片


而关于亮目子公司和目目瞳学公司之间的关系,下图或许能进行一个很好的说明:

图片


在公司管理层方面,据官方资料显示,康明集团康明眼镜创始人、康明宝岛眼镜创始人王为义是亮目子公司的董事长,他也是福建目目瞳学健康管理有限公司的创始人;唐宝丰是目目瞳学首席技术顾问;孙彤是亮目子公司总裁,目目瞳学合伙人和目目瞳学全球新零售运营总监;唐凌燕是目目瞳学技术总监、目目瞳学高级验光师和联合创始人;徐宥明是运营总监;张楠是商学院院长;贾烁楠是商学院培训导师;陈言祖是目目瞳学公司负责人、目目瞳学核心股东、目目瞳学慈善基金会理事。

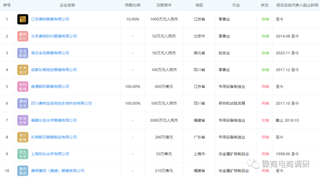
眼下,由王为义担任法定代表人的公司众多,其中的北京康明时代眼镜有限公司已连续多年被有关部门列入企业经营异常名录,至今未被移除。

顺带一提,据企查查显示,目前在他名下的企业共有十家,其中超过半数都已处于吊销或注销的经营状态。

图片


图片

消毒产品,虚假宣传

图片

接下来,我们再来看看目目瞳学旗下的产品被包装出了怎样的作用。在有关宣传材料的介绍下,近视、弱视、散光、远视、眼干眼涩、眼疲劳、干眼症、眼红血丝、沙眼、眼袋、黑眼圈、角膜炎、老花眼和迎风流泪等疾病或症状似乎都不在“目目瞳学纳米雾化眼部护理套装(内含雾化器和护理液)”的话下。

图片

另有资料指出,该产品对结膜炎也有显著效果。

而事实上,据经销商提供的产品外包装显示,该产品的许可证号为(渝)卫消证字(2019)第0858号,执行标准为Q/CQSJY 022-2020,产品委托方是台湾宝岛康明眼镜股份有限公司,中国经销商是福建亮目子科技有限公司,被委托方是重庆视健眼健康产业有限公司。显然,该产品仅是消毒产品,并非药品或医疗器械,而消毒产品的使用范围不应包括治疗各种眼疾。

图片

因而,上述广告宣传的功能主治、适用范围超出了批准的内容,并含有不科学地表示功效的断言和保证等内容,严重欺骗和误导消费者。对于上述涉及到结膜炎、角膜炎、沙眼等病症的广告语,我国《广告法》第十七条规定,除医疗、药品、医疗器械广告外,禁止其他任何广告涉及疾病治疗功能,并不得使用医疗用语或者易使推销的商品与药品、医疗器械相混淆的用语。

为了让更多人相信上述产品的功效,有关公众号还晒出了诸多案例为其功效佐证。

图片

显而易见,这些案例的出现,还将涉及使用他人名义保证或以暗示方法使人误解其效用的行为。有业内人士指出,任何产品的广告都应当真实、合法,不得使用他人名义保证或者暗示产品功效误导消费者。凡是有明示或者暗示具有医疗作用的,夸大功能、虚假宣传或者其他容易给消费者造成误解的,违反相关法律法规的内容,或涉嫌虚假宣传。对此,我国《广告法》第二十八条也有规定:广告以虚假或者引人误解的内容欺骗、误导消费者的,构成虚假广告。并且此法还规定广告有下列情形之一的,为虚假广告:商品的性能、功能、产地、用途、质量、规格、成分、价格、生产者、有效期限、销售状况、曾获荣誉等信息,或者服务的内容、提供者、形式、质量、价格、销售状况、曾获荣誉等信息,以及与商品或者服务有关的允诺等信息与实际情况不符,对购买行为有实质性影响的。

至于上述涉及到改善近视的宣传是否可信这类问题,有专家团在《新快报》的报道中表示,市面上各种宣称能够矫正视力的产品往往夸大其词。其实,近视超过150度之后,几乎很难逆转,所以不要轻信商家的宣传措辞。即使要使用这些产品,最好先到医院咨询专家,避免使用不正规、不合格的产品。还有专家在公众号“梁溪检察”的文章中指出:判断近视的主要指标是屈光程度和眼轴的变化,而非简单的视力,主要呈现为眼睛眼轴的延长,是不可逆转的,因此也无法实现儿童青少年近视度数的降低,更别说治愈。

治疗眼疾?延误病情

而至于涉及到护眼产品对结膜炎的宣传,《京华时报》早先就曾曝光了一起某产品以消字号的资质宣称其可以治疗结膜炎的事件,望京医院皮肤科主任李广瑞在这篇报道中指出:消字号是卫生消毒用品生产单位在生产新品前,经地方卫生部门审核批准后,取得的生产批准文号。消字号产品都是用于杀灭或清除传播媒介上的病原微生物,为提高公共卫生质量而批准的一类产品。消字号仅属于卫生消毒用品范畴,消字号仅有消毒功能不具备治疗效果,因此,不应该对消字产品做任何有疗效的宣传。

图片

尤为值得注意的是,在“目目瞳学纳米雾化+眼部护理套装”产品外包装上的“注意事项”明确写有如下字样:“眼部急性炎症期间严禁使用”。而众所周知的是,结膜炎就包括有急性结膜炎,而急性结膜炎无疑属于眼部急性炎症,那么这样的说法无疑与上述宣传相悖。


图片

此外,我们还发现公众号“目目瞳学”还在题为《“纳米雾化精华液”目目瞳学养眸仪简介》的文章中特别指出,目目瞳学眼部护理套装对白内障有显著效果。

图片


关于白内障的有效解决手段,中山大学中山眼科中心白内障科主任陈伟蓉教授曾指出:许多老年患者宁愿吃药、打针、滴眼药水,也不愿意动手术,实际上消除白内障的最好方法仍是手术。无独有偶,同济大学附属东方医院眼科主任也曾明确表示:“截至目前:世界上没有一个能有效治疗白内障的药物。有效治疗白内障的唯一方法是手术摘除白内障并植入人工晶体!”因而,若有白内障患者听信了这样的宣传,将不可避免地贻误病情。

归根结底,“消毒产品”不是“药”,《消毒产品管理办法》第三十三条规定:消毒产品的命名、标签(含说明书)应当符合卫生部的有关规定。消毒产品的标签(含说明书)和宣传内容必须真实,不得出现或暗示对疾病的治疗效果。《消毒产品标签说明书管理规范》第三条规定:消毒产品标签、说明书标注的有关内容应当真实,不得有虚假夸大、明示或暗示对疾病的治疗作用和效果的内容。

“奉节县卫生健康执法支队”曾在查处一起商家以消毒产品宣传治病的案件中指出:在生产经营消毒产品时,不仅产品标签说明书要规范标注产品信息,还要在实际的销售过程中,不得有虚假夸大、明示或暗示对疾病的治疗作用和效果。而有“巧合”的是,重庆视健眼健康产业有限公司的注册地就在重庆市奉节县,而且该公司也遭到过奉节县当地监管部门的处罚。

在本篇报道中,我们了解到了目目瞳学的公司背景,以及有关产品所宣传的功效是否靠谱,在下篇报道中,我们将从重庆视健眼健康产业有限公司因何遭到行政处罚开始说起,请继续关注微商电商调研。


目目瞳学:消字号产品宣称可针对多种眼疾,案例不断是否可信?:http://www.fcxcn.cn/shehuiguanzhu/6640.html
反传销:www.fcxcn.cn 反传销柔儿团队主要负责寻人,上门反洗脑,现场解救劝说。团队长期在北海现场解救1040阳光工程,资本运作传销受害者,以及全国各地协助家属寻找北派传销的孩子(因传销而常年未回家者,被控制人身自由的人群),反传区域涉及:广西,广东,深圳,福建,江西,湖南,香港,浙江.附近有需要求助可与我们联系,孙老师13712257511
0