“美澳车动力”曾被法院判决涉传,卷土重来制度何解?

首页 > 社会关注
编辑:广东反传销救助中心 日期:2023-04-22T14:32:36 人气:68

“美澳车动力,绿色出行,为爱前行!美澳车动力可以保护发动机、节省燃油、清除积碳、净化尾气,省钱又环保,只需要1000元就可以做代理,加入就送200人团队,自用省钱,分享赚钱!”美澳新动力推广人员这样介绍道。


近日,“直面商业”发现美澳车动力的推广人员在各大社交平台宣传其产品“美澳车动力燃油催化改良剂”可以节能、减排、助力、护车,产品适用于所有车型和燃油,是国家权威产品,军工科技。成为代理就送200人团队,动静结合享受全网业绩分红,收益无限循环。那么事实究竟如何呢?


图片


曾被质疑涉传?联合创始人被冻结财产


图片


据了解,美澳车动力燃油催化改良剂是云南美澳环保科技有限公司旗下的产品。宣传资料显示,云南美澳环保科技有限公司是一家专注于新能源、节能减排、生态环境保护产品研发、生产、销售为一体的高科技企业,还晒出了十多项的荣誉证书。


图片

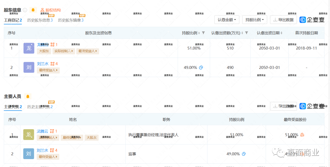
Δ图片来源:企查查



企查查APP显示,云南美澳环保科技有限公司成立于2012年3月16日,注册资本为1000万元,实缴资本为214.705万元,法定代表人为龙腾云。该企业由龙腾云控股51%并担任执行董事兼总经理,刘兰水持股49%并担任监事,龙腾云和刘兰水同时也是公司的联合创始人。


图片

Δ美澳联合创始人 龙腾云


图片

Δ美澳联合创始人 刘兰水



公开资料显示,龙腾云是公司董事长,中国创业家俱乐部常务理事、原NK175传媒创始人、原NK175一毛钱基金会创始人,刘兰水是公司的技术总工。


图片

Δ图片来源:裁判文书网



值得注意的是,2019年,刘兰水曾因云南美澳环保科技有限公司销售“车动力”采用的会员制度和奖励制度涉嫌违反《禁止传销调理》,被广平县市场监督管理局查封冻结了名下财产。刘兰水不服还向法院提起了诉讼,请求判决广平县市场监督管理局的行为违法并解除对其财产的冷冻、查封,最终被驳回。


Δ图片来源:企查查


而云南美澳环保科技有限公司还曾因合同纠纷案由被起诉3次,因侵害作品信息网络传播案由被起诉1次,因通过登记的住所或者经营场所无法联系被列入经营异常名录。


图片

图片

图片

Δ片来源:中国经济网


此外,早在2018年9月,中国经济网就转载了都市时报的《10天提现7000元,只要投资398元就可月入过万》一文。文章质疑了美澳公司在推广产品“省油1号”时,采取的奖金制度与我国《禁止传销条例》有冲突,还质疑了其资质证书的真实性,记者表示,其中的证书《中国绿色环保产品》在官网输入编号查询根本查询不到产品。而如今,美澳公司又带着“美澳车动力8.0”和新的奖金制度卷土重来。

真能省油?涉嫌夸大宣传



图片


Δ片来源:美澳车动力APP


通过推广人员分享的二维码可注册下载美澳车动力APP,商城中分别有适用于汽油和柴油两种燃油改良剂,售价均为1000元/箱。


图片

图片

图片


据宣传,美澳车动力8.0产品有六大功效,省油,有效节省燃油10%~30%;护车,清除积碳,修复受损发动机,形成纳米保护膜,增加润滑,减少摩擦,延长发动机寿命3~5年;省钱,延长保养周期,发动机免清洗,节省保养和维修费用;助力,提升动力约13%(半个档位);环保,净化尾气,减少碳氮等有害气体排放近80%,保护环境;降噪,使发动机震动减轻,声音变小。

推广人员表示,不加美澳车动力的汽油一般在燃烧室只能燃烧70%~80%,剩余的燃烧不完会从尾气排出来,尾气会有很多积碳,但添加产品后会改变油的品质,燃烧率可达到95%以上,省油10%~30%。还宣传使用了产品后的汽车排气管直接滴水,没有一点积碳,其联合创始人刘兰水也在会议宣传其产品可以改变油品,享受到比使用的燃油高一个标号的动力。那么美澳车动力8.0真的有这么多的功效吗?


图片


首先,美澳车动力是否真能省油?有网友表示,燃油添加剂只是一种清除汽车发动机沉积物的物质,并不能起到真正省油的作用,只能对车辆燃油系统起到日常的保养作用。再优秀的燃油添加剂也只能做到恢复汽车的油耗和动力,并不能超越原厂的油耗和动力,但凡宣传节油效果3%以上的,都是夸大宣传。


其次,为什么会有积碳?简单说,发动机有四个冲程,进气、压缩、做功、排气,在做功时,混合气(空气与燃油)被火花塞点燃,产生的冲击力推动活塞向下运动从而带动曲轴、飞轮输出动力。在这时也会出现一个问题,燃油中的碳氢化合物和胶质是燃烧不完全的,会被烧成胶碳物,这就是我们常说的积碳。换言之,想要没有积碳,只能不开车。对此,上述宣传中使用产品后没有一点积碳显然是不可能的。


图片


最后,美澳车动力能改变油品?有专业的高级汽修师说道,市面上主要的燃油添加剂包括清洁型、养护型和辛烷值调节型。清洁型添加剂主要对发动机清理作功时产生的胶质积碳起到清洁作用,养护型添加剂能够较好地抑制发动机燃油进气系统产生的沉积物,辛烷值调整型添加剂可以理解为动力提升型,通俗一点说就是可以把92号汽油变成95号汽油,但这种产品含有MMT(锰)的金属化合物,燃烧完的金属颗粒会粘黏在火花塞和三元催化上面,久而久之就会降低它们的使用寿命,因此不建议长期使用。综上,美澳车动力8.0的宣传广告明显存在夸大宣传的情况。而美澳车动力的奖金制度又是怎样呢?


美澳车动力拉人头、团队计酬涉嫌违法违规


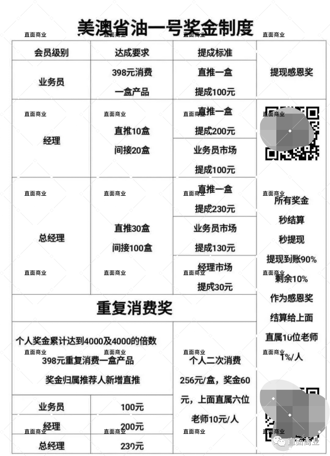
推广人员介绍道,美澳车动力消费就送200人团队,有静态动态双重分红。据了解,美澳车动力的代理分为一星会员、二星会员和三星会员,有级差奖和业绩奖,还推出了县代、市代、省代的福利政策,具体内容如下:


图片来源:美澳代理



一星会员:消费一单1000元可成为一星会员,获得一箱产品(16小瓶),一星会员直推一个一星会员可获得200元推荐奖励。成为一星会员就送200人团队(后加入会员的200名),可以获得200人团队提现的扣除的10%手续费分成(200人平分,循环拿),可以参加一次抽奖,奖品有现金、手机、洗衣机等(每消费一单可参与一次),还可以获得一个月的静态市场分红(大市场每一单60元,所有一星平分)。

二星会员:消费3单1000元或直推10单可升级二星会员,二星会员直推一个一星会员可获得300元奖励,所有直推和间推会员都属于自己团队(不限层级),团队的一星会员推荐了一星会员还可获得100元级差奖励。

三星会员:消费8单1000元或直推30单可升级为三星会员。三星会员直推一个一星会员可获得400元推荐奖励,团队成员推广一个一星会员可获得200元极差奖励,平级推广可获得40/45/50元平级奖励。三星会员可获得市场业绩的动态分红,大市场每单分出60元给所有三星会员,永久享受。

三星会员还可以享受团队业绩奖励和团队极差奖励。团队业绩达到1万,可获得团队每单20元的业绩奖励;团队业绩达到5万,可获得团队每单30元的业绩奖励;团队业绩达到10万,可获得团队每单40元的业绩奖励;团队业绩达30到万,可获得团队每单50元的业绩奖励;团队业绩达到50万,可获得团队每单60元的业绩奖励;团队业绩达到80万,可获得团队每单70元的业绩奖励;团队业绩达到110万,可获得团队每单80元的业绩奖励;团队业绩达到200万,可获得团队每单90元的业绩奖励;团队业绩达到400万,可获得团队每单100元的业绩奖励;400万同级享受20元/单的团队业绩奖励。例如A的团队业绩达到400万,团队业绩每出一单可获得100元奖励,若团队中三星会员B的团队业绩达到10万,则B的团队每出一单,B拿40元,A拿60元,若B的团队业绩同样达到400万,则B的团队每出一单,B拿100元,A拿20元。


图片



福利政策:消费1999县代理礼包可成为县代,同时成为一星会员,可选择一个县为自己的代理区域,流入代理区域的每一单都可以获得10元/盒的提成,流入代理区域的每个县代理包可获得100元提成。新增自销10盒(直推10人)可获得市代理资格,发往所代理城市的每一单都可以获得6元/单的奖励。新增自销30盒(直推30人)可成为省代,发往所代理的省的每一单都可获得10元/单的奖励。

以上就是美澳车动力的奖金制度,成为会员必须消费1000元,升级则需要消费更多或推广人员,想要赚钱就要发展人员来升级和获得团队奖励,所有收益提现都会扣除10%的手续费分给200人团队,且每累计1万元收益就必须进行一次复购


《禁止传销条例》第二条规定:“本条例所称传销,是指组织者或者经营者发展人员,通过对被发展人员以其直接或者间接发展的人员数量或者销售业绩为依据计算和给付报酬,或者要求被发展人员以缴纳一定费用为条件取得加入资格等方式牟取非法利益,扰乱经济秩序,影响社会稳定的行为。”

该条例第七条将上述定义分解为如下三种类型:第一,拉人头,即组织者或者经营者通过发展人员,要求被发展人员发展其他人员加入,对发展的人员以其直接或者间接滚动发展的人员数量为依据计算和给付报酬,牟取非法利益的;第二,入门费,即组织者或者经营者通过发展人员,要求被发展人员交纳费用或者以认购商品等方式变相交纳费用,取得加入或者发展其他人员加入的资格,牟取非法利益的;第三,团队计酬,即组织者或者经营者通过发展人员,要求被发展人员发展其他人员加入,形成上下线关系,并以下线的销售业绩为依据计算和给付上线报酬,牟取非法利益的。

美澳车动力要求加入者消费1000元获得代理资格,变相收取入门费;设置推荐奖励引诱代理们通过推广人员成为代理来获取利益,涉嫌拉人头;通过发展人员形成上下级关系,进而形成团队,设置分红奖励和团队业绩极差奖励,以团队所有成员的销售业绩为依据获得团队分润。美澳车动力这种“入门费”、“拉人头”、“团队计酬”的代理模式或涉嫌违法违规。

“美澳车动力”曾被法院判决涉传,卷土重来制度何解?:http://www.fcxcn.cn/shehuiguanzhu/6907.html
反传销:www.fcxcn.cn 反传销柔儿团队主要负责寻人,上门反洗脑,现场解救劝说。团队长期在北海现场解救1040阳光工程,资本运作传销受害者,以及全国各地协助家属寻找北派传销的孩子(因传销而常年未回家者,被控制人身自由的人群),反传区域涉及:广西,广东,深圳,福建,江西,湖南,香港,浙江.附近有需要求助可与我们联系,孙老师13712257511
0