世博生物创始人陈胜利可比肩袁隆平?以“打通微循环”为卖点的众生源缘起何处

首页 > 社会关注
编辑:广东反传销救助中心 日期:2023-05-26T17:17:54 人气:254

1954年,“微循环”一词在美国微循环学会第一次会议上被正式确定。到现在,有关人体微循环的研究已经走过了六十多年的历程,中国也是国际上最早开展微循环研究的国家之一。有资料指出,大量研究事实证明,人体各大系统疾病都可以在微循环功能障碍方面找到端倪,因此,通过微循环修复技术,可以改善血液流速和血液质量,进而改善血管质量,有益于病症的治愈和功能康复。微循环障碍,也会导致人体各种病变。在这样的理论支撑下,带着如下宣传口号:“身体本无病,只有瘀和堵;打通微循环,只有众生源”……世博生物公司和众生源产品在近几年里逐步走入到不少消费者的视野之内。

世博生物公司在过去这些年间经历了怎样的发展?陈宝香和陈胜利是什么关系?治疗心脏病、风湿腰腿疼、胃病、尿频、白内障、高血压等病症的案例是否真实可信?众生源系列产品具有怎样的功效?有关奖金制度该如何解读?

图片



女承父业,曾遭处罚



孟州世博生物科技有限公司成立于2005年8月23日,法定代表人和股东为陈宝香(孟州世博生物集团董事长,孟州市政协常委),监事为王喜,注册资本两千万元。据官网介绍,孟州世博生物科技有限公司位于驰名中外的“四大怀药”之乡河南省孟州市,总面积3万余平方米,建筑面积1万平方米,拥有博士学历1人,大专以上学历6人,员工36人,是一家专门从事健康食品研究、开发、生产、销售为一体的大型民营企业。


孟州康福堂保健服务有限公司是该公司的子公司,同样隶属于孟州世博生物旗下的子公司还有:孟州市世博生物科技有限公司、焦作市覃怀科技有限公司、孟州市众生源科技有限公司、孟州市宝香酒业销售有限公司、北京世博联创新科技研究院。


2019年4月16日,在一次检查中,孟州世博生物科技有限公司被焦作市卫生健康委员会责令暂停生产。

图片

图片来源:启信宝

2020年4月,据信用孟州显示,该公司因未经批准非法占地,遭到了孟州市自然资源和规划局的处罚:1、责令15日内退还非法占用的34711.98平方米土地;2、没收在非法占用的34711.98平方米土地上新建的建筑物和其他设施;3、对非法占用的34711.98平方米建设用地每平方米处以10元罚款,计347119.80元。(行政处罚决定书文号:孟自然资罚字〔2020〕4号)

图片


2020年11月,该公司又因生产销售标签不符合规定的食品,遭到了孟州市市场监督管理局的行政处罚:1.没收大蜜丸20盒;2.没收违法所得2320元;3.罚款27000元。(行政处罚决定书文号: 孟市监罚字【2020】123号)


经查国家企业信用信息公示系统,我们发现如今的世博生物合肥分公司正处于“吊销,未注销”的经营状态,而且这家公司还处于企业经营异常名录之内;而世博生物沈阳分公司的经营状态则是“已吊销”。


说完了公司,再来看看董事长陈宝香的来历,据了解,陈宝香的父亲是陈胜利,此人也被称之为世博生物企业之父。有资料介绍,陈胜利是著名的共和国心脑血管专家,国际华人发明家,北京国际医药研究院医学博士。1949年10月1日生于河南孟州,九代中医世家,七岁上学,十五岁学医,1976年毕业于河南医科大学。2005年被国家卫生部、国家中医药研究局、北京国际医药研究院联合授予“医学博士”学位,2008年被世界杰出华商协会特聘为“世界杰出华商协会副理事长”,2010年任北京世博联创新科技研究院院长、孟州世博集团研发组组长。此后,陈宝香接过其父陈胜利的传承,创建了孟州世博生物集团。

图片


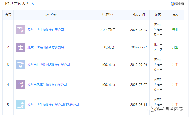
据爱企查显示,世博生物法定代表人陈宝香目前还在另外四家公司担任法定代表人,其中,北京世博联创新科技研究院曾被北京市工商行政管理局海淀分局列入经营异常名录长达两年半之久,后被移除。而至于另外三家公司——孟州市世博联网络科技有限公司、孟州市亿隆生物科技有限公司、孟州世博生物科技有限公司销售分公司在眼下都已处于注销的经营状态。

图片



比肩袁老?保障健康



据介绍,世博生物现已研发、生产出怀药健康饮品、怀药养生酒、怀药保健食品三大系列20多个品种,其中“众生源”牌山药大枣维生素强化固体饮料和葛根山杞固体饮料荣获国家发明专利。

说起世博生物旗下的众生源产品,孟州世博生物集团文宣部常常会将有关产品与“微循环”这三个字紧密联系到一起:“微循环与健康的关系,从上世纪20年代就被丹麦科学家科罗格所发现,他发现了问题的根源,但是却把解决问题的方法留给了后人。在中国,从1990年开始,北京国际医药研究院医学博士陈胜利先生开始了他在人体微循环方面的潜心研究,到了2000年,一款迅速打通人体微循环的生物制剂横空出世了——众生源,三分钟打通微循环。

图片


在公众号“德峰圆”发布的《众生源讲稿》的宣传下,陈胜利甚至和袁隆平处于比肩的地位:“杂交水稻之父:袁隆平解决了人类的吃饭问题;众生源发明人:陈胜利解决了人类的健康问题。”


这篇讲稿也存在明示或者暗示打通微循环、使用众生源产品,是保障人体健康所必需的一个步骤。


而根据有关规定,保健食品广告不得含有表示功效、安全性的断言或者保证,不得涉及疾病预防、治疗功能,不得声称或者暗示广告商品为保障健康所必需等。那么众生源系列产品所具有的是怎样的资质,是普通食品,保健食品,还是药品?



产品资质,普通食品


“山药大枣维生素强化固体饮料”这款产品一直备受世博生物经销商们的推崇。值得一提的是,该产品原包装盒采用的是“众生源”商标,一年前更换的新版包装盒是用的“众身原”商标,“众生源”和“众身原”都是世博生物的商标。在世博生物系列产品中原来只有山药大枣强化固体饮料用了“众生源”这个商标,其他都是用的“众身原”商标,为了商标使用的统一性,如今也把山药大枣强化固体饮料改用“众身原”商标了。

图片


据资料介绍,该产品可以打通人体微循环、快速溶脂排脂、代谢坏死细胞、改善好细胞、通经活络、活血化瘀。

图片


而实际上,据公众号“世博生物”介绍,该产品的生产许可证号为QS410806010094。


为此,我们专门咨询了药品价格315网,该网的专业药师表示:该产品属于普通食品,并非保健食品或药品。

图片


除了山药大枣固体饮料外,众生源旗下另外一些产品的功效也分别遭到了相应的包装,比如葛根三杞固体饮料,就被包装为对气血双虚造成的疑难杂症有明显效果;蒲公英茯苓被包装为对肝炎、肝硬化、肝腹水等疾病有良好的辅助效果;山药黄精被指对尿频、尿急、尿分叉等有明显效果,三至七天见效;对阳痿早泄、性功能障碍有明显效果。

图片

图片


关于上述产品的功效包装,还存在另外一个版本的宣传资料:

图片

图片

图片


其中,关于山药黄精,经销商还给出了更加详细的介绍:“保健食品级别,主要打通人体三腺(肾上腺,前列腺,性腺)激活三经(大脑中枢神经,脊髓神经,性神经),对于尿频尿急,尿不尽,尿等待,尿分叉等中老年问题,迅速改善腰酸腰痛。对于提升男女性功能有立竿见影的效果。”

图片


但事实上,山药黄精和山药大枣的生产许可证号一样,都是QS410806010094。

图片


对于宣传有关产品具有保健或治病功效的行为,药品价格315网的工作人员指出,上述宣传属于虚假宣传,只有药品可以治病,固体饮料和压片糖果一般都是普通食品。

图片


在食品生产方面,孟州世博生物科技有限公司所拥有的也只是食品生产许可证,编号为SC10641088300115。

图片


另外也有资料显示,上文中提到过的山药大枣维生素强化固体饮料所对应的生产许可证号正是SC10641088300115,也就是说,该产品在包装盒上前前后后共有两个生产许可证号,不过无论哪个编号对应的都是普通食品类别。

图片


根据《食品安全国家标准预包装食品标签通则》(GB7718-2011)规定,非保健食品不得明示或者暗示具有保健作用。另外,《食品广告发布暂行规定》第十三条指出,“普通食品、新资源食品、特殊营养食品广告不得宣传保健功能,也不得借助宣传某些成分的作用明示或者暗示其保健作用”。我国《广告法》第十八条也规定,食品宣传不得含有下列内容:表示功效、安全性的断言或者保证;涉及疾病预防、治疗功能;声称或者暗示广告商品为保障健康所必需;与药品、其他保健食品进行比较。

在本篇报道中,我们简单地了解到了世博生物、陈宝香以及关联公司的现状,以及微循环与人体健康之间存在关系的说法从何而来,在下篇报道中,我们将继续关注围绕着众生源系列产品所存在的宣传问题,还有相关奖金制度该如何解读,请继续关注微商电商内参。

世博生物创始人陈胜利可比肩袁隆平?以“打通微循环”为卖点的众生源缘起何处:http://www.fcxcn.cn/shehuiguanzhu/6984.html
反传销:www.fcxcn.cn 反传销柔儿团队主要负责寻人,上门反洗脑,现场解救劝说。团队长期在北海现场解救1040阳光工程,资本运作传销受害者,以及全国各地协助家属寻找北派传销的孩子(因传销而常年未回家者,被控制人身自由的人群),反传区域涉及:广西,广东,深圳,福建,江西,湖南,香港,浙江.附近有需要求助可与我们联系,孙老师13712257511
0